TOP
|
特許
|
意匠
|
商標
特許ウォッチ
Twitter
他の特許を見る
10個以上の画像は省略されています。
公開番号
2025153151
公報種別
公開特許公報(A)
公開日
2025-10-10
出願番号
2024055469
出願日
2024-03-29
発明の名称
画像形成装置
出願人
ブラザー工業株式会社
代理人
弁理士法人ぱてな
主分類
B65H
5/06 20060101AFI20251002BHJP(運搬;包装;貯蔵;薄板状または線条材料の取扱い)
要約
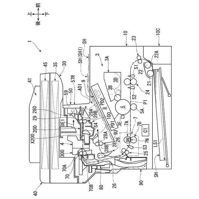
【課題】第1排出経路及び第2排出経路を備える構成において、駆動騒音を低減できる画像形成装置を提供する。
【解決手段】画像形成装置1において、第2排出経路PD2は、画像形成部3を通過したシートSHを後処理部4に案内して排出する。第2搬送ローラ対29は、第2排出経路PD2に沿ってシートSHを搬送する。駆動力伝達機構500は、1つの駆動源M1から第1、第2搬送ローラ対28、29に駆動力を伝達する。駆動力伝達機構500は、切替部500Cを有する。切替部500Cは、第1排出経路PD1からシートSHを排出する第1排出動作を実行するときには、第1搬送ローラ対28に駆動力を伝達する一方、第2搬送ローラ対29への駆動力の伝達を遮断する。切替部500Cは、第2排出経路PD2からシートSHを排出する第2排出動作を実行するときには、少なくとも第2搬送ローラ対29に駆動力を伝達する。
【選択図】図8
特許請求の範囲
【請求項1】
シートに画像を形成する画像形成部と、
前記画像形成部を通過したシートを排出する第1排出経路と、
前記画像形成部を通過したシートを所定の後処理を行う後処理部に案内し、前記後処理部を通過したシートを排出する第2排出経路と、
前記第1排出経路に沿ってシートを搬送する第1搬送ローラ対と、
前記第2排出経路に沿ってシートを搬送する第2搬送ローラ対と、
駆動力を発生する1つの駆動源と、
前記駆動源から前記第1搬送ローラ対及び前記第2搬送ローラ対に前記駆動力を伝達する駆動力伝達機構と、
を備えた画像形成装置であって、
前記駆動力伝達機構は、前記第1排出経路からシートを排出する第1排出動作を実行するときには、前記第1搬送ローラ対に前記駆動力を伝達する一方、前記第2搬送ローラ対への前記駆動力の伝達を遮断する切替部であって、前記第2排出経路からシートを排出する第2排出動作を実行するときには、少なくとも前記第2搬送ローラ対に前記駆動力を伝達する前記切替部を有していることを特徴とする画像形成装置。
続きを表示(約 2,200 文字)
【請求項2】
前記駆動力伝達機構は、前記駆動源から前記第1搬送ローラ対に前記駆動力を伝達する第1駆動列と、
前記第1駆動列の途中から分岐して前記第2搬送ローラ対に前記駆動力を伝達する第2駆動列と、を有し、
前記切替部は、前記第2駆動列に設けられた第1切替部を有し、
前記第1切替部は、前記第1排出動作を実行するときには、前記第2搬送ローラ対への前記駆動力の伝達を遮断し、前記第2排出動作を実行するときには、前記第2搬送ローラ対に前記駆動力を伝達する請求項1記載の画像形成装置。
【請求項3】
前記第2排出経路に沿ってシートを搬送する第3搬送ローラ対であって、前記後処理部に対して前記第2搬送ローラ対とは反対側に位置する前記第3搬送ローラ対を備え、
前記駆動力伝達機構は、前記駆動源から前記第3搬送ローラ対にも前記駆動力を伝達し、
前記切替部は、前記第1排出動作を実行するときには、少なくとも前記第2搬送ローラ対への前記駆動力の伝達を遮断し、前記第2排出動作を実行するときには、少なくとも前記第2搬送ローラ対及び前記第3搬送ローラ対に前記駆動力を伝達する請求項1記載の画像形成装置。
【請求項4】
前記第1排出経路及び前記第2排出経路から排出されるシートを支持する1つの排出トレイを備え、
前記第2搬送ローラ対は、前記後処理部に対して、前記第2排出経路に沿ってシートを搬送する排出方向の下流に位置し、
前記第3搬送ローラ対は、前記後処理部に対して、前記排出方向の上流に位置している請求項3記載の画像形成装置。
【請求項5】
前記駆動力伝達機構は、前記駆動源から前記第1搬送ローラ対に前記駆動力を伝達する第1駆動列と、
前記第1駆動列の途中から分岐して前記第2搬送ローラ対に前記駆動力を伝達する第2駆動列と、
前記第1駆動列の途中から分岐して前記第3搬送ローラ対に前記駆動力を伝達する第3駆動列と、を有し、
前記切替部は、前記第2駆動列に設けられた第1切替部のみを有し、
前記第1切替部は、前記第1排出動作を実行するときには、前記第2搬送ローラ対への前記駆動力の伝達を遮断し、前記第2排出動作を実行するときには、前記第2搬送ローラ対に前記駆動力を伝達する請求項4記載の画像形成装置。
【請求項6】
前記駆動力伝達機構は、前記駆動源から前記第1搬送ローラ対に前記駆動力を伝達する第1駆動列と、
前記第1駆動列の途中から分岐して前記第2搬送ローラ対に前記駆動力を伝達する第2駆動列と、
前記第1駆動列の途中から分岐して前記第3搬送ローラ対に前記駆動力を伝達する第3駆動列と、を有し、
前記切替部は、前記第2駆動列に設けられた第1切替部と、前記第3駆動列に設けられた第2切替部と、を有し、
前記第1切替部は、前記第1排出動作を実行するときには、前記第2搬送ローラ対への前記駆動力の伝達を遮断し、前記第2排出動作を実行するときには、前記第2搬送ローラ対に前記駆動力を伝達し、
前記第2切替部は、前記第1排出動作を実行するときには、前記第3搬送ローラ対への前記駆動力の伝達を遮断し、前記第2排出動作を実行するときには、前記第3搬送ローラ対に前記駆動力を伝達する請求項4記載の画像形成装置。
【請求項7】
前記後処理は、シートを前記排出方向に直交する幅方向に沿って切断する切断処理であり、
前記駆動源は、モータであり、
前記モータの所定回転量当たりの前記第2搬送ローラ対の搬送距離は、前記所定回転量当たりの前記第3搬送ローラ対の搬送距離よりも大きい請求項4乃至6のいずれか1項記載の画像形成装置。
【請求項8】
前記第2搬送ローラ対の駆動ローラの直径は、前記第3搬送ローラ対の駆動ローラの直径よりも大きい請求項7記載の画像形成装置。
【請求項9】
前記モータから前記第3搬送ローラ対の駆動ローラまでの減速比は、前記モータから前記第2搬送ローラ対の駆動ローラまでの減速比よりも大きい請求項7記載の画像形成装置。
【請求項10】
前記画像形成部、前記駆動源及び前記切替部を制御する制御部を備え、
前記第1切替部は、第1軸心周りに回転する第1上流ギヤと、
前記第1上流ギヤから離れた第1下流ギヤと、
自転可能、かつ前記第1軸心周りに公転可能な状態で前記第1上流ギヤに噛み合っており、前記第1上流ギヤの回転方向の切り替えによって、前記第1下流ギヤに噛み合う状態と、前記第1下流ギヤから離れた状態と、に切り替わる第1振り子ギヤと、を有し、
前記制御部は、前記第1排出動作を実行するときに前記駆動源を正回転させることで、前記第1振り子ギヤを前記第1下流ギヤから離れさせて、前記第1切替部について前記第2駆動列を途中で遮断する第1遮断状態とし、
前記制御部は、前記第2排出動作を実行するときに前記駆動源を逆回転させることで、前記第1振り子ギヤを前記第1下流ギヤに噛み合わせて、前記第1切替部について前記第2駆動列を遮断しない第1接続状態とする請求項5記載の画像形成装置。
(【請求項11】以降は省略されています)
発明の詳細な説明
【技術分野】
【0001】
本発明は画像形成装置に関する。
続きを表示(約 1,400 文字)
【背景技術】
【0002】
特許文献1に従来の画像形成装置の一例が開示されている。この画像形成装置は、画像形成部、第1搬送経路、第2搬送経路、第1排出ローラ及び第2排出ローラを備えている。
【0003】
第1搬送経路は、画像形成部を通過したシートを排出する。第2搬送経路は、画像形成部を通過したシートをカッターに案内し、カッターを通過したシートを排出する。
【0004】
第1排出ローラ及び第2排出ローラはそれぞれ、駆動ローラ及び従動ローラを有するローラ対である。第1排出ローラは、第1搬送経路に沿ってシートを搬送する。第2排出ローラは、第2搬送経路に沿ってシートを搬送する。
【0005】
また、この画像形成装置は、その図6に示す搬送モータと、図示しない駆動力伝達機構と、を備えている。搬送モータは1つであり、駆動力を発生する。駆動力伝達機構は、搬送モータから第1排出ローラ及び第2排出ローラに駆動力を伝達する。
【先行技術文献】
【特許文献】
【0006】
特開2024-18327号公報
【発明の概要】
【発明が解決しようとする課題】
【0007】
ところで、画像形成装置には、駆動騒音を低減することが求められている。この点、上記従来の画像形成装置は、第1搬送経路に沿ってシートを搬送する場合と、第2搬送経路に沿ってシートを搬送する場合と、において、1つの搬送モータが第1排出ローラ及び第2排出ローラを常に駆動するため、駆動騒音を低減することが難しい。
【0008】
本発明は、上記従来の実情に鑑みてなされたものであって、第1排出経路及び第2排出経路を備える構成において、駆動騒音を低減できる画像形成装置を提供することを目的とする。
【課題を解決するための手段】
【0009】
本発明の画像形成装置は、シートに画像を形成する画像形成部と、
前記画像形成部を通過したシートを排出する第1排出経路と、
前記画像形成部を通過したシートを所定の後処理を行う後処理部に案内し、前記後処理部を通過したシートを排出する第2排出経路と、
前記第1排出経路に沿ってシートを搬送する第1搬送ローラ対と、
前記第2排出経路に沿ってシートを搬送する第2搬送ローラ対と、
駆動力を発生する1つの駆動源と、
前記駆動源から前記第1搬送ローラ対及び前記第2搬送ローラ対に前記駆動力を伝達する駆動力伝達機構と、
を備えた画像形成装置であって、
前記駆動力伝達機構は、前記第1排出経路からシートを排出する第1排出動作を実行するときには、前記第1搬送ローラ対に前記駆動力を伝達する一方、前記第2搬送ローラ対への前記駆動力の伝達を遮断する切替部であって、前記第2排出経路からシートを排出する第2排出動作を実行するときには、少なくとも前記第2搬送ローラ対に前記駆動力を伝達する前記切替部を有していることを特徴とする。
【0010】
本発明の画像形成装置において、画像形成部を通過したシートをそのまま排出する第1排出動作は、画像形成部を通過したシートに後処理を行ってから排出する第2排出動作と比較して、実施頻度が高い。
(【0011】以降は省略されています)
この特許をJ-PlatPat(特許庁公式サイト)で参照する
関連特許
ブラザー工業株式会社
ミシン
23日前
ブラザー工業株式会社
ホルダ
23日前
ブラザー工業株式会社
ボビン
25日前
ブラザー工業株式会社
ミシン
23日前
ブラザー工業株式会社
固定具
25日前
ブラザー工業株式会社
空調機
24日前
ブラザー工業株式会社
印刷媒体
23日前
ブラザー工業株式会社
印刷装置
25日前
ブラザー工業株式会社
印刷媒体
23日前
ブラザー工業株式会社
印刷媒体
23日前
ブラザー工業株式会社
塗工装置
23日前
ブラザー工業株式会社
塗布装置
23日前
ブラザー工業株式会社
塗工装置
23日前
ブラザー工業株式会社
回収装置
23日前
ブラザー工業株式会社
スキャナ
19日前
ブラザー工業株式会社
スキャナ
19日前
ブラザー工業株式会社
縫製装置
25日前
ブラザー工業株式会社
塗工装置
23日前
ブラザー工業株式会社
結紮装置
24日前
ブラザー工業株式会社
印刷装置
16日前
ブラザー工業株式会社
印刷装置
4日前
ブラザー工業株式会社
制御装置
24日前
ブラザー工業株式会社
結紮装置
24日前
ブラザー工業株式会社
制御装置
24日前
ブラザー工業株式会社
糸巻回装置
25日前
ブラザー工業株式会社
糸巻回装置
25日前
ブラザー工業株式会社
画像読取装置
24日前
ブラザー工業株式会社
画像形成装置
23日前
ブラザー工業株式会社
画像形成装置
24日前
ブラザー工業株式会社
画像形成装置
24日前
ブラザー工業株式会社
画像形成装置
23日前
ブラザー工業株式会社
画像読取装置
24日前
ブラザー工業株式会社
画像形成装置
23日前
ブラザー工業株式会社
画像形成装置
23日前
ブラザー工業株式会社
画像形成装置
23日前
ブラザー工業株式会社
画像形成装置
3日前
続きを見る
他の特許を見る