TOP
|
特許
|
意匠
|
商標
特許ウォッチ
Twitter
他の特許を見る
公開番号
2025153169
公報種別
公開特許公報(A)
公開日
2025-10-10
出願番号
2024055497
出願日
2024-03-29
発明の名称
画像形成装置
出願人
ブラザー工業株式会社
代理人
個人
,
個人
,
個人
主分類
G03G
21/00 20060101AFI20251002BHJP(写真;映画;光波以外の波を使用する類似技術;電子写真;ホログラフイ)
要約
【課題】感光ドラムのフィルミングを抑制できる画像形成装置を提供する。
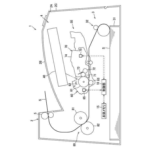
【解決手段】画像形成装置1は、本体筐体2と、ドラムカートリッジ60と、トナー収容部74内のトナーの粒径の情報を記憶する現像メモリ75を有する現像カートリッジ70と、本体メモリ15と、制御部10とを備える。制御部10は、感光ドラム61と現像ローラ71とを接触させた状態で互いに回転させる、印刷動作とは別の回転動作を実行可能である。本体メモリ15は、本体筐体2に装着された現像カートリッジ70の現像メモリ75に記憶されたトナーの粒径の情報を記憶する。制御部10は、新品の現像カートリッジ70が本体筐体2に装着された場合において、本体メモリ15に記憶されたトナーの粒径が第1閾値よりも大きい場合、回転動作を、第1時間、実行し、本体メモリ15に記憶されたトナーの粒径が第1閾値以下の場合、回転動作を、第1時間よりも長い第2時間、実行する。
【選択図】図1
特許請求の範囲
【請求項1】
本体筐体と、
感光ドラムを有し、前記本体筐体に着脱可能なドラムカートリッジと、
現像ローラと、トナーを収容するトナー収容部と、前記トナー収容部に収容されたトナーの粒径の情報を記憶する現像メモリとを有し、前記本体筐体に着脱可能な現像カートリッジと、
前記本体筐体内に位置する本体メモリと、
制御部と、を備え、
前記制御部は、前記感光ドラムと前記現像ローラとを接触させた状態で互いに回転させる回転動作であって、印刷動作とは別の回転動作を実行可能であり、
前記本体メモリは、前記本体筐体に装着された第1の前記現像カートリッジの前記現像メモリに記憶されたトナーの粒径の情報を記憶し、
前記制御部は、第1の前記現像カートリッジとは異なる新品の前記現像カートリッジが前記本体筐体に装着された場合において、
前記本体メモリに記憶されたトナーの粒径が第1閾値よりも大きい場合、前記回転動作を、第1時間、実行し、
前記本体メモリに記憶されたトナーの粒径が前記第1閾値以下の場合、前記回転動作を、前記第1時間よりも長い第2時間、実行することを特徴とする画像形成装置。
続きを表示(約 950 文字)
【請求項2】
前記制御部は、新品の前記現像カートリッジが前記本体筐体に装着された場合において、
前記感光ドラムの回転に伴って増加するパラメータが第2閾値以下である場合は、前記本体メモリに記憶されたトナーの粒径に関わらず、前記回転動作を、前記第1時間よりも短い第3時間、実行することを特徴とする請求項1に記載の画像形成装置。
【請求項3】
前記制御部は、新品の前記現像カートリッジが前記本体筐体に装着された場合において、
前記本体メモリに記憶されたトナーの粒径が前記第1閾値よりも大きく、かつ、前記感光ドラムの回転に伴って増加するパラメータが第2閾値以下である場合は、前記回転動作を、前記第1時間よりも短い第4時間、実行し、
前記本体メモリに記憶されたトナーの粒径が前記第1閾値以下であり、かつ、前記パラメータが前記第2閾値以下である場合は、前記回転動作を、前記第1時間よりも短く、かつ、前記第4時間よりも長い第5時間、実行することを特徴とする請求項1に記載の画像形成装置。
【請求項4】
前記パラメータは、前記ドラムカートリッジを新品に交換してからの累積印刷枚数、または、前記ドラムカートリッジを新品に交換してからの前記感光ドラムの累積回転回数、であることを特徴とする請求項2または請求項3に記載の画像形成装置。
【請求項5】
前記本体メモリは、新品の前記現像カートリッジが前記本体筐体に装着され、かつ、前記回転動作が終了した場合、新品の前記現像カートリッジの前記現像メモリに記憶されたトナーの粒径の情報を記憶することを特徴とする請求項1に記載の画像形成装置。
【請求項6】
前記トナー収容部に収容されたトナーは、粉砕トナーであることを特徴とする請求項1に記載の画像形成装置。
【請求項7】
前記現像メモリは、前記現像カートリッジが新品であるかの新品情報を記憶し、
前記制御部は、前記現像カートリッジが前記本体筐体に装着された場合、前記現像メモリに記憶された新品情報に基づいて、新品の前記現像カートリッジが前記本体筐体に装着されたかを判定することを特徴とする請求項1に記載の画像形成装置。
発明の詳細な説明
【技術分野】
【0001】
本開示は、画像形成装置に関する。
続きを表示(約 1,700 文字)
【背景技術】
【0002】
従来、画像形成装置として、感光ドラムと、感光ドラムにトナーを供給する現像ローラとを備えるものが知られている(例えば、特許文献1)。
【先行技術文献】
【特許文献】
【0003】
特開2014-228116号公報
【発明の概要】
【発明が解決しようとする課題】
【0004】
ところで、感光ドラムについては、繰り返しの使用によって、感光ドラムの表面に残留トナーやトナーの添加剤などのフィルミング物質が付着して固着する現象(いわゆるフィルミング)が発生することがある。フィルミングは、トナーの粒径が小さい場合に発生しやすい。
【0005】
そこで、感光ドラムのフィルミングを抑制できることが望まれる。
【課題を解決するための手段】
【0006】
本願の第1開示の画像形成装置は、本体筐体と、ドラムカートリッジと、現像カートリッジと、本体メモリと、制御部と、を備える。
ドラムカートリッジは、感光ドラムを有し、本体筐体に着脱可能である。
現像カートリッジは、現像ローラと、トナーを収容するトナー収容部と、トナー収容部に収容されたトナーの粒径の情報を記憶する現像メモリとを有し、本体筐体に着脱可能である。
本体メモリは、本体筐体内に位置する。
制御部は、感光ドラムと現像ローラとを接触させた状態で互いに回転させる回転動作であって、印刷動作とは別の回転動作を実行可能である。
本体メモリは、本体筐体に装着された第1の現像カートリッジの現像メモリに記憶されたトナーの粒径の情報を記憶する。
制御部は、第1の現像カートリッジとは異なる新品の現像カートリッジが本体筐体に装着された場合において、本体メモリに記憶されたトナーの粒径が第1閾値よりも大きい場合、回転動作を、第1時間、実行する。
制御部は、新品の現像カートリッジが本体筐体に装着された場合において、本体メモリに記憶されたトナーの粒径が第1閾値以下の場合、回転動作を、第1時間よりも長い第2時間、実行する。
【0007】
第1開示によれば、新品の現像カートリッジが本体筐体に装着され、トナーの粒径が小さい場合に、回転動作を、トナーの粒径が大きい場合よりも長い時間、実行することで、感光ドラムの表面に付着したフィルミング物質を、新品のトナーを担持した現像ローラを感光ドラムに対してこすり合わせることによって除去できる。これにより、感光ドラムの表面に付着したフィルミング物質を効果的に除去できるので、感光ドラムのフィルミングを抑制できる。
【0008】
本願の第2開示は、第1開示の画像形成装置であって、制御部は、新品の現像カートリッジが本体筐体に装着された場合において、感光ドラムの回転に伴って増加するパラメータが第2閾値以下である場合は、本体メモリに記憶されたトナーの粒径に関わらず、回転動作を、第1時間よりも短い第3時間、実行してもよい。
【0009】
第2開示によれば、パラメータが小さい場合に、回転動作を実行する時間を短くすることで、感光ドラムの表面に付着したフィルミング物質が少ない場合は、回転動作を短くできる。これにより、感光ドラムの表面の摩耗を抑制できる。
【0010】
本願の第3開示は、第1開示の画像形成装置であって、制御部は、新品の現像カートリッジが本体筐体に装着された場合において、本体メモリに記憶されたトナーの粒径が第1閾値よりも大きく、かつ、感光ドラムの回転に伴って増加するパラメータが第2閾値以下である場合は、回転動作を、第1時間よりも短い第4時間、実行してもよい。
また、制御部は、新品の現像カートリッジが本体筐体に装着された場合において、本体メモリに記憶されたトナーの粒径が第1閾値以下であり、かつ、パラメータが第2閾値以下である場合は、回転動作を、第1時間よりも短く、かつ、第4時間よりも長い第5時間、実行してもよい。
(【0011】以降は省略されています)
この特許をJ-PlatPat(特許庁公式サイト)で参照する
関連特許
ブラザー工業株式会社
ミシン
29日前
ブラザー工業株式会社
ミシン
29日前
ブラザー工業株式会社
ホルダ
29日前
ブラザー工業株式会社
スキャナ
25日前
ブラザー工業株式会社
スキャナ
25日前
ブラザー工業株式会社
塗工装置
29日前
ブラザー工業株式会社
結紮装置
1か月前
ブラザー工業株式会社
結紮装置
1か月前
ブラザー工業株式会社
塗工装置
29日前
ブラザー工業株式会社
塗布装置
29日前
ブラザー工業株式会社
印刷装置
22日前
ブラザー工業株式会社
塗工装置
29日前
ブラザー工業株式会社
回収装置
29日前
ブラザー工業株式会社
印刷装置
10日前
ブラザー工業株式会社
印刷媒体
29日前
ブラザー工業株式会社
印刷媒体
29日前
ブラザー工業株式会社
印刷媒体
29日前
ブラザー工業株式会社
電子機器
4日前
ブラザー工業株式会社
画像形成装置
29日前
ブラザー工業株式会社
静電塗工装置
29日前
ブラザー工業株式会社
静電塗工装置
29日前
ブラザー工業株式会社
画像形成装置
29日前
ブラザー工業株式会社
画像形成装置
29日前
ブラザー工業株式会社
画像形成装置
29日前
ブラザー工業株式会社
画像形成装置
29日前
ブラザー工業株式会社
画像形成装置
29日前
ブラザー工業株式会社
画像形成装置
1日前
ブラザー工業株式会社
画像形成装置
29日前
ブラザー工業株式会社
画像形成装置
29日前
ブラザー工業株式会社
分別回収装置
29日前
ブラザー工業株式会社
画像形成装置
25日前
ブラザー工業株式会社
画像読取装置
1か月前
ブラザー工業株式会社
画像形成装置
29日前
ブラザー工業株式会社
画像形成装置
25日前
ブラザー工業株式会社
画像形成装置
1か月前
ブラザー工業株式会社
画像形成装置
1か月前
続きを見る
他の特許を見る