TOP
|
特許
|
意匠
|
商標
特許ウォッチ
Twitter
他の特許を見る
10個以上の画像は省略されています。
公開番号
2025152257
公報種別
公開特許公報(A)
公開日
2025-10-09
出願番号
2024054075
出願日
2024-03-28
発明の名称
画像形成装置
出願人
ブラザー工業株式会社
代理人
個人
,
個人
主分類
G03G
21/00 20060101AFI20251002BHJP(写真;映画;光波以外の波を使用する類似技術;電子写真;ホログラフイ)
要約
【課題】印刷指令を受けた後の印刷開始時において移動ギヤによる異音を抑える。
【解決手段】画像形成装置は、第1ギヤと、移動ギヤを備える。移動ギヤは、第1ギヤと噛み合う伝達位置と、第1ギヤから離れる非伝達位置に移動可能である。制御部は、第1処理(t3~t6)と、第2処理(t38~t41)と、接続処理(t45~t46)と、を実行可能である。第1処理は、モータ(M1)を正回転させ、かつ、切替機構(EC3)を伝達状態にすることで、ニップ圧を第1ニップ圧にする処理である。第2処理は、モータを逆回転させ、かつ、切替機構を伝達状態にすることで、ニップ圧を第2ニップ圧にする処理である。接続処理は、切替機構が切断状態である際にモータを正回転させて、移動ギヤを非伝達位置から伝達位置に移動させる処理である。制御部は、第2処理を実行した後に接続処理を行うことで、移動ギヤを第1ギヤに噛み合わせた状態で、印刷指令を待つ。
【選択図】図18
特許請求の範囲
【請求項1】
正逆回転可能なモータと、
シートに画像を形成する画像形成部と、
加熱回転体と加圧回転体との間でシートを挟んでシートに画像を定着させる定着器と、
前記加熱回転体と前記加圧回転体との間のニップ圧を第1ニップ圧にする第1位置と、前記ニップ圧を、前記第1ニップ圧より小さい第2ニップ圧にする第2位置との間で移動可能な第1カムであって、前記モータの正回転により前記第1位置に移動し、前記モータの逆回転により前記第2位置に移動する第1カムと、
前記モータの駆動力を前記加熱回転体または前記加圧回転体に伝達する第1駆動列であって、
第1ギヤと、
前記第1ギヤと噛み合うことで前記第1ギヤに駆動力を伝達する伝達位置と、前記第1ギヤから離れることで前記第1ギヤに駆動力を伝達しない非伝達位置との間で移動可能な移動ギヤであって、前記モータの正回転により前記伝達位置に向けて移動し、前記モータの逆回転により前記非伝達位置に向けて移動する移動ギヤと、を備える第1駆動列と、
前記モータの駆動力を前記第1カムに伝達する第2駆動列であって、
前記第1カムに駆動力を伝達する伝達状態と、前記第1カムに駆動力を伝達しない切断状態とに切替可能な切替機構を備える第2駆動列と、
制御部と、
を備え、
前記制御部は、
前記モータを正回転させ、かつ、前記切替機構を前記伝達状態にすることで、前記ニップ圧を前記第1ニップ圧にする第1処理と、
前記モータを逆回転させ、かつ、前記切替機構を前記伝達状態にすることで、前記ニップ圧を前記第2ニップ圧にする第2処理と、
前記切替機構が前記切断状態である際に前記モータを正回転させて、前記移動ギヤを前記非伝達位置から前記伝達位置に移動させる接続処理と、を実行可能であり、
前記第2処理を実行した後に前記接続処理を行うことで、前記移動ギヤを前記第1ギヤに噛み合わせた状態で、印刷指令を待つことを特徴とする画像形成装置。
続きを表示(約 1,100 文字)
【請求項2】
前記制御部は、
シートに画像を形成する印字処理を実行する場合、前記モータを第1速度で正回転させ、
前記接続処理を実行する場合、前記モータを、前記第1速度より小さい第2速度で正回転させることを特徴とする請求項1に記載の画像形成装置。
【請求項3】
前記接続処理での前記モータの駆動時間は、前記第2処理での前記モータの駆動時間より短いことを特徴とする請求項1に記載の画像形成装置。
【請求項4】
前記制御部は、前記接続処理の後、前記モータを停止させることを特徴とする請求項1に記載の画像形成装置。
【請求項5】
前記切替機構は、電磁クラッチであることを特徴とする請求項1に記載の画像形成装置。
【請求項6】
前記第1カムが前記第1位置または前記第2位置に位置することを検知するセンサを備えることを特徴とする請求項1に記載の画像形成装置。
【請求項7】
前記第1駆動列は、前記加熱回転体に駆動力を伝達し、
前記加圧回転体は、前記加熱回転体に従動して回転することを特徴とする請求項1に記載の画像形成装置。
【請求項8】
感光ドラムと、
前記感光ドラムの表面をクリーニングするクリーニング部材と、
前記感光ドラムを駆動するプロセスモータと、をさらに備え、
前記制御部は、
前記プロセスモータを駆動して前記感光ドラムをクリーニングするクリーニング処理を実行可能であり、
前記第2処理の後に、前記クリーニング処理を実行し、
前記クリーニング処理の後に、前記接続処理を実行することを特徴とする請求項1に記載の画像形成装置。
【請求項9】
前記感光ドラムと接触する接触位置と、前記感光ドラムから離れた離間位置との間で移動可能な現像ローラと、
前記現像ローラを前記接触位置と前記離間位置との間で移動させる第2カムと、
前記モータの駆動力を前記第2カムに伝達する第3駆動列であって、第2電磁クラッチを備える第3駆動列と、をさらに備え、
前記制御部は、
前記モータを正回転させ、かつ、前記第2電磁クラッチを接続させることで、前記現像ローラを前記接触位置に移動させる圧接処理と、
前記モータを逆回転させ、かつ、前記第2電磁クラッチを接続させることで、前記現像ローラを前記離間位置に移動させる離間処理と、を実行可能であることを特徴とする請求項8に記載の画像形成装置。
【請求項10】
前記制御部は、前記離間処理の後、前記第2処理を実行することを特徴とする請求項9に記載の画像形成装置。
(【請求項11】以降は省略されています)
発明の詳細な説明
【技術分野】
【0001】
本開示は、画像形成装置に関する。
続きを表示(約 1,900 文字)
【背景技術】
【0002】
従来、画像形成装置として、シートを給紙する給紙装置と、給紙装置に駆動力を伝達する伝達機構とを備えるものが知られている(特許文献1参照)。伝達機構は、モータによって正逆回転可能な駆動ギヤと、駆動ギヤの回転に伴って第1位置と第2位置との間で移動可能な移動ギヤと、第1位置に位置する移動ギヤと噛み合い、かつ、第2位置に位置する移動ギヤから離れる従動ギヤとを備えている。
【先行技術文献】
【特許文献】
【0003】
特開2020-143702号公報
【発明の概要】
【発明が解決しようとする課題】
【0004】
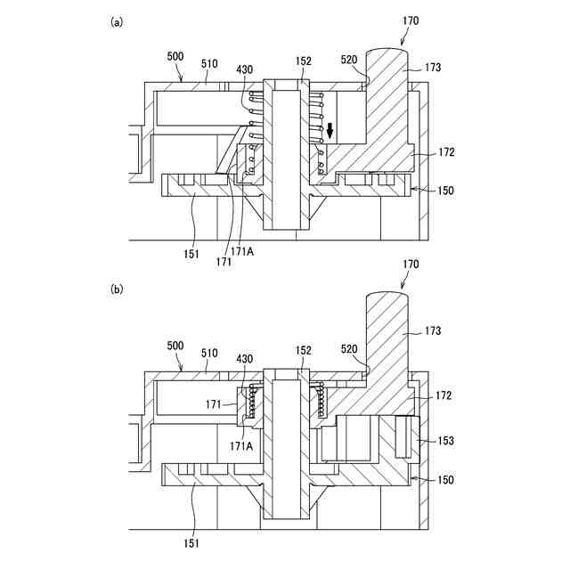
従来技術において、例えば、印刷開始時に移動ギヤを第2位置から第1位置に移動させて従動ギヤに噛み合わせる場合には、移動ギヤが第2位置から第1位置に移動して従動ギヤに噛み合うまでに時間がかかる、移動ギヤが従動ギヤに接続するときの異音が目立つ等のおそれがある。
【0005】
そこで、本開示は、印刷指令を受けた後の印刷開始時において移動ギヤによる異音を抑えることを目的とする。
【課題を解決するための手段】
【0006】
前記課題を解決するため、本開示の画像形成装置は、モータと、画像形成部と、定着器と、第1カムと、第1駆動列と、第2駆動列と、制御部と、を備える。
モータは、正逆回転可能である。
画像形成部は、シートに画像を形成する。
定着器は、加熱回転体と加圧回転体との間でシートを挟んでシートに画像を定着させる。
第1カムは、第1位置と第2位置との間で移動可能である。
第1位置は、加熱回転体と加圧回転体との間のニップ圧を第1ニップ圧にする位置である。第2位置は、ニップ圧を、第1ニップ圧より小さい第2ニップ圧にする位置である。
第1カムは、モータの正回転により第1位置に移動する。第1カムは、モータの逆回転により第2位置に移動する。
第1駆動列は、モータの駆動力を加熱回転体または加圧回転体に伝達する。第1駆動列は、第1ギヤと、移動ギヤと、を備える。
移動ギヤは、伝達位置と非伝達位置との間で移動可能である。
伝達位置は、移動ギヤが第1ギヤと噛み合うことで第1ギヤに駆動力を伝達する位置である。非伝達位置は、移動ギヤが第1ギヤから離れることで第1ギヤに駆動力を伝達しない位置である。
移動ギヤは、モータの正回転により伝達位置に向けて移動する。移動ギヤは、モータの逆回転により非伝達位置に向けて移動する。
第2駆動列は、モータの駆動力を第1カムに伝達する。第2駆動列は、切替機構を備える。
切替機構は、第1カムに駆動力を伝達する伝達状態と、第1カムに駆動力を伝達しない切断状態とに切替可能である。
制御部は、第1処理と、第2処理と、接続処理と、を実行可能である。
第1処理は、モータを正回転させ、かつ、切替機構を伝達状態にすることで、ニップ圧を第1ニップ圧にする処理である。
第2処理は、モータを逆回転させ、かつ、切替機構を伝達状態にすることで、ニップ圧を第2ニップ圧にする処理である。
接続処理は、切替機構が切断状態である際にモータを正回転させて、移動ギヤを非伝達位置から伝達位置に移動させる処理である。
制御部は、第2処理を実行した後に接続処理を行うことで、移動ギヤを第1ギヤに噛み合わせた状態で、印刷指令を待つ。
【0007】
制御部が、第2処理を実行した後に接続処理を行うことで、移動ギヤを第1ギヤに噛み合わせた状態で、印刷指令を待つ構成とすることで、印刷指令を受けた後の印刷開始時に、移動ギヤと第1ギヤとの当接による異音が発生するのを抑えることができる。
【0008】
また、制御部は、シートに画像を形成する印字処理を実行する場合、モータを第1速度で正回転させ、接続処理を実行する場合、モータを、第1速度より小さい第2速度で正回転させてもよい。
【0009】
接続処理を実行する場合に、モータを、第1速度より小さい第2速度で正回転させることで、移動ギヤと第1ギヤとの当接による異音を小さくすることができる。
【0010】
また、接続処理でのモータの駆動時間は、第2処理でのモータの駆動時間より短くてもよい。
(【0011】以降は省略されています)
この特許をJ-PlatPat(特許庁公式サイト)で参照する
関連特許
ブラザー工業株式会社
印刷装置
8日前
ブラザー工業株式会社
画像形成装置
3日前
ブラザー工業株式会社
液体吐出装置
10日前
ブラザー工業株式会社
液体吐出装置
1日前
ブラザー工業株式会社
液体吐出装置
1日前
ブラザー工業株式会社
液体吐出装置
8日前
ブラザー工業株式会社
液滴吐出ヘッド
10日前
ブラザー工業株式会社
液体吐出ヘッド
8日前
ブラザー工業株式会社
情報処理プログラム
8日前
ブラザー工業株式会社
印刷カセット収納体
2日前
ブラザー工業株式会社
工具搬送装置及び工作機械
1日前
ブラザー工業株式会社
タンクおよび液体吐出装置
8日前
ブラザー工業株式会社
プログラムおよび情報処理装置
8日前
ブラザー工業株式会社
ラベルプリンタおよびプログラム
1日前
ブラザー工業株式会社
画像処理装置及び認証処理プログラム
3日前
ブラザー工業株式会社
プログラム、および、データ処理装置
8日前
ブラザー工業株式会社
サポートプログラムおよび印刷システム
8日前
ブラザー工業株式会社
液滴吐出装置、その制御方法及びプログラム
2日前
ブラザー工業株式会社
コンピュータプログラム、および、データ処理装置
8日前
ブラザー工業株式会社
液体吐出装置用ヘッド及びこれを備える液体吐出装置
8日前
ブラザー工業株式会社
画像形成装置
16日前
ブラザー工業株式会社
画像処理装置
1日前
ブラザー工業株式会社
情報処理装置
1日前
ブラザー工業株式会社
サポートプログラム
1日前
ブラザー工業株式会社
サポートプログラム
8日前
ブラザー工業株式会社
サポートプログラムおよび印刷システム
1日前
ブラザー工業株式会社
端末装置のためのコンピュータプログラム、端末装置、及び、端末装置を制御するための方法
8日前
ブラザー工業株式会社
端末装置のためのコンピュータプログラム、端末装置、及び、端末装置を制御するための方法
8日前
個人
表示装置
1か月前
個人
雨用レンズカバー
1か月前
株式会社シグマ
絞りユニット
2か月前
日本精機株式会社
プロジェクタ
1日前
キヤノン株式会社
撮像装置
2か月前
日本精機株式会社
車両用投射装置
1か月前
キヤノン株式会社
撮像装置
1か月前
キヤノン株式会社
撮像装置
1か月前
続きを見る
他の特許を見る