TOP
|
特許
|
意匠
|
商標
特許ウォッチ
Twitter
他の特許を見る
10個以上の画像は省略されています。
公開番号
2025178345
公報種別
公開特許公報(A)
公開日
2025-12-05
出願番号
2025154325,2024110991
出願日
2025-09-17,2018-09-28
発明の名称
画像処理装置
出願人
ブラザー工業株式会社
代理人
名古屋国際弁理士法人
主分類
H04N
1/00 20060101AFI20251128BHJP(電気通信技術)
要約
【課題】タブ形式の画面が表示される表示制御装置において、一般モードでの動作の開始後に最初に選択状態にさせるタブの初期値を決定できるように構成されている場合において、その初期値に決定されたタブの属性が、個人モード時に表示される属性に変化されても、一般モードでの動作開始後に適切な画面表示が行われるようにする。
【解決手段】一般モード時は、共有属性タブ41~43を含む一方でパーソナル属性タブは含まないホーム画面40を表示させる。また、一般モードに設定されたときに選択状態にするメインタブを予め設定可能であり、一般モードに設定された場合はそのメインタブを選択状態とする。ただし、メインタブの属性がパーソナルに設定されている場合は、そのメインタブをホーム画面40に含めず、そのメインタブとは異なる共有属性タブを選択状態とする。
【選択図】図2
特許請求の範囲
【請求項1】
表示部と、
入力部と、
制御部と、
を備えた表示制御装置であって、
前記制御部は、前記表示部に少なくとも1つの表示対象タブを含む待機画面を表示させる表示処理を実行し、
前記少なくとも1つの表示対象タブは、複数のタブのうちの少なくとも1つであり、
前記待機画面は、前記少なくとも1つの表示対象タブのうちの1つが選択状態に設定され、
前記複数のタブの各々は、機能が対応付けられた画像である機能オブジェクトが登録され得るように構成され、
前記複数のタブの各々は、共有及びパーソナルのうちのいずれかの属性に設定され、
前記複数のタブの各々は、特定の登録ユーザが登録され得るように構成され、
前記制御部は、さらに、
前記複数のタブのうちいずれか1つをメインタブに設定するメインタブ設定処理と、
当該表示制御装置のユーザモードを一般モード及び個人モードのうちの1つに設定するユーザモード設定処理であって、前記個人モードに対応したユーザ認証情報が前記入力部を介して入力されることに応じて前記ユーザモードを前記個人モードに設定する前記ユーザモード設定処理と、
を実行し、
前記表示処理は、
前記ユーザモードが前記一般モードに設定されることに応じて前記待機画面を前記表示部に表示させる第1表示処理であって、前記少なくとも1つの表示対象タブは、前記属性が共有に設定されている前記タブである共有属性タブを含む一方で前記属性がパーソナルに設定されている前記タブであるパーソナル属性タブは含まず、前記メインタブの前記属性が共有に設定されている場合はそのメインタブを前記選択状態とし、前記メインタブの前記属性がパーソナルに設定されている場合は、そのメインタブは含まず、そのメインタブとは異なる前記共有属性タブを前記選択状態とする、前記第1表示処理と、
前記ユーザモードが前記個人モードに設定されることに応じて前記待機画面を前記表示部に表示させる第2表示処理であって、前記少なくとも1つの表示対象タブは、設定されている前記個人モードに対応した前記登録ユーザが登録されている前記パーソナル属性タブを含む一方で、設定されている前記個人モードに対応した前記登録ユーザが登録されていない前記パーソナル属性タブは含まない、前記第2表示処理と、
を備える、表示制御装置。
続きを表示(約 3,700 文字)
【請求項2】
請求項1に記載の表示制御装置であって、
前記第1表示処理は、前記メインタブの前記属性がパーソナルに設定されている場合、そのメインタブとは異なり且つ前記機能オブジェクトが登録されている前記共有属性タブを前記選択状態とする、
表示制御装置。
【請求項3】
請求項1又は請求項2に記載の表示制御装置であって、
前記メインタブ設定処理は、
前記複数のタブのうち前記属性が共有に設定されているタブを選択肢として含み、前記属性がパーソナルに設定されているタブを選択肢として含まない、メインタブ選択画面を前記表示部に表示させるメインタブ選択画面表示処理、
を含み、
前記メインタブ設定処理は、前記メインタブ選択画面において前記選択肢として表示さ
れたタブのうち前記入力部を介して選択されたいずれか1つを前記メインタブに設定する、
表示制御装置。
【請求項4】
請求項1~請求項3のいずれか1項に記載の表示制御装置であって、
前記制御部は、さらに、
前記複数のタブ毎の、前記入力部を介して前記属性を選択させるための選択用画像を含む属性設定画面を前記表示部に表示させる属性設定画面表示処理であって、前記メインタブに対応した前記選択用画像に特定のマークを付加するように構成された前記属性設定画面表示処理と、
前記複数のタブの前記属性を、共有及びパーソナルのうち前記属性設定画面において前記入力部を介して選択されたいずれかに設定する属性設定処理と、
を実行する、表示制御装置。
【請求項5】
請求項1~請求項4のいずれか1項に記載の表示制御装置であって、
前記制御部は、さらに、
前記表示処理により表示される前記待機画面を特定の初期状態に設定するための初期化指示操作を前記入力部を介して受け付ける初期化受付処理と、
前記初期化受付処理により前記初期化指示操作が受け付けられた場合、予め設定されている初期設定タブの前記属性を判断する属性判断処理と、
を実行し、
前記メインタブ設定処理は、前記属性判断処理により前記初期設定タブの前記属性が共有と判断されることに応じて、前記初期設定タブを前記メインタブに設定し、前記属性判断処理により前記初期設定タブの前記属性がパーソナルと判断されることに応じて、前記初期設定タブを前記メインタブとは異なる前記共有属性タブに設定する、
表示制御装置。
【請求項6】
請求項1~請求項5のいずれか1項に記載の表示制御装置であって、
さらに、個人モード情報が記憶された第1の記憶部であって、前記個人モード情報は、前記個人モード時に前記第2表示処理により表示される前記待機画面において、その個人モードに対応した前記登録ユーザが登録されている前記パーソナル属性タブ、及び前記メインタブ、のうちどちらを前記選択状態とするかを示す情報である、前記第1の記憶部を備え、
前記第2表示処理は、設定されている前記個人モードに対応した前記登録ユーザが登録されている前記パーソナル属性タブ、及び前記メインタブ、のうち、前記第1の記憶部に記憶されている前記個人モード情報が示すいずれか一方を前記選択状態とする前記待機画面を前記表示部に表示させる、
表示制御装置。
【請求項7】
請求項1~請求項6のいずれか1項に記載の表示制御装置であって、
さらに、前記登録ユーザ毎の、前記第2表示処理において前記選択状態にさせるべきタブである選択指定タブを示す選択指定情報が記憶された第2の記憶部を備え、
前記第2表示処理は、前記第2の記憶部に記憶されている前記選択指定情報に基づき、設定されている前記個人モードに対応した前記登録ユーザの前記選択指定タブを選択状態とする前記待機画面を前記表示部に表示させる、
表示制御装置。
【請求項8】
表示制御方法であって、
少なくとも1つの表示対象タブを含む待機画面を表示部に表示させる表示ステップを有し、
前記少なくとも1つの表示対象タブは、複数のタブのうちの少なくとも1つであり、
前記待機画面は、前記少なくとも1つの表示対象タブのうちの1つが選択状態に設定され、
前記複数のタブの各々は、機能が対応付けられた画像である機能オブジェクトが登録され得るように構成され、
前記複数のタブの各々は、共有及びパーソナルのうちのいずれかの属性に設定され、
前記複数のタブの各々は、特定の登録ユーザが登録され得るように構成され、
前記表示制御方法は、さらに、
前記複数のタブのうちいずれか1つをメインタブに設定するメインタブ設定ステップと、
ユーザモードを一般モード及び個人モードのうちの1つに設定するユーザモード設定ステップであって、前記個人モードに対応したユーザ認証情報が入力されることに応じて前記ユーザモードを前記個人モードに設定する前記ユーザモード設定ステップと、
を実行し、
前記表示ステップは、
前記ユーザモードが前記一般モードに設定されることに応じて前記待機画面を前記表示部に表示させる第1の表示ステップであって、前記少なくとも1つの表示対象タブは、前記属性が共有に設定されている前記タブである共有属性タブを含む一方で前記属性がパーソナルに設定されている前記タブであるパーソナル属性タブは含まず、前記メインタブの前記属性が共有に設定されている場合はそのメインタブを前記選択状態とし、前記メインタブの前記属性がパーソナルに設定されている場合はそのメインタブとは異なる前記共有属性タブを前記選択状態とする、前記第1の表示ステップと、
前記ユーザモードが前記個人モードに設定されることに応じて前記待機画面を前記表示部に表示させる第2の表示ステップであって、前記少なくとも1つの表示対象タブは、設定されている前記個人モードに対応した前記登録ユーザが登録されている前記パーソナル属性タブを含む一方で、設定されている前記個人モードに対応した前記登録ユーザが登録されていない前記パーソナル属性タブは含まない、前記第2の表示ステップと、
を有する、表示制御方法。
【請求項9】
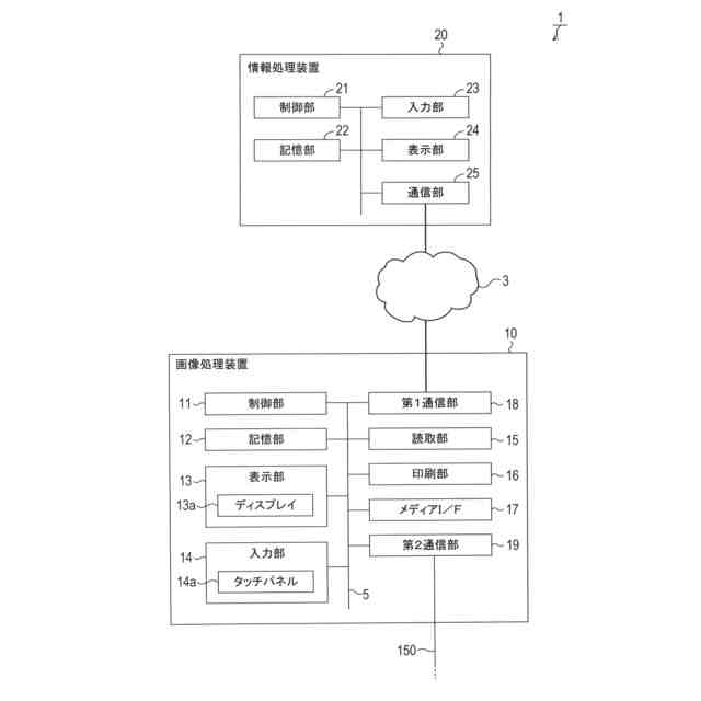
表示部と、
入力部と、
制御部と、
を備えた表示制御装置における前記制御部が実行可能なプログラムであって、
前記制御部に、前記表示部に少なくとも1つの表示対象タブを含む待機画面を表示させる表示処理を実行させ、
前記少なくとも1つの表示対象タブは、複数のタブのうちの少なくとも1つであり、
前記待機画面は、前記少なくとも1つの表示対象タブのうちの1つが選択状態に設定され、
前記複数のタブの各々は、機能が対応付けられた画像である機能オブジェクトが登録され得るように構成され、
前記複数のタブの各々は、共有及びパーソナルのうちのいずれかの属性に設定され、
前記複数のタブの各々は、特定の登録ユーザが登録され得るように構成され、
前記プログラムは、さらに、前記制御部に、
前記複数のタブのうちいずれか1つをメインタブに設定するメインタブ設定処理と、
当該表示制御装置のユーザモードを一般モード及び個人モードのうちの1つに設定するユーザモード設定処理であって、前記個人モードに対応したユーザ認証情報が前記入力部を介して入力されることに応じて前記ユーザモードを前記個人モードに設定する前記ユーザモード設定処理と、
を実行させ、
前記表示処理は、
前記ユーザモードが前記一般モードに設定されることに応じて前記待機画面を前記表示部に表示させる第1表示処理であって、前記少なくとも1つの表示対象タブは、前記属性が共有に設定されている前記タブである共有属性タブを含む一方で前記属性がパーソナルに設定されている前記タブであるパーソナル属性タブは含まず、前記メインタブの前記属性が共有に設定されている場合はそのメインタブを前記選択状態とし、前記メインタブの前記属性がパーソナルに設定されている場合はそのメインタブとは異なる前記共有属性タブを前記選択状態とする、前記第1表示処理と、
前記ユーザモードが前記個人モードに設定されることに応じて前記待機画面を前記表示部に表示させる第2表示処理であって、前記少なくとも1つの表示対象タブは、設定されている前記個人モードに対応した前記登録ユーザが登録されている前記パーソナル属性タブを含む一方で、設定されている前記個人モードに対応した前記登録ユーザが登録されていない前記パーソナル属性タブは含まない、前記第2表示処理と、
を備える、プログラム。
発明の詳細な説明
【技術分野】
【0001】
本発明は、表示部に表示される画面の内容を制御する技術に関する。
続きを表示(約 1,700 文字)
【背景技術】
【0002】
特許文献1には、タブ形式のショートカット一覧画面が表示される複合機が開示されている。タブ形式のショートカット一覧画面においては、表示されているタブのうちいずれか1つのタブが選択状態にされ、その選択状態のタブに対応付けられたショートカット機能の選択肢を含む画面が表示される。
【0003】
特許文献1に記載の複合機では、登録ユーザがログインしていない一般モード時は、ショートカット一覧画面には、全てのユーザが利用可能な共有タブが表示される。一方、いずれかの登録ユーザがログインした個人モード時は、ショートカット一覧画面には、共有タブは表示されず、ログインした登録ユーザに登録された個人用タブのみ表示される。
【先行技術文献】
【特許文献】
【0004】
特開2016-71680号公報
【発明の概要】
【発明が解決しようとする課題】
【0005】
特許文献1に記載の複合機においては、例えば、起動時或いは一般モード移行時などの一般モードでの動作の開始後に最初に選択状態にさせるタブの初期値であるメインタブを、いずれかの共有タブに予め決定しておく使用形態が考えられる。
【0006】
しかし、このような使用形態においては、次のような問題が生じ得る。即ち、タブ毎にその属性を共有タブ又は個人用タブに設定変更できるように構成した場合、メインタブの属性が共有タブから個人用タブに変更され得る。メインタブの属性が個人用タブに変更されると、複合機は、一般モード時での動作の開始後に選択状態にすべきタブを特定することが困難となる。
【0007】
本発明は上記課題に鑑みなされたものであり、タブ形式の画面が表示される表示制御装置において、一般モードでの動作の開始後に最初に選択状態にさせるタブの初期値を決定できるように構成されている場合において、その初期値に決定されたタブの属性が、個人モード時に表示される属性に変化されても、一般モードでの動作開始後に適切な画面表示が行われるようにすることを目的とする。
【課題を解決するための手段】
【0008】
本発明の表示制御装置は、表示部と、入力部と、制御部と、を備える。制御部は、表示部に少なくとも1つの表示対象タブを含む待機画面を表示させる表示処理を実行する。
前記少なくとも1つの表示対象タブは、複数のタブのうちの少なくとも1つである。待機画面は、前記少なくとも1つの表示対象タブのうちの1つが選択状態に設定される。複数のタブの各々は、機能が対応付けられた画像である機能オブジェクトが登録され得る。複数のタブの各々は、共有及びパーソナルのうちのいずれかの属性に設定される。複数のタブの各々は、特定の登録ユーザが登録され得る。
【0009】
制御部は、さらに、メインタブ設定処理と、ユーザモード設定処理とを実行する。メインタブ設定処理は、複数のタブのうちいずれか1つをメインタブに設定する。ユーザモー
ド設定処理は、当該表示制御装置のユーザモードを一般モード及び個人モードのうちの1つに設定する。ユーザモード設定処理は、個人モードに対応したユーザ認証情報が入力部を介して入力されることに応じて、ユーザモードを個人モードに設定する。
【0010】
表示処理は、第1表示処理と、第2表示処理とを備える。
第1表示処理は、ユーザモードが一般モードに設定されることに応じて待機画面を表示部に表示させる。この場合における前記少なくとも1つの表示対象タブは、属性が共有に設定されているタブである共有属性タブを含む一方で、属性がパーソナルに設定されているタブであるパーソナル属性タブは含まない。さらに、メインタブの属性が共有に設定されている場合はそのメインタブを選択状態とし、メインタブの属性がパーソナルに設定されている場合は、そのメインタブは含まず、そのメインタブとは異なる共有属性タブを選択状態とする。
(【0011】以降は省略されています)
この特許をJ-PlatPat(特許庁公式サイト)で参照する
関連特許
ブラザー工業株式会社
印刷装置
8日前
ブラザー工業株式会社
電子機器
1か月前
ブラザー工業株式会社
水塗布装置
24日前
ブラザー工業株式会社
水塗布装置
24日前
ブラザー工業株式会社
水塗布装置
24日前
ブラザー工業株式会社
水塗布装置
24日前
ブラザー工業株式会社
液体吐出装置
10日前
ブラザー工業株式会社
液体吐出装置
8日前
ブラザー工業株式会社
液体吐出装置
17日前
ブラザー工業株式会社
画像形成装置
29日前
ブラザー工業株式会社
画像形成装置
3日前
ブラザー工業株式会社
画像形成装置
1か月前
ブラザー工業株式会社
画像形成装置
1か月前
ブラザー工業株式会社
液体吐出装置
1日前
ブラザー工業株式会社
画像形成装置
1か月前
ブラザー工業株式会社
液体吐出装置
1日前
ブラザー工業株式会社
画像形成装置
1か月前
ブラザー工業株式会社
シート給送装置
1か月前
ブラザー工業株式会社
液滴吐出ヘッド
10日前
ブラザー工業株式会社
液体吐出ヘッド
8日前
ブラザー工業株式会社
サポートプログラム
1か月前
ブラザー工業株式会社
サポートプログラム
1か月前
ブラザー工業株式会社
情報処理プログラム
8日前
ブラザー工業株式会社
印刷カセット収納体
2日前
ブラザー工業株式会社
定着装置及び画像形成装置
29日前
ブラザー工業株式会社
工具搬送装置及び工作機械
1日前
ブラザー工業株式会社
タンクおよび液体吐出装置
8日前
ブラザー工業株式会社
プログラムおよび情報処理装置
8日前
ブラザー工業株式会社
ラベルプリンタおよびプログラム
1日前
ブラザー工業株式会社
プログラム、および、データ処理装置
8日前
ブラザー工業株式会社
画像処理装置及び認証処理プログラム
3日前
ブラザー工業株式会社
サポートプログラムおよび印刷システム
8日前
ブラザー工業株式会社
サポートプログラムおよび印刷システム
17日前
ブラザー工業株式会社
印刷管理システム、サーバ、印刷管理方法
24日前
ブラザー工業株式会社
液滴吐出装置、その制御方法及びプログラム
2日前
ブラザー工業株式会社
プログラム、電子装置、方法、及び印刷システム
22日前
続きを見る
他の特許を見る