TOP
|
特許
|
意匠
|
商標
特許ウォッチ
Twitter
他の特許を見る
10個以上の画像は省略されています。
公開番号
2025176807
公報種別
公開特許公報(A)
公開日
2025-12-05
出願番号
2024083143
出願日
2024-05-22
発明の名称
ラベルプリンタおよびプログラム
出願人
ブラザー工業株式会社
代理人
弁理士法人コスモス国際特許商標事務所
主分類
B41J
3/36 20060101AFI20251128BHJP(印刷;線画機;タイプライター;スタンプ)
要約
【課題】ラベルに付されたICタグと通信する通信機能を有するラベルプリンタであって、管理に利用可能なラベルを簡単に作成できる技術を提供すること。
【解決手段】ラベルプリンタ1は、RFIDリーダライタ16を介して、搬送されるRFIDラベル50aに付されたRFIDタグ50bから、RFIDタグ50bの書き込み不可の領域にあらかじめ記憶されている固有IDを読み出す。そして、ラベルプリンタ1は、読み出された固有IDを示す画像を、印刷エンジン51を用いてRFIDラベル50aの印字面に印刷する。
【選択図】図6
特許請求の範囲
【請求項1】
ラベルを搬送する搬送部と、
前記ラベルの印字面に画像を印刷する印刷部と、
前記ラベルに付されたICタグと無線通信する無線通信部と、
コントローラと、
を備え、
前記コントローラは、
前記無線通信部を介して、前記搬送部によって搬送される前記ラベルに付された前記ICタグから、前記ICタグの書き込み不可の領域にあらかじめ記憶されている個々のICタグに固有の情報である固有IDを読み出す読出し処理と、
前記読出し処理にて読み出された前記固有IDを示す画像を、前記印刷部を用いて前記ラベルの印字面に印刷するID印刷処理と、
を実行する、
ように構成されるラベルプリンタ。
続きを表示(約 2,000 文字)
【請求項2】
請求項1に記載するラベルプリンタであって、
前記ID印刷処理では、
前記読出し処理にて読み出された前記固有IDを示す前記画像として、前記固有IDを示すテキストを、前記印刷部を用いて前記ラベルの印字面に印刷する、
ように構成されるラベルプリンタ。
【請求項3】
請求項1に記載するラベルプリンタであって、
前記ID印刷処理では、
前記読出し処理にて読み出された前記固有IDを示す前記画像として、前記固有IDを示すコード画像を、前記印刷部を用いて前記ラベルの印字面に印刷する、
ように構成されるラベルプリンタ。
【請求項4】
請求項1に記載するラベルプリンタであって、
メモリを備え、
前記メモリには、特定のオブジェクトを含む第1のテンプレートデータを記憶可能であり、
前記ID印刷処理では、
前記第1のテンプレートデータを前記メモリから読み出し、前記読出し処理にて読み出された前記固有IDを示す前記画像を、前記特定のオブジェクトのオブジェクト領域に配置し、前記固有IDを示す前記画像が配置された前記第1のテンプレートデータに基づく画像を、前記印刷部を用いて前記ラベルの印字面に印刷する、
ように構成されるラベルプリンタ。
【請求項5】
請求項4に記載するラベルプリンタであって、
前記メモリには、前記特定のオブジェクトを含まない第2のテンプレートデータも記憶可能であり、
前記コントローラは、
前記メモリから読み出したテンプレートデータが前記第1のテンプレートデータであれば、前記読出し処理および前記ID印刷処理を実行し、
前記メモリから読み出したテンプレートデータが前記第2のテンプレートデータであれば、前記読出し処理および前記ID印刷処理を実行せず、前記印刷部を用いて、読み出した前記第2のテンプレートデータに基づく印刷を行う、
ように構成されるラベルプリンタ。
【請求項6】
請求項1に記載するラベルプリンタであって、
前記コントローラは、
前記無線通信部を介して、前記ICタグとの無線通信を試行し、
前記ICタグから応答があれば、前記ID印刷処理を実行し、
前記ICタグから応答がなければ、前記ID印刷処理を実行せず、エラーを報知する、
ように構成されるラベルプリンタ。
【請求項7】
請求項1に記載するラベルプリンタであって、
ラベルが貼着されたテープを収納するカセットの着脱が可能であり、
前記コントローラは、
装着されているカセットの種別を取得し、
取得された前記種別に基づいて、装着されている前記カセットが、前記ICタグが付された前記ラベルが貼着されたテープを格納する特定のカセットか否かを判断し、
装着されている前記カセットが、前記特定のカセットであると判断すれば、前記ID印刷処理を実行し、
装着されている前記カセットが、前記特定のカセットでないと判断すれば、前記ID印刷処理を実行せず、エラーを報知する、
ように構成されるラベルプリンタ。
【請求項8】
請求項1に記載するラベルプリンタであって、
メモリを備え、
前記メモリには、テキスト情報が書き込まれたテキストファイルを記憶可能であり、
前記コントローラは、
前記メモリから前記テキストファイルを読み出し、前記テキストファイルから前記テキスト情報を取得する取得処理を実行し、
前記ID印刷処理では、
前記読出し処理にて読み出された前記固有IDを示す前記画像と、前記取得処理にて取得された前記テキスト情報とを、前記印刷部を用いて前記ラベルの印字面に印刷する、
ように構成されるラベルプリンタ。
【請求項9】
請求項8に記載するラベルプリンタであって、
前記コントローラは、
前記ID印刷処理を実行した後、前記読出し処理にて読み出された前記固有IDと、前記取得処理にて取得された前記テキスト情報と、を関連付けて前記メモリに記憶する記憶処理を実行する、
ように構成されるラベルプリンタ。
【請求項10】
請求項1に記載するラベルプリンタであって、
前記無線通信部は、前記ラベルに付された前記ICタグとして、RFIDタグと通信可能であり、
前記読出し処理では、
前記無線通信部を介して、前記搬送部によって搬送される前記ラベルに付された前記RFIDタグから、前記RFIDタグの製造時に書き込まれた前記固有IDを読み出す、
ように構成されるラベルプリンタ。
(【請求項11】以降は省略されています)
発明の詳細な説明
【技術分野】
【0001】
本明細書に開示される技術分野は、ICタグと通信可能なラベルプリンタおよびプログラムに関する。
続きを表示(約 1,800 文字)
【背景技術】
【0002】
従来、ラベルに印刷を行う印刷機能と、そのラベルに付されたICタグと通信する通信機能と、を有するラベルプリンタが知られている。例えば特許文献1には、ラベルに貼付されたRFID(Radio Frequency IDentification)タグと通信してセキュリティ情報を読み取り、そのセキュリティ情報が正当であれば、RFIDタグを識別可能にする識別情報を取得し、RFIDタグと通信してセキュリティ情報の消去と識別情報の書き込みとを行い、さらにそのラベルに識別情報を示すバーコードを印刷するラベル発行装置が開示されている。
【先行技術文献】
【特許文献】
【0003】
特開2013-178641号公報
【発明の概要】
【発明が解決しようとする課題】
【0004】
特許文献1に開示されているように、RFIDタグの識別情報を取得し、その識別情報をラベルに貼付されたRFIDタグに書き込み、さらにその識別情報をラベルに印刷することで、そのラベルを物品の管理に利用できる。しかしながら、識別情報を取得するために、あらかじめ識別情報をラベルプリンタに用意しておく必要があり、準備に手間がかかる。
【課題を解決するための手段】
【0005】
上述した課題の解決を目的としてなされたラベルプリンタは、
ラベルを搬送する搬送部と、
前記ラベルの印字面に画像を印刷する印刷部と、
前記ラベルに付されたICタグと無線通信する無線通信部と、
コントローラと、
を備え、
前記コントローラは、
前記無線通信部を介して、前記搬送部によって搬送される前記ラベルに付された前記ICタグから、前記ICタグの書き込み不可の領域にあらかじめ記憶されている個々のICタグに固有の情報である固有IDを読み出す読出し処理と、
前記読出し処理にて読み出された前記固有IDを示す画像を、前記印刷部を用いて前記ラベルの印字面に印刷するID印刷処理と、
を実行する、
ように構成される。
【0006】
本明細書に家事されるラベルプリンタは、ラベルに付されたICタグからその固有IDを読み出し、そのラベルの印字面にその固有IDを示す画像を印刷することから、あらかじめ管理用のIDをユーザが用意することなく、管理に利用可能なラベルを簡単に作成できる。
【0007】
上記装置の機能を実現するための制御方法、コンピュータプログラム、および当該コンピュータプログラムを格納するコンピュータにて読取可能な記憶媒体も、新規で有用である。
【発明の効果】
【0008】
本明細書に開示される技術によれば、ラベルに付されたICタグと通信する通信機能を有するラベルプリンタであって、管理に利用可能なラベルを簡単に作成できる技術が実現される。
【図面の簡単な説明】
【0009】
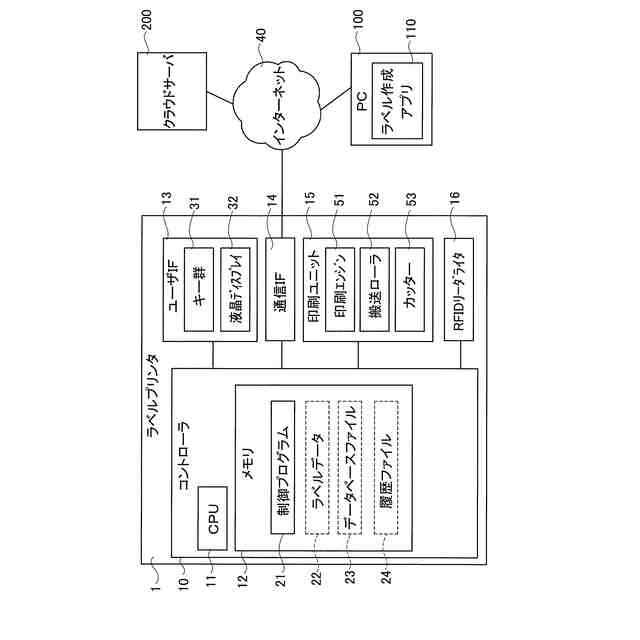
実施の形態にかかるラベルプリンタの電気的構成を示すブロック図である。
実施の形態にかかるラベルプリンタの外観斜視図である。
プリンタの内部構成の概略を示す説明図である。
RFIDタグ付きのラベルを有するテープの概要を示す説明図である。
ラベル作成アプリの設定画面を示す図である。
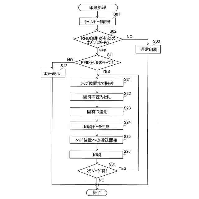
実施の形態にかかるRFID印刷の手順を示すフローチャートである。
RFID印刷の印刷例を示す図である。
データベース印刷を行うためのデータベースファイルとラベルデータとを示す図である。
RFID印刷にデータベース印刷を組み合わせた印刷の手順を示すフローチャートである。
RFID印刷にデータベース印刷を組み合わせた印刷例を示す図である。
履歴ファイルの例を示す図である。
【発明を実施するための形態】
【0010】
以下、本発明のラベルプリンタを具体化した実施の形態について、添付図面を参照しつつ詳細に説明する。本形態は、ラベルに付されたRFIDタグと通信可能なラベルプリンタを開示するものである。
(【0011】以降は省略されています)
この特許をJ-PlatPat(特許庁公式サイト)で参照する
関連特許
ブラザー工業株式会社
印刷装置
7日前
ブラザー工業株式会社
電子機器
1か月前
ブラザー工業株式会社
水塗布装置
23日前
ブラザー工業株式会社
水塗布装置
23日前
ブラザー工業株式会社
水塗布装置
23日前
ブラザー工業株式会社
水塗布装置
23日前
ブラザー工業株式会社
液体吐出装置
9日前
ブラザー工業株式会社
液体吐出装置
7日前
ブラザー工業株式会社
液体吐出装置
16日前
ブラザー工業株式会社
画像形成装置
28日前
ブラザー工業株式会社
画像形成装置
2日前
ブラザー工業株式会社
画像形成装置
1か月前
ブラザー工業株式会社
画像形成装置
1か月前
ブラザー工業株式会社
液体吐出装置
今日
ブラザー工業株式会社
画像形成装置
1か月前
ブラザー工業株式会社
液体吐出装置
今日
ブラザー工業株式会社
画像形成装置
1か月前
ブラザー工業株式会社
シート給送装置
1か月前
ブラザー工業株式会社
液滴吐出ヘッド
9日前
ブラザー工業株式会社
液体吐出ヘッド
7日前
ブラザー工業株式会社
サポートプログラム
1か月前
ブラザー工業株式会社
サポートプログラム
1か月前
ブラザー工業株式会社
情報処理プログラム
7日前
ブラザー工業株式会社
印刷カセット収納体
1日前
ブラザー工業株式会社
定着装置及び画像形成装置
28日前
ブラザー工業株式会社
工具搬送装置及び工作機械
今日
ブラザー工業株式会社
タンクおよび液体吐出装置
7日前
ブラザー工業株式会社
プログラムおよび情報処理装置
7日前
ブラザー工業株式会社
ラベルプリンタおよびプログラム
今日
ブラザー工業株式会社
プログラム、および、データ処理装置
7日前
ブラザー工業株式会社
画像処理装置及び認証処理プログラム
2日前
ブラザー工業株式会社
サポートプログラムおよび印刷システム
7日前
ブラザー工業株式会社
サポートプログラムおよび印刷システム
16日前
ブラザー工業株式会社
印刷管理システム、サーバ、印刷管理方法
23日前
ブラザー工業株式会社
液滴吐出装置、その制御方法及びプログラム
1日前
ブラザー工業株式会社
プログラム、電子装置、方法、及び印刷システム
21日前
続きを見る
他の特許を見る