TOP
|
特許
|
意匠
|
商標
特許ウォッチ
Twitter
他の特許を見る
公開番号
2025177267
公報種別
公開特許公報(A)
公開日
2025-12-05
出願番号
2024083926
出願日
2024-05-23
発明の名称
液体吐出装置
出願人
ブラザー工業株式会社
代理人
弁理士法人有古特許事務所
主分類
B41J
2/01 20060101AFI20251128BHJP(印刷;線画機;タイプライター;スタンプ)
要約
【課題】ノズルから液体を噴射しない非噴射期間内にノズル内の液面を微振動させて液体の増粘を抑制する液体吐出装置において、非噴射期間が長い場合でも、ノズル内の液体の増粘を抑制可能にする。
【解決手段】液体吐出装置は、ノズル群を有するヘッドとヘッドを制御する制御部とを備える。制御部は、基準時刻から特定ノズルより液体の吐出を開始する吐出開始時刻までに要する待機時間が、所定の基準時間内か否かを判定する待機時間判定を実行する。制御部は、待機時間判定において待機時間が基準時間内であると判定した場合、特定ノズル内の液体の液面を、特定ノズルから液体が吐出しない規模の振動で振動させる第1非吐出駆動を実行する。制御部は、前記判定をしなかった場合、特定ノズル内の液面を、第1非吐出駆動よりも小さい規模の振動で振動させる第2非吐出駆動を実行する。
【選択図】図2
特許請求の範囲
【請求項1】
被記録媒体に対して液体を吐出するノズル群を有するヘッドと、
印刷ジョブ情報に基づいて印刷処理を行うように前記ヘッドを制御する制御部と、を備え、
前記制御部は、
前記印刷処理について予め定められた基準時刻から、前記ノズル群に属する特定ノズルより液体の吐出を開始する吐出開始時刻までに要する待機時間が、所定の基準時間内か否かを判定する待機時間判定を実行し、
前記待機時間判定において前記待機時間が前記基準時間内であると判定した場合、前記特定ノズル内の前記液体の液面を、前記特定ノズルから前記液体が吐出しない規模の振動で振動させる第1非吐出駆動を実行し、
前記待機時間判定において前記待機時間が前記基準時間内ではないと判定した場合、前記特定ノズル内の前記液面を、前記第1非吐出駆動よりも小さい規模の振動で振動させる第2非吐出駆動を実行する、液体吐出装置。
続きを表示(約 1,000 文字)
【請求項2】
前記ノズル群は、異なる色の液体を吐出する複数の色別ノズル群を含み、
前記制御部は、前記複数の色別ノズル群の各々に属する前記特定ノズルに対して個別に前記待機時間判定を実行する、請求項1に記載の液体吐出装置。
【請求項3】
前記制御部は、個々の前記特定ノズルに対して個別に、前記待機時間判定と前記待機時間判定の結果に基づく前記第1非吐出駆動又は前記第2非吐出駆動とを実行する、請求項1に記載の液体吐出装置。
【請求項4】
外部から印加される電圧により、前記特定ノズルから前記液体を吐出するように前記液体に圧力を付与する少なくとも1つの圧電素子を更に備え、
前記制御部は、第1パターン波形と、前記第1パターン波形よりも前記特定ノズル内の前記液面に与える振動が異なる第2パターン波形と、のいずれか一方の波形の電圧を前記圧電素子に印加する、請求項1に記載の液体吐出装置。
【請求項5】
前記第1パターン波形は、前記第2パターン波形よりも、前記液面に与える振動が大きく、かつ、前記特定ノズル内の前記液体の攪拌力が大きい、請求項4に記載の液体吐出装置。
【請求項6】
前記制御部は、前記第2非吐出駆動中に、前記第1パターン波形の電圧と、前記第2パターン波形の電圧とを選択的に切り替えて前記圧電素子に印加する、請求項5に記載の液体吐出装置。
【請求項7】
前記制御部は、
前記第1非吐出駆動中において、前記第1パターン波形の電圧を前記圧電素子に印加し、
前記第2非吐出駆動中において、前記第2パターン波形の電圧を前記圧電素子に印加する、請求項5に記載の液体吐出装置。
【請求項8】
前記第1パターン波形と前記第2パターン波形とは、周波数が異なる、請求項4に記載の液体吐出装置。
【請求項9】
前記第1パターン波形と前記第2パターン波形とは、振幅の最大値が異なる、請求項4に記載の液体吐出装置。
【請求項10】
前記第2非吐出駆動は、
前記吐出開始時刻の前において、前記特定ノズル内の前記液面の振動を、一定期間抑制する抑制駆動と、
前記抑制駆動後において、前記抑制駆動による振動よりも大きい規模で前記特定ノズル内の前記液面を振動させる直前駆動と、を含む、請求項1に記載の液体吐出装置。
発明の詳細な説明
【技術分野】
【0001】
本開示は、液体吐出装置に関し、特に、ヘッドに設けられたノズル内の液体の増粘を抑制する技術に関する。
続きを表示(約 1,700 文字)
【背景技術】
【0002】
例えば特許文献1に開示されるように、ヘッドに設けられたノズルから液体を噴射しない非噴射期間の時間長が閾値よりも長い場合、ノズル内の液面を微振動させ、当該時間長が閾値よりも短い場合、前記微振動を停止することで、液体の増粘を防止しつつ、ノズルのフラッシングに伴う液体消費量を抑制する液体噴射装置が知られている。
【先行技術文献】
【特許文献】
【0003】
特開2012-171308号公報
【発明の概要】
【発明が解決しようとする課題】
【0004】
特許文献1の技術では、非噴射期間が比較的長い場合、当該期間内に液体吐出装置のノズル内の液面を微振動させ続けると、ノズル内で液体の撹拌が進んで液体の揮発が過度となり、液体の増粘がかえって進行する。
【0005】
そこで本開示は、ノズルから液体を噴射しない非噴射期間内にノズル内の液面を微振動させて液体の増粘を抑制する液体吐出装置において、非噴射期間が長い場合でも、ノズル内の液体の増粘を抑制可能にすることを目的とする。
【課題を解決するための手段】
【0006】
上記課題を解決するために、本開示の一態様に係る液体吐出装置は、被記録媒体に対して液体を吐出するノズル群を有するヘッドと、印刷ジョブ情報に基づいて印刷処理を行うように前記ヘッドを制御する制御部と、を備え、前記制御部は、前記印刷処理について予め定められた基準時刻から、前記ノズル群に属する特定ノズルより液体の吐出を開始する吐出開始時刻までに要する待機時間が、所定の基準時間内か否かを判定する待機時間判定を実行し、前記待機時間判定において前記待機時間が前記基準時間内であると判定した場合、前記特定ノズル内の前記液体の液面を、前記特定ノズルから前記液体が吐出しない規模の振動で振動させる第1非吐出駆動を実行し、前記待機時間判定において前記待機時間が前記基準時間内ではないと判定した場合、前記特定ノズル内の前記液面を、前記第1非吐出駆動よりも小さい規模の振動で振動させる第2非吐出駆動を実行する。
【発明の効果】
【0007】
本開示の一態様によれば、ノズルから液体を噴射しない非噴射期間内にノズル内の液面を微振動させて液体の増粘を抑制する液体吐出装置において、非噴射期間が長い場合でも、ノズル内の液体の増粘を抑制できる。
【図面の簡単な説明】
【0008】
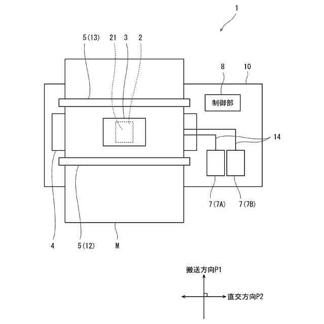
図1は、第1実施形態に係る液体吐出装置の概略構成を示す平面図である。
図2は、図1の液体吐出装置の機能ブロック図である。
図3は、図1の液体吐出装置の制御フロー図である。
図4は、図1の液体吐出装置が備える特定ノズルの内部の液体の液面Lの振動を模式的に示す断面図である。
図5は、図2の圧電素子に印加される電圧の駆動波形を示す図である。
図6は、第1実施形態に係る液体吐出装置の非吐出駆動を模式的に示す平面図である。
図7は、第2実施形態に係る液体吐出装置の非吐出駆動を模式的に示す平面図である。
【発明を実施するための形態】
【0009】
以下、図面を参照しながら本開示に係る各実施形態を説明する。なお、全ての図面を通じて同一又は対応する要素には、同一の参照符号を付し、重複説明を省略する。また、本開示は実施形態に限定されず、本開示の趣旨を逸脱しない範囲で追加、削除、及び、変更が可能である。
【0010】
(第1実施形態)
[液体吐出装置の構成]
図1は、第1実施形態に係る液体吐出装置1(以下、「装置1」とも称する。)の概略構成を示す平面図である。装置1は、例えば、インク等の液体をヘッド2のノズル群21に含まれるノズル22(図4参照)から吐出(噴射)して、シート状の被記録媒体M上に文字や画像等を形成する印刷処理を行うインクジェットプリンタである。装置1は、シリアルヘッド式であり、被記録媒体M上に、ヘッド2のノズル群21に含まれるノズル22から液体を吐出して画像を形成する。
(【0011】以降は省略されています)
この特許をJ-PlatPat(特許庁公式サイト)で参照する
関連特許
ブラザー工業株式会社
電子機器
1か月前
ブラザー工業株式会社
印刷装置
7日前
ブラザー工業株式会社
水塗布装置
23日前
ブラザー工業株式会社
水塗布装置
23日前
ブラザー工業株式会社
水塗布装置
23日前
ブラザー工業株式会社
水塗布装置
23日前
ブラザー工業株式会社
画像形成装置
28日前
ブラザー工業株式会社
液体吐出装置
16日前
ブラザー工業株式会社
液体吐出装置
9日前
ブラザー工業株式会社
液体吐出装置
7日前
ブラザー工業株式会社
液体吐出装置
今日
ブラザー工業株式会社
画像形成装置
2日前
ブラザー工業株式会社
液体吐出装置
今日
ブラザー工業株式会社
液滴吐出ヘッド
9日前
ブラザー工業株式会社
シート給送装置
1か月前
ブラザー工業株式会社
液体吐出ヘッド
7日前
ブラザー工業株式会社
情報処理プログラム
7日前
ブラザー工業株式会社
印刷カセット収納体
1日前
ブラザー工業株式会社
定着装置及び画像形成装置
28日前
ブラザー工業株式会社
工具搬送装置及び工作機械
今日
ブラザー工業株式会社
タンクおよび液体吐出装置
7日前
ブラザー工業株式会社
プログラムおよび情報処理装置
7日前
ブラザー工業株式会社
ラベルプリンタおよびプログラム
今日
ブラザー工業株式会社
プログラム、および、データ処理装置
7日前
ブラザー工業株式会社
画像処理装置及び認証処理プログラム
2日前
ブラザー工業株式会社
サポートプログラムおよび印刷システム
16日前
ブラザー工業株式会社
サポートプログラムおよび印刷システム
7日前
ブラザー工業株式会社
印刷管理システム、サーバ、印刷管理方法
23日前
ブラザー工業株式会社
液滴吐出装置、その制御方法及びプログラム
1日前
ブラザー工業株式会社
プログラム、電子装置、方法、及び印刷システム
21日前
ブラザー工業株式会社
コンピュータプログラム、および、データ処理装置
7日前
ブラザー工業株式会社
液体吐出装置用ヘッド及びこれを備える液体吐出装置
7日前
ブラザー工業株式会社
情報処理プログラム、情報処理装置、及び情報処理方法
23日前
ブラザー工業株式会社
画像処理装置
今日
ブラザー工業株式会社
画像形成装置
15日前
ブラザー工業株式会社
情報処理装置
今日
続きを見る
他の特許を見る