TOP
|
特許
|
意匠
|
商標
特許ウォッチ
Twitter
他の特許を見る
公開番号
2025176862
公報種別
公開特許公報(A)
公開日
2025-12-05
出願番号
2024083221
出願日
2024-05-22
発明の名称
液体吐出装置
出願人
ブラザー工業株式会社
代理人
弁理士法人有古特許事務所
主分類
B41J
2/165 20060101AFI20251128BHJP(印刷;線画機;タイプライター;スタンプ)
要約
【課題】 乾燥しやすさの異なる複数種類の液体について、何れの液体についても確実に乾燥状態を解消することのできる液体吐出装置を提供する。
【解決手段】 液体吐出装置1が備える制御装置30は、画像データに基づいてノズル11から液体を吐出して被印刷媒体A上に画像を形成する印刷処理と、所定のフラッシング領域23に液体を吐出する吐出フラッシング処理と、を実行し、吐出フラッシング処理において、第1液体の総吐出量は第1液体よりも乾燥しにくい第2液体の総吐出量よりも多く、かつ、第1液体の吐出の開始時よりも後に第2液体の吐出が開始される。
【選択図】 図5
特許請求の範囲
【請求項1】
第1液体および前記第1液体よりも乾燥しにくい第2液体を含む複数種類の液体を被印刷媒体へ吐出する種類ごとのノズルを有するヘッドと、
制御装置と、を備え、
前記制御装置は、
画像データに基づいて前記ノズルから前記液体を吐出して前記被印刷媒体上に画像を形成する印刷処理と、
所定のフラッシング領域に前記液体を吐出する吐出フラッシング処理と、を実行し、
前記吐出フラッシング処理において、前記第1液体の総吐出量は前記第2液体の総吐出量よりも多く、かつ、前記第1液体の吐出の開始時よりも後に前記第2液体の吐出が開始される、
液体吐出装置。
続きを表示(約 790 文字)
【請求項2】
前記制御装置は、前記液体を吐出させずに前記ノズル内で振動させる非吐出フラッシング処理をさらに実行し、
前記非吐出フラッシング処理は、前記吐出フラッシング処理の実行期間中であって前記第1液体の吐出開始から前記第2液体の吐出開始までの間に、前記第2液体を対象にして実行される、
請求項1に記載の液体吐出装置。
【請求項3】
前記吐出フラッシング処理は、前記第1液体の総吐出回数が前記第2液体の総吐出回数よりも多く、かつ、前記第2液体の吐出頻度は時間の経過に伴い高くなる、
請求項1に記載の液体吐出装置。
【請求項4】
前記吐出フラッシング処理は、前記第1液体の総吐出回数が前記第2液体の総吐出回数よりも多く、かつ、前記第1液体の最終吐出と前記第2液体の最終吐出とは同時に行われる、
請求項1に記載の液体吐出装置。
【請求項5】
第1液体および前記第1液体よりも乾燥しにくい第2液体を含む複数種類の液体を被印刷媒体へ吐出する種類ごとのノズルを有するヘッドと、
制御装置と、を備え、
前記制御装置は、
画像データに基づいて前記ノズルから前記液体を吐出して前記被印刷媒体上に画像を形成する印刷処理と、
所定のフラッシング領域に前記液体を吐出する吐出フラッシング処理と、を実行し、
前記吐出フラッシング処理において、前記第1液体の総吐出量は前記第2液体の総吐出量よりも多く、かつ、前記第1液体の1回の吐出量よりも前記第2液体の1回の吐出量の方が少ない、
液体吐出装置。
【請求項6】
前記吐出フラッシング処理は、前記第1液体の総吐出回数と前記第2液体の総吐出回数とが同一である、
請求項5に記載の液体吐出装置。
発明の詳細な説明
【技術分野】
【0001】
本開示は、液体を吐出する液体吐出装置に関する。
続きを表示(約 1,500 文字)
【背景技術】
【0002】
従来、例えば特許文献1に記載されたようなインクジェット記録装置が知られている。この特許文献1では、予備吐出処理の終了後のノズルから予備吐出処理が未完了のノズルへのインクの混色を防止するため、色ごとに予備吐出の頻度を異ならせると共に予備吐出処理の完了タイミングを各色で一致させることが記載されている。
【先行技術文献】
【特許文献】
【0003】
特開平08-052885号公報
【発明の概要】
【発明が解決しようとする課題】
【0004】
しかしながら、予備吐出の頻度が小さいインクは、連続する2回の予備吐出の間の不吐出期間においてインクが乾燥しやすい。すなわち、乾燥しやすさの異なる複数色のインクの何れについても乾燥状態の確実な解消を実現できない可能性がある。
【0005】
そこで本開示は、乾燥しやすさの異なる複数種類の液体について、何れの液体についても確実に乾燥状態を解消することのできる液体吐出装置を提供することを目的とする。
【課題を解決するための手段】
【0006】
本開示の第1の態様に係る液体吐出装置は、第1液体および前記第1液体よりも乾燥しにくい第2液体を含む複数種類の液体を被印刷媒体へ吐出する種類ごとのノズルを有するヘッドと、制御装置と、を備え、前記制御装置は、画像データに基づいて前記ノズルから前記液体を吐出して前記被印刷媒体上に画像を形成する印刷処理と、所定のフラッシング領域に前記液体を吐出する吐出フラッシング処理と、を実行し、前記吐出フラッシング処理において、前記第1液体の総吐出量は前記第2液体の総吐出量よりも多く、かつ、前記第1液体の吐出の開始時よりも後に前記第2液体の吐出が開始される。
【発明の効果】
【0007】
本開示に係る液体吐出装置によれば、フラッシングの開始タイミングを第1液体よりも第2液体の方が遅くし、印刷開始時に近づけることで、印刷開始時には第1液体および第2液体の両方について乾燥状態を解消でき、安定した印刷を実現できる。
【図面の簡単な説明】
【0008】
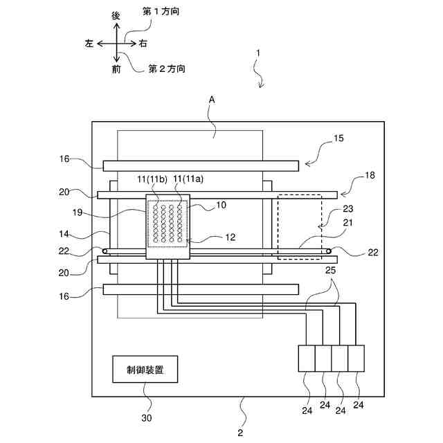
図1は、本開示に係る液体吐出装置の模式図である。
図2は、吐出ヘッドの構成を示す模式的な断面図である。
図3は、液体吐出装置の機能的構成を示すブロック図である。
図4は、アクチュエータに入力される信号の例を示す模式図である。
図5は、液体吐出装置によるフラッシング処理の第1の例を示している。
図6は、液体吐出装置によるフラッシング処理の第2の例を示している。
図7は、液体吐出装置によるフラッシング処理の第3の例を示している。
図8は、液体吐出装置によるフラッシング処理の第4の例を示している。
【発明を実施するための形態】
【0009】
以下、本開示に係る液体吐出装置の実施の形態を、図面を参照しながら具体的に説明する。なお、以下では、全ての図面を通じて同一又は対応する要素には同一の参照符号を付することとし、重複した説明を省略する。
【0010】
(液体吐出装置の構成)
図1は本開示に係る液体吐出装置1の模式図である。液体吐出装置1は、画像データに基づいて吐出ヘッド10から吐出した液体により被印刷媒体A上に画像を印刷する。このような液体吐出装置1として、以下ではインクを吐出するインクジェットプリンタに適用した例について説明する。
(【0011】以降は省略されています)
この特許をJ-PlatPat(特許庁公式サイト)で参照する
関連特許
ブラザー工業株式会社
印刷装置
7日前
ブラザー工業株式会社
電子機器
1か月前
ブラザー工業株式会社
スキャナ
1か月前
ブラザー工業株式会社
スキャナ
1か月前
ブラザー工業株式会社
印刷装置
1か月前
ブラザー工業株式会社
印刷装置
1か月前
ブラザー工業株式会社
水塗布装置
23日前
ブラザー工業株式会社
水塗布装置
23日前
ブラザー工業株式会社
水塗布装置
23日前
ブラザー工業株式会社
水塗布装置
23日前
ブラザー工業株式会社
画像形成装置
1か月前
ブラザー工業株式会社
画像形成装置
1か月前
ブラザー工業株式会社
画像形成装置
1か月前
ブラザー工業株式会社
画像形成装置
28日前
ブラザー工業株式会社
画像形成装置
1か月前
ブラザー工業株式会社
画像形成装置
1か月前
ブラザー工業株式会社
液体吐出装置
16日前
ブラザー工業株式会社
液体吐出装置
7日前
ブラザー工業株式会社
液体吐出装置
9日前
ブラザー工業株式会社
液体吐出装置
今日
ブラザー工業株式会社
画像形成装置
1か月前
ブラザー工業株式会社
液体吐出装置
今日
ブラザー工業株式会社
画像形成装置
1か月前
ブラザー工業株式会社
画像形成装置
2日前
ブラザー工業株式会社
液体吐出ヘッド
7日前
ブラザー工業株式会社
液滴吐出ヘッド
9日前
ブラザー工業株式会社
シート給送装置
1か月前
ブラザー工業株式会社
情報処理プログラム
7日前
ブラザー工業株式会社
印刷カセット収納体
1日前
ブラザー工業株式会社
サポートプログラム
1か月前
ブラザー工業株式会社
サポートプログラム
1か月前
ブラザー工業株式会社
プリンタおよびプログラム
1か月前
ブラザー工業株式会社
定着装置及び画像形成装置
28日前
ブラザー工業株式会社
プリンタおよびプログラム
1か月前
ブラザー工業株式会社
工具搬送装置及び工作機械
今日
ブラザー工業株式会社
タンクおよび液体吐出装置
7日前
続きを見る
他の特許を見る