TOP
|
特許
|
意匠
|
商標
特許ウォッチ
Twitter
他の特許を見る
公開番号
2025155776
公報種別
公開特許公報(A)
公開日
2025-10-14
出願番号
2024220871
出願日
2024-12-17
発明の名称
画像形成装置
出願人
ブラザー工業株式会社
代理人
個人
,
個人
,
個人
主分類
G03G
15/00 20060101AFI20251002BHJP(写真;映画;光波以外の波を使用する類似技術;電子写真;ホログラフイ)
要約
【課題】印刷不良の発生を抑制できる画像形成装置を提供する。
【解決手段】画像形成装置1は、本体筐体2と、感光ドラム61と、感光ドラム61を露光する光を出す露光ユニット4と、現像ローラ71を有する現像カートリッジ7と、現像カートリッジ7を使用して印刷した累積印刷枚数を記憶する現像メモリ76と、制御部10とを備える。制御部10は、累積印刷枚数が、第1閾値以上かつ第1閾値よりも大きい第2閾値以下であり、かつ、印刷動作が終了してから所定時間が経過した後に印刷動作を開始したときからの現像ローラ71の回転回数が、第3閾値以上になったという第1条件を満たした場合、画質改善制御を実行する。画質改善制御においては、感光ドラム61にトナー像を形成するときの現像ローラ71に印加する現像電圧の大きさを、第1条件を満たす直前の印刷時に感光ドラム61にトナー像を形成したときよりも大きくする。
【選択図】図1
特許請求の範囲
【請求項1】
本体筐体と、
感光ドラムと、
前記感光ドラムを露光する光を出す露光ユニットと、
現像ローラを有する現像器と、
前記現像器を使用して印刷した累積印刷枚数、または、前記現像ローラの累積回転回数を記憶するメモリと、
制御部と、を備え、
前記制御部は、
前記累積印刷枚数または前記累積回転回数が、第1閾値以上かつ前記第1閾値よりも大きい第2閾値以下であり、かつ、
印刷動作が終了してから所定時間が経過した後に印刷動作を開始したときからの前記現像器を使用して印刷した印刷枚数、または、印刷動作が終了してから所定時間が経過した後に印刷動作を開始したときからの前記現像ローラの回転回数が、第3閾値以上になったという第1条件を満たした場合、
前記感光ドラムにトナー像を形成するときの、
前記現像ローラに印加する現像電圧の大きさ、
前記感光ドラムに形成する静電潜像のドットの大きさ、または、
前記露光ユニットが出す光の強度、
を、前記第1条件を満たす直前の印刷時に前記感光ドラムにトナー像を形成したときよりも大きくする画質改善制御を実行することを特徴とする画像形成装置。
続きを表示(約 1,100 文字)
【請求項2】
前記現像器は、前記メモリを有し、前記本体筐体に着脱可能な現像カートリッジであることを特徴とする請求項1に記載の画像形成装置。
【請求項3】
湿度を検出する湿度センサをさらに備え、
前記制御部は、前記第1条件に加え、さらに、前記湿度センサによって検出した湿度が所定湿度以上であるという条件を満たした場合、前記画質改善制御を実行することを特徴とする請求項1に記載の画像形成装置。
【請求項4】
前記現像器は、フラグを記憶可能な現像メモリを有し、前記本体筐体に着脱可能な現像カートリッジであり、
前記制御部は、前記第1条件に加え、さらに、前記現像メモリが前記フラグを記憶しているという条件を満たした場合、前記画質改善制御を実行することを特徴とする請求項1に記載の画像形成装置。
【請求項5】
前記現像カートリッジは、トナーを収容可能なトナー収容部を有し、
前記現像メモリは、前記トナー収容部に収容されたトナーが粉砕トナーである場合、前記フラグを記憶していることを特徴とする請求項4に記載の画像形成装置。
【請求項6】
前記現像メモリは、前記現像ローラの表面粗さが所定の表面粗さ以上である場合、前記フラグを記憶していることを特徴とする請求項4に記載の画像形成装置。
【請求項7】
前記現像カートリッジは、前記現像ローラにトナーを供給する供給ローラを有し、
前記現像メモリは、前記供給ローラの外径が所定の外径以下である場合、または、前記供給ローラの硬度が所定の硬度以下である場合、前記フラグを記憶していることを特徴とする請求項4に記載の画像形成装置。
【請求項8】
前記現像メモリは、前記現像カートリッジがリサイクル品である場合、前記フラグを記憶していることを特徴とする請求項4に記載の画像形成装置。
【請求項9】
前記感光ドラムからシートに転写されたトナー像をシートに熱定着する定着器を備え、
前記制御部は、前記定着器の温度が所定温度以下である場合、印刷動作が終了してから所定時間が経過した状態であると判定することを特徴とする請求項1に記載の画像形成装置。
【請求項10】
前記制御部は、
前記画質改善制御を実行する場合、
前記現像ローラに印加する現像電圧の大きさ、
前記感光ドラムに形成する静電潜像のドットの大きさ、または、
前記露光ユニットが出す光の強度、
を、印刷枚数が増加するごとに大きくすることを特徴とする請求項1に記載の画像形成装置。
(【請求項11】以降は省略されています)
発明の詳細な説明
【技術分野】
【0001】
本開示は、画像形成装置に関する。
続きを表示(約 1,500 文字)
【背景技術】
【0002】
従来、画像形成装置として、感光ドラムと、感光ドラムにトナーを供給するときに現像バイアスが印加される現像ローラとを備えるものが知られている(特許文献1)。この技術では、印刷枚数が増加するごとに、現像ローラに印加する現像バイアスを線形一次関数的に低減している。
【先行技術文献】
【特許文献】
【0003】
特開2005-292475号公報
【発明の概要】
【発明が解決しようとする課題】
【0004】
ところで、画像形成装置の印刷動作に伴ってトナーは劣化する。トナーの劣化が進むとトナーが凝集するため、現像ローラ上のトナーの量が通常よりも多くなる場合がある。現像ローラ上のトナーの量が多くなると、例えば、トナー同士が摩擦帯電しにくい状態になり、現像ローラ上のトナーが感光ドラムに移動しにくくなるため、画像にかすれなどの印刷不良が発生する可能性がある。
【0005】
そこで、印刷不良の発生を抑制できることが望まれる。
【課題を解決するための手段】
【0006】
本願の第1開示の画像形成装置は、本体筐体と、感光ドラムと、露光ユニットと、現像器と、メモリと、制御部と、を備える。
露光ユニットは、感光ドラムを露光する光を出す。
現像器は、現像ローラを有する。
メモリは、現像器を使用して印刷した累積印刷枚数、または、現像ローラの累積回転回数を記憶する。
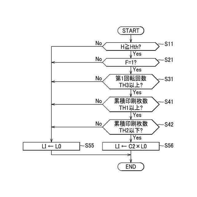
制御部は、累積印刷枚数または累積回転回数が、第1閾値以上かつ第1閾値よりも大きい第2閾値以下であり、かつ、印刷動作が終了してから所定時間が経過した後に印刷動作を開始したときからの現像器を使用して印刷した印刷枚数、または、印刷動作が終了してから所定時間が経過した後に印刷動作を開始したときからの現像ローラの回転回数が、第3閾値以上になったという第1条件を満たした場合、画質改善制御を実行する。
画質改善制御においては、感光ドラムにトナー像を形成するときの、現像ローラに印加する現像電圧の大きさ、感光ドラムに形成する静電潜像のドットの大きさ、または、露光ユニットが出す光の強度、を、第1条件を満たす直前の印刷時に感光ドラムにトナー像を形成したときよりも大きくする。
【0007】
第1開示によれば、現像ローラ上のトナーが感光ドラムに移動しにくい状態であっても、画質改善制御を実行することで、現像ローラ上のトナーが感光ドラムに移動しやすくなるので、印刷不良の発生を抑制できる。
【0008】
本願の第2開示は、第1開示の画像形成装置であって、現像器は、メモリを有し、本体筐体に着脱可能な現像カートリッジであってもよい。
【0009】
第2開示によれば、現像器が、累積印刷枚数または累積回転回数を記憶するメモリを有する現像カートリッジであることで、現像カートリッジを、本体筐体から取り外して再度本体筐体に装着したり、別の画像形成装置の本体筐体に装着したりしても、累積印刷枚数または累積回転回数を継続して制御に使用できる。これにより、画質改善制御を精度よく実行できる。
【0010】
本願の第3開示は、第1開示の画像形成装置であって、湿度を検出する湿度センサをさらに備えていてもよい。
制御部は、第1条件に加え、さらに、湿度センサによって検出した湿度が所定湿度以上であるという条件を満たした場合、画質改善制御を実行してもよい。
(【0011】以降は省略されています)
この特許をJ-PlatPat(特許庁公式サイト)で参照する
関連特許
ブラザー工業株式会社
水塗布装置
15日前
ブラザー工業株式会社
水塗布装置
15日前
ブラザー工業株式会社
水塗布装置
15日前
ブラザー工業株式会社
水塗布装置
15日前
ブラザー工業株式会社
液体吐出装置
1日前
ブラザー工業株式会社
画像形成装置
20日前
ブラザー工業株式会社
液体吐出装置
8日前
ブラザー工業株式会社
液滴吐出ヘッド
1日前
ブラザー工業株式会社
サポートプログラムおよび印刷システム
8日前
ブラザー工業株式会社
印刷管理システム、サーバ、印刷管理方法
15日前
ブラザー工業株式会社
プログラム、電子装置、方法、及び印刷システム
13日前
ブラザー工業株式会社
情報処理プログラム、情報処理装置、及び情報処理方法
15日前
ブラザー工業株式会社
画像形成装置
7日前
ブラザー工業株式会社
現像カートリッジ
13日前
ブラザー工業株式会社
サポートプログラム
13日前
ブラザー工業株式会社
サポートプログラム
13日前
ブラザー工業株式会社
コンピュータプログラム、データ処理装置、および、シートの製造方法
15日前
ブラザー工業株式会社
タンクセット及び液体消費装置
20日前
個人
表示装置
1か月前
個人
雨用レンズカバー
1か月前
株式会社シグマ
絞りユニット
2か月前
キヤノン株式会社
撮像装置
1か月前
キヤノン株式会社
撮像装置
1か月前
キヤノン株式会社
撮像装置
2か月前
平和精機工業株式会社
雲台
3か月前
キヤノン株式会社
撮像装置
2か月前
日本精機株式会社
車両用投射装置
1か月前
キヤノン株式会社
撮像装置
1か月前
キヤノン株式会社
撮像装置
2か月前
株式会社リコー
画像形成装置
22日前
株式会社リコー
画像形成装置
1か月前
株式会社リコー
画像形成装置
1か月前
株式会社リコー
画像形成装置
3か月前
株式会社リコー
画像形成装置
28日前
株式会社リコー
画像形成装置
13日前
株式会社リコー
画像形成装置
2か月前
続きを見る
他の特許を見る