TOP
|
特許
|
意匠
|
商標
特許ウォッチ
Twitter
他の特許を見る
10個以上の画像は省略されています。
公開番号
2025178398
公報種別
公開特許公報(A)
公開日
2025-12-05
出願番号
2025163073,2022055383
出願日
2025-09-30,2022-03-30
発明の名称
サポートプログラム
出願人
ブラザー工業株式会社
代理人
主分類
G06F
3/12 20060101AFI20251128BHJP(計算;計数)
要約
【課題】OS標準の汎用印刷プログラムが組み込まれた情報処理装置において、複数のプリンタキューの情報をユーザが簡単に確認できる技術を提供すること。
【解決手段】補助プログラム42は、編集アプリ43等から出力された印刷指示があったことによって、汎用印刷プログラム41から処理が要求される。また、補助プログラム42は、プリンタ2が選択された状態で、起動指示をOS21が受け付けたことによっても、汎用印刷プログラム41から処理が要求される。補助プログラム42は、起動指示をOS21が受け付けたことによって処理が要求された場合に、PC1のCPU11に、選択中のプリンタ2が有する本体情報を取得させ、プリンタ2とは別のプリンタが存在するか否かを判断させ、存在すると判断されたプリンタ3が有する本体情報を取得させ、取得されたプリンタ2の本体情報とプリンタ3の本体情報とを表示させる。
【選択図】図1
特許請求の範囲
【請求項1】
情報処理装置のコンピュータによって実行可能であり、前記情報処理装置のオペレーティングシステムにあらかじめ組み込まれた汎用印刷プログラムをサポートするサポートプログラムであって、前記オペレーティングシステムは、選択されたプリンタに対応するプログラムの起動指示を受け付けることが可能であり、前記汎用印刷プログラムには、前記起動指示に応じて処理を要求するプログラムがプリンタに関連付けられており、
前記コンピュータに、
前記情報処理装置に組み込まれているアプリケーションプログラムから出力された印刷指示であって、前記汎用印刷プログラムに対して画像の印刷をプリンタに行わせる前記印刷指示があったことによって、前記汎用印刷プログラムから処理が要求された場合に、 前記汎用印刷プログラムから前記画像を示す画像データを取得し、前記画像データに基づいて印刷コマンドを、選択されたプリンタに送信するための処理を実行させ、
さらに前記コンピュータに、
第1プリンタが選択された状態で、前記起動指示を前記オペレーティングシステムが受け付けたことによって、前記汎用印刷プログラムから処理が要求された場合に、
前記汎用印刷プログラムを介して、前記第1プリンタが有する第1本体情報を、前記第1プリンタにアクセスして取得する第1取得処理と、
前記情報処理装置と接続されるプリンタであって前記第1プリンタとは別のプリンタである第2プリンタが存在するか否かを判断する判断処理と、
前記判断処理にて存在すると判断された前記第2プリンタが有する第2本体情報を、前記第2プリンタにアクセスして取得する第2取得処理と、
前記第1取得処理にて取得された前記第1本体情報と前記第2取得処理にて取得された前記第2本体情報とを表示する表示処理と、
を実行させる、
ように構成されるサポートプログラム。
続きを表示(約 1,700 文字)
【請求項2】
請求項1に記載するサポートプログラムにおいて、
前記表示処理では、
前記第1取得処理にて取得された前記第1本体情報を、前記第2取得処理にて取得された前記第2本体情報と区別して表示する、
ように構成されるサポートプログラム。
【請求項3】
請求項1または請求項2に記載するサポートプログラムにおいて、
前記表示処理では、
前記第1取得処理にて取得された前記第1本体情報と、前記第2取得処理にて取得された前記第2本体情報と、を同じ画面に表示する、
ように構成されるサポートプログラム。
【請求項4】
請求項1から請求項3のいずれか1つに記載するサポートプログラムにおいて、
前記表示処理では、
前記第1取得処理にて取得された前記第1本体情報と、前記第2取得処理にて取得された前記第2本体情報と、を同じタイミングで表示する、
ように構成されるサポートプログラム。
【請求項5】
請求項1から請求項3のいずれか1つに記載するサポートプログラムにおいて、
前記表示処理では、
前記第2取得処理にて取得された前記第2本体情報について、前記第2本体情報の表示指示を受け付け、前記第2本体情報の表示指示を受け付けたことに応じて前記第2本体情報を表示する、
ように構成されるサポートプログラム。
【請求項6】
請求項1から請求項5のいずれか1つに記載するサポートプログラムにおいて、
前記コンピュータに、
選択されているプリンタの接続情報を前記汎用印刷プログラムから取得し、取得された前記接続情報を前記情報処理装置のメモリに記憶する記憶処理を実行させ、
前記第2取得処理では、前記メモリに前記第1プリンタとは別のプリンタである前記第2プリンタの前記接続情報が記憶されている場合、前記接続情報を読み出して前記第2プリンタにアクセスし、前記第2プリンタが有する前記第2本体情報を取得する、
ように構成されるサポートプログラム。
【請求項7】
請求項6に記載するサポートプログラムにおいて、
前記コンピュータに、
前記起動指示を前記オペレーティングシステムが受け付けたことによって、前記汎用印刷プログラムから処理が要求された場合に、前記記憶処理を実行させる、
ように構成されるサポートプログラム。
【請求項8】
請求項1から請求項5のいずれか1つに記載するサポートプログラムにおいて、
前記コンピュータに、
前記第1プリンタが選択された状態で、前記起動指示を前記オペレーティングシステムが受け付けたことによって、前記汎用印刷プログラムから処理が要求された場合に、
前記情報処理装置が接続されるネットワークに接続されているプリンタを検索する検索処理を実行させ、
前記第2取得処理では、前記第1プリンタとは別のプリンタであって前記検索処理にて検索された前記プリンタである前記第2プリンタにアクセスし、検索された前記第2プリンタが有する前記第2本体情報を取得する、
ように構成されるサポートプログラム。
【請求項9】
請求項1から請求項8のいずれか1つに記載するサポートプログラムにおいて、
前記コンピュータに、
前記第2取得処理にて取得された前記第2本体情報に基づいて、前記第2プリンタが実行可能な処理を特定し、特定された処理を前記第2プリンタに実行させる本体命令を、前記第2プリンタに送信する送信処理を実行させる、
ように構成されるサポートプログラム。
【請求項10】
請求項9に記載するサポートプログラムにおいて、
前記コンピュータに、
前記第2取得処理を実行した後、前記第2プリンタへの前記本体命令の出力指示を受け付ける出力指示受付処理を実行させ、前記出力指示受付処理にて前記出力指示が受け付けられた場合に、前記送信処理を実行させる、
ように構成されるサポートプログラム。
発明の詳細な説明
【技術分野】
【0001】
本明細書に開示される技術分野は、プリンタの制御をサポートするサポートプログラムに関する。
続きを表示(約 2,400 文字)
【背景技術】
【0002】
近年、前述したプリンタドライバを利用せず、オペレーティングシステム(OS)に標準に組み込まれている汎用印刷プログラムによってプリンタを制御する技術が実用化されている。この技術では、OSがプリンタを検知するとOS標準の汎用印刷プログラムとの関連付けを行い、以後、そのプリンタに対する印刷指示を受け付けた場合に、プリンタドライバを用いずに、OS標準の汎用印刷プログラムによる印刷が可能になる。
【0003】
また、OS標準の汎用印刷プログラムにサポートプログラムを関連付け、汎用印刷プログラムとサポートプログラムとの連携によって印刷を実現する構成が知られている。例えば特許文献1には、プリンタキューごとに印刷設定のパラメータを記憶したパラメータリストを備え、印刷指示があった際に、サポートプログラムがパラメータリストからプリンタキューに対応するパラメータを読み出して設定する構成が開示されている。
【先行技術文献】
【特許文献】
【0004】
特開2020-123243号公報
【発明の概要】
【発明が解決しようとする課題】
【0005】
前述したようにOS標準の汎用印刷プログラムを利用する環境において、選択されているプリンタキューごとのパラメータを設定する技術が知られている。しかしながら、OSには複数のプリンタキューが設けられる場合があり、現在選択されているプリンタのプリンタキュー以外のプリンタキューの情報をユーザが確認するにはプリンタの選択を切り替える操作を行う必要があり、ユーザにとって手間である。
【課題を解決するための手段】
【0006】
上述した課題の解決を目的としてなされたサポートプログラムは、情報処理装置のコンピュータによって実行可能であり、前記情報処理装置のオペレーティングシステムにあらかじめ組み込まれた汎用印刷プログラムをサポートするサポートプログラムであって、前記オペレーティングシステムは、選択されたプリンタに対応するプログラムの起動指示を受け付けることが可能であり、前記汎用印刷プログラムには、前記起動指示に応じて処理を要求するプログラムがプリンタに関連付けられており、前記コンピュータに、前記情報処理装置に組み込まれているアプリケーションプログラムから出力された印刷指示であって、前記汎用印刷プログラムに対して画像の印刷をプリンタに行わせる前記印刷指示があったことによって、前記汎用印刷プログラムから処理が要求された場合に、前記汎用印刷プログラムから前記画像を示す画像データを取得し、前記画像データに基づいて印刷コマンドを、選択されたプリンタに送信するための処理を実行させ、さらに前記コンピュータに、第1プリンタが選択された状態で、前記起動指示を前記オペレーティングシステムが受け付けたことによって、前記汎用印刷プログラムから処理が要求された場合に、前記汎用印刷プログラムを介して、前記第1プリンタが有する第1本体情報を、前記第1プリンタにアクセスして取得する第1取得処理と、前記情報処理装置と接続されるプリンタであって前記第1プリンタとは別のプリンタである第2プリンタが存在するか否かを判断する判断処理と、前記判断処理にて存在すると判断された前記第2プリンタが有する第2本体情報を、前記第2プリンタにアクセスして取得する第2取得処理と、前記第1取得処理にて取得された前記第1本体情報と前記第2取得処理にて取得された前記第2本体情報とを表示する表示処理と、を実行させる、ように構成されている。
【0007】
本明細書に開示されるサポートプログラムは、アプリケーションプログラムからの印刷指示とは別に、OSにて起動指示が受け付けられた際、選択されている第1プリンタとは別の第2プリンタが存在すれば、第1プリンタの第1本体情報と第2プリンタの第2本体情報とを取得して、取得した第1本体情報と第2本体情報とを表示する。これにより、ユーザは、選択されている第1プリンタの第1本体情報だけでなく、第2プリンタの第2本体情報についても、プリンタの選択を切り替える操作を行うことなく、起動指示の入力という操作に基づいて簡単に把握できる。従って、ユーザは、例えば、印刷指示を入力する前に、情報処理装置と接続される複数のプリンタの中から、印刷させるプリンタの選択に役立つ情報を簡単に得られる。
【0008】
上記サポートプログラムが組み込まれた情報処理装置、サポートプログラムを格納するコンピュータにて読取可能な記憶媒体、及びサポートプログラムの機能を実現するための制御方法、サポートプログラムとプリンタとを含む印刷システムも、新規で有用である。
【発明の効果】
【0009】
本明細書に開示される技術によれば、OS標準の汎用印刷プログラムが組み込まれた情報処理装置において、複数のプリンタキューの情報をユーザが簡単に確認できる技術が実現される。
【図面の簡単な説明】
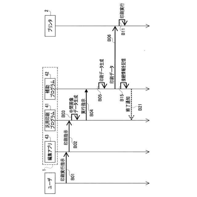
【0010】
PCの電気的構成の概略を示すブロック図である。
補助プログラムによる処理の手順の例を示すシーケンス図である。
デバイス管理指示を受け付ける画面の例を示す説明図である。
詳細管理画面の例を示す説明図である。
プリンタ情報表示処理の手順の例を示すフローチャートである。
プリンタ一覧画面の例を示す説明図である。
プリンタ一覧画面の例を示す説明図である。
印刷の手順の例を示すシーケンス図である。
プリンタ情報表示処理の手順の例を示すフローチャートである。
【発明を実施するための形態】
(【0011】以降は省略されています)
この特許をJ-PlatPat(特許庁公式サイト)で参照する
関連特許
ブラザー工業株式会社
電子機器
1か月前
ブラザー工業株式会社
印刷装置
8日前
ブラザー工業株式会社
水塗布装置
24日前
ブラザー工業株式会社
水塗布装置
24日前
ブラザー工業株式会社
水塗布装置
24日前
ブラザー工業株式会社
水塗布装置
24日前
ブラザー工業株式会社
画像形成装置
29日前
ブラザー工業株式会社
液体吐出装置
17日前
ブラザー工業株式会社
液体吐出装置
10日前
ブラザー工業株式会社
液体吐出装置
8日前
ブラザー工業株式会社
液体吐出装置
1日前
ブラザー工業株式会社
画像形成装置
3日前
ブラザー工業株式会社
液体吐出装置
1日前
ブラザー工業株式会社
液滴吐出ヘッド
10日前
ブラザー工業株式会社
シート給送装置
1か月前
ブラザー工業株式会社
液体吐出ヘッド
8日前
ブラザー工業株式会社
情報処理プログラム
8日前
ブラザー工業株式会社
印刷カセット収納体
2日前
ブラザー工業株式会社
定着装置及び画像形成装置
29日前
ブラザー工業株式会社
工具搬送装置及び工作機械
1日前
ブラザー工業株式会社
タンクおよび液体吐出装置
8日前
ブラザー工業株式会社
プログラムおよび情報処理装置
8日前
ブラザー工業株式会社
ラベルプリンタおよびプログラム
1日前
ブラザー工業株式会社
プログラム、および、データ処理装置
8日前
ブラザー工業株式会社
画像処理装置及び認証処理プログラム
3日前
ブラザー工業株式会社
サポートプログラムおよび印刷システム
17日前
ブラザー工業株式会社
サポートプログラムおよび印刷システム
8日前
ブラザー工業株式会社
印刷管理システム、サーバ、印刷管理方法
24日前
ブラザー工業株式会社
液滴吐出装置、その制御方法及びプログラム
2日前
ブラザー工業株式会社
プログラム、電子装置、方法、及び印刷システム
22日前
ブラザー工業株式会社
コンピュータプログラム、および、データ処理装置
8日前
ブラザー工業株式会社
液体吐出装置用ヘッド及びこれを備える液体吐出装置
8日前
ブラザー工業株式会社
情報処理プログラム、情報処理装置、及び情報処理方法
24日前
ブラザー工業株式会社
画像処理装置
1日前
ブラザー工業株式会社
画像形成装置
16日前
ブラザー工業株式会社
情報処理装置
1日前
続きを見る
他の特許を見る