TOP
|
特許
|
意匠
|
商標
特許ウォッチ
Twitter
他の特許を見る
公開番号
2025152525
公報種別
公開特許公報(A)
公開日
2025-10-10
出願番号
2024054444
出願日
2024-03-28
発明の名称
画像形成装置
出願人
ブラザー工業株式会社
代理人
弁理士法人第一テクニカル国際特許事務所
主分類
B41J
29/38 20060101AFI20251002BHJP(印刷;線画機;タイプライター;スタンプ)
要約
【課題】契約の有無に応じ、使用可能な消耗品の種別をサーバを介すことなく情報端末にて表示する。
【解決手段】契約消耗品を使用できる契約モードと、契約消耗品を使用できず、通常消耗品を使用できる通常モードとを切り替え可能なプロセッサ210を備え、プロセッサ210は、複合機200と通信可能なモバイル端末300からの消耗品情報の要求に応じて、プロセッサ210が通常モードである場合は通常消耗品の型番情報を表す消耗品情報をモバイル端末300に表示させ、プロセッサ210が契約モードである場合は契約消耗品が使用可能であることを表す消耗品情報をモバイル端末300に表示させる処理と、を実行する。
【選択図】図5
特許請求の範囲
【請求項1】
画像形成装置であって、
契約消耗品を使用できる契約モードと、契約消耗品を使用できず、通常消耗品を使用できる通常モードとを切り替え可能な制御部
を備え、
前記制御部は、
前記画像形成装置と通信可能な情報端末からのリクエストに応じて、前記制御部が前記通常モードである場合は前記通常消耗品の識別情報を表す第1情報を前記情報端末に表示させ、
前記制御部が前記契約モードである場合は前記契約消耗品が使用可能であることを表す第2情報を前記情報端末に表示させる処理と、
を実行することを特徴とする画像形成装置。
続きを表示(約 1,300 文字)
【請求項2】
前記制御部は、
前記制御部が前記通常モードの場合は、前記第1情報として前記通常消耗品の識別情報を前記情報端末に送信し、
前記制御部が前記契約モードの場合は、前記情報端末に前記第2情報として、前記契約消耗品の識別情報、若しくは、前記通常消耗品の識別情報を表示しない旨を表すステータス情報、若しくは、契約消耗品が使用可能であることを表す第1メッセージ情報、を前記情報端末に送信する
ことを特徴とする請求項1記載の画像形成装置。
【請求項3】
前記第1メッセージ情報は、
前記契約消耗品が発送されるのを待つよう促すメッセージを含むことを特徴とする請求項2記載の画像形成装置。
【請求項4】
前記第1メッセージ情報は、
前記契約モードでは前記通常消耗品を使えない旨を報知するメッセージを含むことを特徴とする請求項2記載の画像形成装置。
【請求項5】
前記制御部は、
前記情報端末に前記第1情報又は前記第2情報として、当該画像形成装置で使用可能な前記通常消耗品及び前記契約消耗品すべての識別情報と、前記制御部が前記通常モード及び前記契約モードのいずれであるかを表すモード情報と、を前記情報端末に送信する
ことを特徴とする請求項1記載の画像形成装置。
【請求項6】
前記制御部は、さらに、
前記契約モードの場合に対応する第2メッセージ情報を前記情報端末に送信する
ことを特徴とする請求項5記載の画像形成装置。
【請求項7】
前記第2メッセージ情報は、
前記契約モードでは前記通常消耗品を使えない旨を報知するメッセージを含むことを特徴とする請求項6記載の画像形成装置。
【請求項8】
前記通常消耗品又は前記契約消耗品に備えられた記憶媒体と通信可能な通信部をさらに有し、
前記制御部は、さらに、
前記制御部が前記契約モードの場合は、前記通信部を介し前記契約消耗品の前記記憶媒体に記憶されている第1媒体内メッセージ情報を取得する処理を実行し、
前記制御部が前記通常モードの場合は前記情報端末に前記第1情報として前記通常消耗品の識別情報を送信し、前記制御部が前記契約モードの場合は、前記第2情報として、前記取得した前記第1媒体内メッセージ情報を前記情報端末に送信する
ことを特徴とする請求項1記載の画像形成装置。
【請求項9】
前記第1媒体内メッセージ情報は、
前記契約消耗品が発送されるのを待つよう促すメッセージを含むことを特徴とする請求項8記載の画像形成装置。
【請求項10】
前記制御部は、さらに、
前記制御部が前記通常モードの場合に、前記通信部を介し前記通常消耗品の前記記憶媒体に記憶されている第2媒体内メッセージ情報を取得する処理を実行し、前記取得した前記第2媒体内メッセージ情報を前記情報端末に送信する
ことを特徴とする請求項8記載の画像形成装置。
(【請求項11】以降は省略されています)
発明の詳細な説明
【技術分野】
【0001】
本開示は、情報端末と通信可能な画像形成装置に関する。
続きを表示(約 1,400 文字)
【背景技術】
【0002】
従来、例えば特許文献1に記載のように、インクカートリッジの型番を表示する機能を備えた複合機において、所定の契約が成立した場合は、当該契約に対応した契約カートリッジの型番を表示部に表示させる技術が知られている。
【先行技術文献】
【特許文献】
【0003】
特開2022-57198号公報
【発明の概要】
【発明が解決しようとする課題】
【0004】
特許文献1に記載の従来技術では、情報端末とサーバとのやり取り、及び、複合機とサーバとのやり取り、に応じて、カートリッジの型番表示の切り替えが行われる。しかしながら、セキュリティやコスト低減の観点から、サーバを介さないシステム構成が望まれる場合もある。
【0005】
本開示の目的は、契約の有無に応じ、使用可能な消耗品の種別をサーバを介すことなく情報端末にて表示できるようにする画像形成装置を提供することにある。
【課題を解決するための手段】
【0006】
上記目的を達成するために、本開示は、画像形成装置であって、契約消耗品を使用できる契約モードと、契約消耗品を使用できず、通常消耗品を使用できる通常モードとを切り替え可能な制御部を備え、前記制御部は、前記画像形成装置と通信可能な情報端末からのリクエストに応じて、前記制御部が前記通常モードである場合は前記通常消耗品の識別情報を表す第1情報を前記情報端末に表示させ、前記制御部が前記契約モードである場合は前記契約消耗品が使用可能であることを表す第2情報を前記情報端末に表示させる処理と、を実行する。
【0007】
本開示の画像形成装置においては、情報端末からのリクエストに応じて、制御部が通常モードである場合は情報端末に通常消耗品の識別情報を表す第1情報が表示させる。制御部が契約モードである場合は情報端末に契約消耗品が使用可能であることを表す第2情報を表示させる。
【0008】
以上の結果、本開示によれば、サーバを介すことなく、契約の有無に応じ、使用可能な消耗品の種別を情報端末にて表示することができる。
【発明の効果】
【0009】
本開示によれば、契約の有無に応じ、使用可能な消耗品の種別をサーバを介すことなく情報端末にて表示できる。
【図面の簡単な説明】
【0010】
本開示の一実施形態による印刷サービス提供システムの全体概略構成を表す機能ブロック図である。
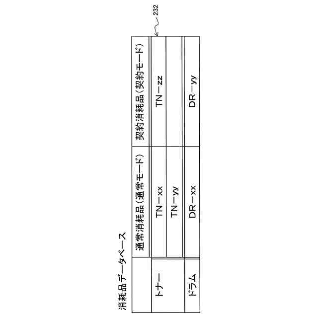
消耗品データベースを模式的に表す図である。
契約モードである場合のモバイル端末における消耗品情報の表示例を表す図である。
通常モードである場合のモバイル端末における消耗品情報の表示例を表す図である。
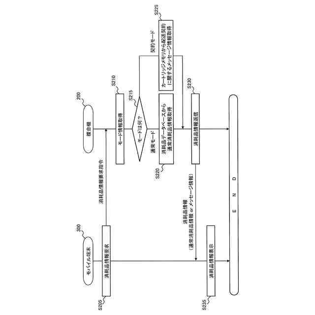
第1実施形態の場合のモバイル端末と複合機により実行される処理を表すシーケンスフローである。
契約モードであって型番情報を表示しない場合のモバイル端末におけるステータス情報及びメッセージの表示例を表す図である。
第2実施形態の場合のモバイル端末と複合機により実行される処理を表すシーケンスフローである。
第3実施形態の場合のモバイル端末と複合機により実行される処理を表すシーケンスフローである。
【発明を実施するための形態】
(【0011】以降は省略されています)
この特許をJ-PlatPat(特許庁公式サイト)で参照する
関連特許
ブラザー工業株式会社
印刷装置
8日前
ブラザー工業株式会社
画像形成装置
3日前
ブラザー工業株式会社
液体吐出装置
1日前
ブラザー工業株式会社
液体吐出装置
1日前
ブラザー工業株式会社
液体吐出装置
8日前
ブラザー工業株式会社
液体吐出ヘッド
8日前
ブラザー工業株式会社
情報処理プログラム
8日前
ブラザー工業株式会社
印刷カセット収納体
2日前
ブラザー工業株式会社
タンクおよび液体吐出装置
8日前
ブラザー工業株式会社
工具搬送装置及び工作機械
1日前
ブラザー工業株式会社
プログラムおよび情報処理装置
8日前
ブラザー工業株式会社
ラベルプリンタおよびプログラム
1日前
ブラザー工業株式会社
画像処理装置及び認証処理プログラム
3日前
ブラザー工業株式会社
プログラム、および、データ処理装置
8日前
ブラザー工業株式会社
サポートプログラムおよび印刷システム
8日前
ブラザー工業株式会社
液滴吐出装置、その制御方法及びプログラム
2日前
ブラザー工業株式会社
コンピュータプログラム、および、データ処理装置
8日前
ブラザー工業株式会社
液体吐出装置用ヘッド及びこれを備える液体吐出装置
8日前
ブラザー工業株式会社
画像処理装置
1日前
ブラザー工業株式会社
情報処理装置
1日前
ブラザー工業株式会社
サポートプログラム
8日前
ブラザー工業株式会社
サポートプログラム
1日前
ブラザー工業株式会社
サポートプログラムおよび印刷システム
1日前
ブラザー工業株式会社
端末装置のためのコンピュータプログラム、端末装置、及び、端末装置を制御するための方法
8日前
ブラザー工業株式会社
端末装置のためのコンピュータプログラム、端末装置、及び、端末装置を制御するための方法
8日前
個人
印鑑
1日前
個人
箔熱転写装置
2か月前
シヤチハタ株式会社
印判
6か月前
東レ株式会社
凸版印刷版原版
11か月前
シヤチハタ株式会社
反転式印判
11か月前
キヤノン株式会社
記録装置
2か月前
三光株式会社
感熱記録材料
8か月前
キヤノン株式会社
電子機器
29日前
独立行政法人 国立印刷局
印刷物
8か月前
株式会社リコー
印刷システム
2か月前
株式会社リコー
画像形成装置
2か月前
続きを見る
他の特許を見る