TOP
|
特許
|
意匠
|
商標
特許ウォッチ
Twitter
他の特許を見る
10個以上の画像は省略されています。
公開番号
2025153296
公報種別
公開特許公報(A)
公開日
2025-10-10
出願番号
2024055693
出願日
2024-03-29
発明の名称
画像形成装置
出願人
ブラザー工業株式会社
代理人
弁理士法人第一テクニカル国際特許事務所
主分類
G03G
21/00 20060101AFI20251002BHJP(写真;映画;光波以外の波を使用する類似技術;電子写真;ホログラフイ)
要約
【課題】消耗品のメモリからの読み出し時に化けた数字に基づき、誤った制御が行われないようにする。
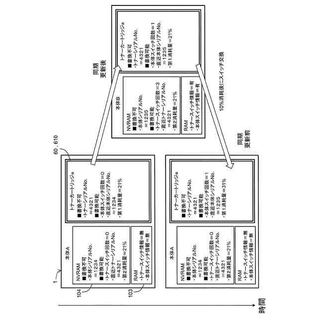
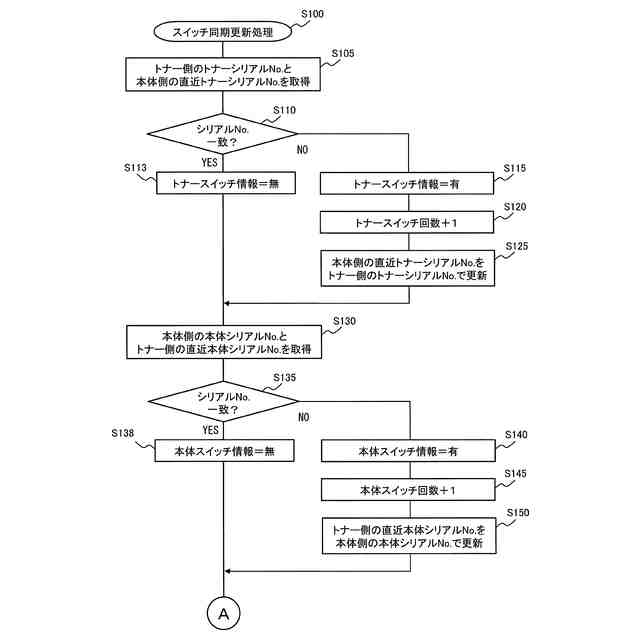
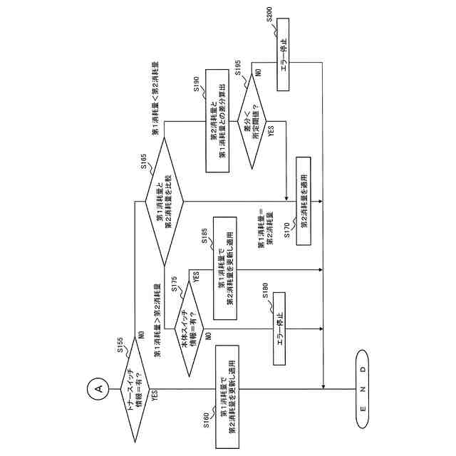
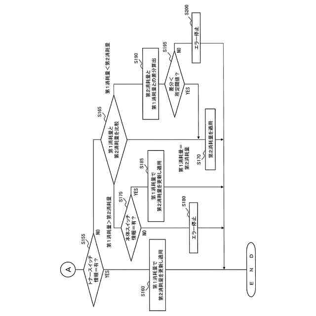
【解決手段】ステップS110で、トナーメモリ610に記憶されているトナーシリアルNo.とNVRAM104に書き込まれた本体シリアルNo.とが一致すると判定され、ステップS135で、NVRAM104に記憶されている本体シリアルNo.と、トナーメモリ610に書き込まれた本体シリアルNo.とが一致すると判定され、ステップS165で、第1消耗量が第2消耗量よりも大きいと判定された場合に、ステップS180でエラー停止を実行する。
【選択図】図9
特許請求の範囲
【請求項1】
消耗品であって、消耗品識別情報と、前記消耗品の消耗量を表す第1消耗量とを記憶する消耗品メモリを有する消耗品と、
前記消耗品が着脱可能な本体と、
本体識別情報と、前記消耗品の消耗量を表す第2消耗量とを記憶する本体メモリと、
制御部と、
を備える画像形成装置であって、
前記制御部は、
前記消耗品メモリに記憶されている消耗品識別情報を前記本体メモリに書き込む消耗品識別情報書込処理と、
前記本体メモリに記憶されている本体識別情報を前記消耗品メモリに書き込む本体識別情報書込処理と、
前記消耗品メモリに記憶されている消耗品識別情報と、前記消耗品識別情報書込処理により前記本体メモリに書き込まれた消耗品識別情報とが一致するか否かを判定する消耗品識別情報判定処理と、
前記本体メモリに記憶されている本体識別情報と、前記本体識別情報書込処理により前記消耗品メモリに書き込まれた本体識別情報とが一致するか否かを判定する本体識別情報判定処理と、
前記消耗品メモリに記憶されている第1消耗量と、前記本体メモリに記憶されている第2消耗量とを比較する比較処理と、を実行し、
前記制御部は、さらに、
前記消耗品識別情報判定処理で、前記消耗品メモリに記憶されている消耗品識別情報と前記消耗品識別情報書込処理により前記本体メモリに書き込まれた消耗品識別情報とが一致すると判定され、
前記本体識別情報判定処理で、前記本体メモリに記憶されている本体識別情報と、前記本体識別情報書込処理により前記消耗品メモリに書き込まれた本体識別情報とが一致すると判定され、
前記比較処理で、前記第1消耗量が前記第2消耗量よりも大きいと判定された場合に、第1エラー処理
を実行する
ことを特徴とする画像形成装置。
続きを表示(約 1,500 文字)
【請求項2】
前記制御部は、さらに、
前記消耗品メモリに記憶されている前記第1消耗量を読み取る消耗量読取処理と、
前記消耗量読取処理で読み取った前記第1消耗量を前記第2消耗量として前記本体メモリに書き込む消耗量書込処理と、
を実行する
ことを特徴とする請求項1に記載の画像形成装置。
【請求項3】
前記制御部は、さらに、
前記消耗品識別情報判定処理により、前記消耗品メモリに記憶されている消耗品識別情報と前記消耗品識別情報書込処理により前記本体メモリに記憶された消耗品識別情報とが一致しないと判定された場合には、消耗品スイッチ情報を前記本体メモリに書き込む消耗品スイッチ情報書込処理と、
前記本体識別情報判定処理により、前記本体メモリに記憶されている本体識別情報と、前記本体識別情報書込処理により前記消耗品メモリに記憶された本体識別情報とが一致しないと判定された場合には、本体スイッチ情報を前記消耗品メモリに書き込む本体スイッチ情報書込処理と、
を実行する
ことを特徴とする請求項2に記載の画像形成装置。
【請求項4】
前記制御部は、さらに、
前記本体メモリに、前記消耗品スイッチ情報が記憶されているか否かを判定する消耗品スイッチ判定処理を実行し、
前記制御部は、さらに、
前記消耗品スイッチ判定処理で、前記消耗品スイッチ情報が記憶されていると判定された場合に、前記比較処理を実行する
ことを特徴とする請求項3に記載の画像形成装置。
【請求項5】
前記制御部は、さらに、
前記比較処理で、前記第1消耗量が前記第2消耗量よりも大きいと判定された場合に、前記消耗品メモリに、前記本体スイッチ情報が記憶されているか否かを判定する本体スイッチ判定処理を実行し、
前記制御部は、さらに、
前記本体スイッチ判定処理で、前記本体スイッチ情報が記憶されていないと判定された場合に、前記第1エラー処理を実行する
ことを特徴とする請求項4に記載の画像形成装置。
【請求項6】
前記制御部は、
前記第1エラー処理で、前記画像形成装置による印刷を禁止する
ことを特徴とする請求項1に記載の画像形成装置。
【請求項7】
前記制御部は、さらに、
前記比較処理で、前記第1消耗量が前記第2消耗量よりも小さいと判定された場合に、前記第1消耗量と前記第2消耗量との差が、閾値以上であるか否かを判定する消耗量判定処理と、
前記消耗量判定処理で、前記差が前記閾値以上であると判定された場合に、第2エラー処理
を実行する
ことを特徴とする請求項5に記載の画像形成装置。
【請求項8】
前記制御部は、
前記第2エラー処理で、前記画像形成装置による印刷を禁止する
ことを特徴とする請求項7記載の画像形成装置。
【請求項9】
前記制御部は、
前記消耗品メモリから前記消耗品識別情報を読み取る消耗品識別情報読取処理
を実行する
ことを特徴とする請求項1又は請求項7記載の画像形成装置。
【請求項10】
前記本体は、
前記消耗品が装着されることを許容する開口を開閉するカバーを有し、
前記制御部は、
前記カバーが開閉された場合、または、前記画像形成装置の電源がONされた場合に、前記消耗品識別情報判定処理を実行する
ことを特徴とする請求項9記載の画像形成装置。
(【請求項11】以降は省略されています)
発明の詳細な説明
【技術分野】
【0001】
本開示は、本体に消耗品が装着される画像形成装置に関する。
続きを表示(約 1,900 文字)
【背景技術】
【0002】
特許文献1には、消耗品IC内のシリアル情報と、本体メモリ内の消耗品に関するシリアル情報とが一致した場合に、消耗品IC内のカウンタ値を読み出す技術が開示されている。読み出された消耗品IC内のカウンタ値は、本体メモリ内のカウンタ値と比較される。その後、読み出された消耗品IC内のカウンタ値と本体メモリ内のカウンタ値との比較結果に応じて、画像形成装置にて所定の制御が実行される。
【先行技術文献】
【特許文献】
【0003】
特開2021-85888号公報
【発明の概要】
【発明が解決しようとする課題】
【0004】
例えば消耗品ICからカウンタ値が読み出されるときに、読み出されたカウンタ値に化けが生じるおそれがある。この場合、化けた状態のカウンタ値を使用すると、画像形成装置にて正しい制御が実行できないおそれがある。
【0005】
本開示の目的は、化けた状態のカウンタ値を使用してしまい、画像形成装置にて正しい制御が実行できないおそれを抑制することができる画像形成装置を提供することにある。
【課題を解決するための手段】
【0006】
目的を達成するために、本開示の画像形成装置は、消耗品であって、消耗品識別情報と、前記消耗品の消耗量を表す第1消耗量とを記憶する消耗品メモリを有する消耗品と、前記消耗品が着脱可能な本体と、本体識別情報と、前記消耗品の消耗量を表す第2消耗量とを記憶する本体メモリと、制御部と、を備える画像形成装置であって、前記制御部は、前記消耗品メモリに記憶されている消耗品識別情報を前記本体メモリに書き込む消耗品識別情報書込処理と、前記本体メモリに記憶されている本体識別情報を前記消耗品メモリに書き込む本体識別情報書込処理と、前記消耗品メモリに記憶されている消耗品識別情報と、前記消耗品識別情報書込処理により前記本体メモリに書き込まれた消耗品識別情報とが一致するか否かを判定する消耗品識別情報判定処理と、前記本体メモリに記憶されている本体識別情報と、前記本体識別情報書込処理により前記消耗品メモリに書き込まれた本体識別情報とが一致するか否かを判定する本体識別情報判定処理と、前記消耗品メモリに記憶されている第1消耗量と、前記本体メモリに記憶されている第2消耗量とを比較する比較処理と、を実行し、前記制御部は、さらに、前記消耗品識別情報判定処理で、前記消耗品メモリに記憶されている消耗品識別情報と前記消耗品識別情報書込処理により前記本体メモリに書き込まれた消耗品識別情報とが一致すると判定され、前記本体識別情報判定処理で、前記本体メモリに記憶されている本体識別情報と、前記本体識別情報書込処理により前記消耗品メモリに書き込まれた本体識別情報とが一致すると判定され、前記比較処理で、前記第1消耗量が前記第2消耗量よりも大きいと判定された場合に、第1エラー処理を実行する。
【0007】
本開示においては、本体に本体メモリが備えられ、本体に着脱可能な消耗品には消耗品メモリが備えられている。本体メモリには、画像形成装置の個体に対応した本体識別情報と、消耗品の消耗量を表す第2消耗量が記憶されている。消耗品メモリには、消耗品の個体に対応した消耗品識別情報と、消耗品の消耗量を表す第1消耗量が記憶されている。
【0008】
一方、消耗品は、本体に着脱可能であるため、1つの画像形成装置の本体から取り外され、他の画像形成装置の本体に装着されて使用される場合があり得る。この場合、画像形成装置と消耗品との組み合わせがスイッチされることになる。これに対応して、制御部は、消耗品識別情報書込処理及び本体識別情報書込処理を行う。
【0009】
消耗品識別情報書込処理では、消耗品メモリに記憶されている消耗品識別情報を本体メモリに書き込む。本体識別情報書込処理では、本体メモリに記憶されている本体識別情報を消耗品メモリに書き込む。
【0010】
これにより、消耗品識別情報判定処理で本体メモリと消耗品メモリのそれぞれで記憶されている消耗品識別情報が一致すると判定され、かつ、本体識別情報判定処理で本体メモリと消耗品メモリのそれぞれで記憶されている本体識別情報が一致すると判定された場合には、一般的に画像形成装置と消耗品との組み合わせがスイッチされておらず、本来は第1消耗量と第2消耗量とが同じ値のはずである。
(【0011】以降は省略されています)
この特許をJ-PlatPat(特許庁公式サイト)で参照する
関連特許
ブラザー工業株式会社
印刷装置
9日前
ブラザー工業株式会社
液体吐出装置
18日前
ブラザー工業株式会社
液体吐出装置
11日前
ブラザー工業株式会社
液体吐出装置
2日前
ブラザー工業株式会社
液体吐出装置
2日前
ブラザー工業株式会社
液体吐出装置
9日前
ブラザー工業株式会社
画像形成装置
4日前
ブラザー工業株式会社
液滴吐出ヘッド
11日前
ブラザー工業株式会社
液体吐出ヘッド
9日前
ブラザー工業株式会社
印刷カセット収納体
3日前
ブラザー工業株式会社
情報処理プログラム
9日前
ブラザー工業株式会社
工具搬送装置及び工作機械
2日前
ブラザー工業株式会社
タンクおよび液体吐出装置
9日前
ブラザー工業株式会社
プログラムおよび情報処理装置
9日前
ブラザー工業株式会社
ラベルプリンタおよびプログラム
2日前
ブラザー工業株式会社
プログラム、および、データ処理装置
9日前
ブラザー工業株式会社
画像処理装置及び認証処理プログラム
4日前
ブラザー工業株式会社
サポートプログラムおよび印刷システム
9日前
ブラザー工業株式会社
サポートプログラムおよび印刷システム
18日前
ブラザー工業株式会社
液滴吐出装置、その制御方法及びプログラム
3日前
ブラザー工業株式会社
コンピュータプログラム、および、データ処理装置
9日前
ブラザー工業株式会社
液体吐出装置用ヘッド及びこれを備える液体吐出装置
9日前
ブラザー工業株式会社
画像処理装置
2日前
ブラザー工業株式会社
情報処理装置
2日前
ブラザー工業株式会社
画像形成装置
17日前
ブラザー工業株式会社
サポートプログラム
2日前
ブラザー工業株式会社
サポートプログラム
9日前
ブラザー工業株式会社
サポートプログラムおよび印刷システム
2日前
ブラザー工業株式会社
端末装置のためのコンピュータプログラム、端末装置、及び、端末装置を制御するための方法
9日前
ブラザー工業株式会社
端末装置のためのコンピュータプログラム、端末装置、及び、端末装置を制御するための方法
9日前
個人
表示装置
1か月前
個人
雨用レンズカバー
1か月前
株式会社シグマ
絞りユニット
2か月前
日本精機株式会社
プロジェクタ
2日前
キヤノン株式会社
撮像装置
2か月前
キヤノン株式会社
撮像装置
1か月前
続きを見る
他の特許を見る