TOP
|
特許
|
意匠
|
商標
特許ウォッチ
Twitter
他の特許を見る
10個以上の画像は省略されています。
公開番号
2025152453
公報種別
公開特許公報(A)
公開日
2025-10-09
出願番号
2024054356
出願日
2024-03-28
発明の名称
結紮装置
出願人
ブラザー工業株式会社
代理人
個人
,
個人
主分類
A61B
17/12 20060101AFI20251002BHJP(医学または獣医学;衛生学)
要約
【課題】切断動作により装置内に残存した糸が、次の結紮動作の妨げとなる可能性を低減できる結紮装置を提供する。
【解決手段】結紮装置は、第1顎3Aと、第1顎3Aに対して相対移動する第2顎3Bとを有し、第1顎3Aと第2顎3Bとの間で被結紮体を保持する顎部材3と、第1顎3A及び第2顎3Bを通過する糸の一部を把持した状態で、顎部材3から離隔する後方に移動する再配置把持部材4Bと、再配置把持部材4Bの移動時に通過する移動軌跡Uと交差し、且つ上下方向と平行な回転軸を中心に回転して糸を巻き取るリール部材73を少なくとも有し、移動軌跡Uから糸を離隔させる離隔ユニットとを備える。
【選択図】図2
特許請求の範囲
【請求項1】
第1顎と、前記第1顎に対して相対移動する第2顎とを有し、前記第1顎と前記第2顎との間で被結紮体を保持する顎部材と、
前記第1顎及び前記第2顎を通過する糸の一部を把持した状態で、前記顎部材から離隔する第1方向に移動する把持部材と、
前記把持部材の移動時に通過する移動軌跡と交差し、且つ前記第1方向と交差する第2方向と平行な回転軸を中心に回転して前記糸を巻き取るリール部材を少なくとも有し、前記移動軌跡から前記糸を離隔させる離隔ユニットと、
を備えたことを特徴とする結紮装置。
続きを表示(約 1,300 文字)
【請求項2】
前記リール部材は、
前記糸と接触し、前記回転軸に対して傾斜する傾斜部を有する
ことを特徴とする請求項1に記載の結紮装置。
【請求項3】
前記顎部材に設けられ、前記糸のうち前記被結紮体に結紮された部分と前記把持部材に把持された部分との間に亘って延びる部分を切断する巻取糸カッターを更に有し、
前記巻取糸カッターは、
前記顎部材により保持される前記被結紮体が位置する保持領域と前記リール部材との間、且つ、前記第1方向及び前記第2方向と交差する第3方向において、前記リール部材と重なる位置に配置され、
前記第2方向に沿って延びる刃を有する
ことを特徴とする請求項1に記載の結紮装置。
【請求項4】
前記リール部材は前記顎部材の内部に設けられたことを特徴とする請求項3に記載の結紮装置。
【請求項5】
前記離隔ユニットは、
前記第2方向において前記把持部材の前記移動軌跡から離隔した位置に配置され、前記リール部材により巻き取られた前記糸を収容する第1収容部を有し、
前記リール部材の一部は、前記第1収容部に収容され、
前記結紮装置が前記被結紮体を糸で結紮する結紮動作を少なくとも2回行った場合において前記リール部材に巻き取られる前記糸の総体積よりも、前記第1収容部の容積の方が大きいことを特徴とする請求項1に記載の結紮装置。
【請求項6】
前記第1収容部の前記第2方向に沿った側面のうち、前記第2方向において前記リール部材と重複する位置に、前記第2方向と交差する方向に突出する突出部が設けられたことを特徴とする請求項5に記載の結紮装置。
【請求項7】
前記第1収容部の前記第2方向に沿った側面のうち、前記第2方向において前記リール部材と重複する位置に、前記第2方向と平行に延びる軸を中心として旋回する螺旋状の溝が設けられたことを特徴とする請求項5に記載の結紮装置。
【請求項8】
前記顎部材に着脱されるカートリッジを更に備え、
前記リール部材は、前記カートリッジと一体に形成されることを特徴とする請求項1に記載の結紮装置。
【請求項9】
前記顎部材に着脱されるカートリッジを更に備え、
前記カートリッジは、
前記第1顎及び前記第2顎に向けて繰り出される前記糸を収容する第2収容部を有する
ことを特徴とする請求項1に記載の結紮装置。
【請求項10】
前記第2収容部から繰り出された前記糸を保持し、前記第1顎に設けられた貫通孔に向けて移動することで前記糸を案内する案内部材を更に備え、
前記把持部材は、
前記案内部材により案内された前記糸を把持した状態で、前記第1顎の内部を前記第1方向に移動し、
前記カートリッジは、
前記第1方向において前記貫通孔よりも下流、且つ前記リール部材よりも上流に、前記把持部材の前記移動軌跡に向けて突出する刃を有する把持糸カッターを有することを特徴とする請求項9に記載の結紮装置。
(【請求項11】以降は省略されています)
発明の詳細な説明
【技術分野】
【0001】
本発明は、被結紮体を糸により結紮する結紮装置に関する。
続きを表示(約 3,100 文字)
【背景技術】
【0002】
被結紮体を糸により結紮する結紮装置が提案されている。特許文献1に記載の結紮装置は、被結紮体の周囲に糸を巻き付けた状態で、糸のループを被結紮体に押し当てる。次に結紮装置は、ループを締めて結び目を形成させることにより、被結紮体を結紮する。次に結紮装置は、カッターにより糸を切断する。
【先行技術文献】
【特許文献】
【0003】
特開平8-252257号公報
【発明の概要】
【発明が解決しようとする課題】
【0004】
結紮装置において、結紮動作後の切断動作により被結紮体の側から切り離された糸が、結紮装置の内部に残存する場合がある。この場合、残存する糸が次の結紮動作の妨げとなる可能性がある。
【0005】
本発明の目的は、切断動作により装置内に残存した糸が、次の結紮動作の妨げとなる可能性を低減できる結紮装置を提供することである。
【課題を解決するための手段】
【0006】
本発明に係る結紮装置は、第1顎と、前記第1顎に対して相対移動する第2顎とを有し、前記第1顎と前記第2顎との間で被結紮体を保持する顎部材と、前記第1顎及び前記第2顎を通過する糸の一部を把持した状態で、前記顎部材から離隔する第1方向に移動する把持部材と、前記把持部材の移動時に通過する移動軌跡と交差し、且つ前記第1方向と交差する第2方向と平行な回転軸を中心に回転して前記糸を巻き取るリール部材を少なくとも有し、前記移動軌跡から前記糸を離隔させる離隔ユニットと、を備えたことを特徴とする。
【0007】
本発明によれば、結紮装置は、結紮動作後の切断動作により装置内に糸が残存する場合において、残存する糸を把持部材の移動軌跡から離隔させる。この場合、結紮装置は、次の結紮動作において、残存する糸が把持部材の移動を妨げる可能性を軽減できる。
【図面の簡単な説明】
【0008】
結紮装置1の斜視図、及び、装着部28からカートリッジ7が脱離した状態を示す部分拡大斜視図である。
図1のII-II線を矢印方向から視た断面図、及び、カートリッジ7が脱離した装着部28の状態を示す部分拡大断面図である。
図1のIII-III線を矢印方向から視た断面図、及び、カートリッジ7が脱離した装着部28の状態を示す部分拡大断面図である。
図1のIV-IV線を矢印方向から視た断面図である。
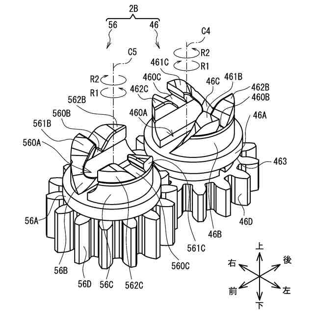
ループ形成部2Bの斜視図である。
カートリッジ7の斜視図である。
カートリッジ7の右側面図である。
カートリッジ7の正面図である。
カートリッジ7の底面図である。
図6のX-X線を矢印方向から視た断面図である。
図7のXI-XI線を矢印方向から視た断面図である。
図7のXII-XII線を矢印方向から視た断面図である。
把持体4、プッシャ5、及び駆動ユニット8の斜視図である。
駆動ユニット8の背面図である。
結紮把持部材4A及び第1駆動機構8Aの斜視図である。
再配置把持部材4B及び第2駆動機構8Bの斜視図である。
プッシャ5及び第3駆動機構8Cの斜視図である。
第1ロッド41、43の斜視図である。
第1ロッド41、43の側面図である。
第2ロッド42、44の斜視図である。
第2ロッド42、44の側面図である。
図21のXXII-XXII線を矢印方向から視た断面図である。
第1ロッド41、43及び第2ロッド42、44の斜視図である。
解放状態における第1ロッド41、43及び第2ロッド42、44の側面図である。
半把持状態における第1ロッド41、43及び第2ロッド42、44の側面図である。
全把持状態における第1ロッド41、43及び第2ロッド42、44の側面図である。
案内部材6の平面図である。
案内部材6の斜視図である。
ロボットR、及び結紮装置1の電気的構成を示すブロック図である。
結紮工程を示すフローチャートである。
結紮工程を示すフローチャートであって、図30の続きである。
締め付け工程を示すフローチャートである。
モータドライバFb1から取得される電流値、電流値の一回微分値、及び、電流値の二回微分値を示すグラフである。
結紮工程の初期状態を示す図である。
結紮工程の第1工程を示す図である。
結紮工程の第2工程を示す図である。
結紮工程の第3工程を示す図である。
結紮工程の第4工程を示す図である。
結紮工程の第5工程を示す図である。
結紮工程の第6工程を示す図である。
結紮工程の第7工程を示す図である。
結紮工程の第9工程を示す図である。
結紮工程の第10工程を示す図である。
結紮工程の第11工程を示す図である。
結紮工程の第12工程を示す図である。
結紮工程の第13工程を示す図である。
糸Tが巻かれた被結紮体Sの状態を示す図である。
結紮工程の第14工程を示す図である。
糸Tが巻かれた被結紮体Sの状態を示す図である。
結紮工程の第15工程を示す図である。
結紮工程の第16工程を示す図である。
結紮工程の第17工程を示す図である。
リール部材73に沿って糸T1が移動する様子を示す図である。
リール部材73に糸T1が巻き付けられる様子を示す図である。
結紮工程の第18工程を示す図である。
結紮工程の第19工程を示す図である。
再配置工程を示すフローチャートである。
再配置工程の第1工程を示す図である。
再配置工程の第2工程を示す図である。
再配置工程の第3工程を示す図である。
再配置工程の第4工程を示す図である。
再配置工程の第5工程を示す図である。
再配置工程の第6工程を示す図である。
再配置工程の第7工程を示す図である。
第1リール部材731を示す図である。
第2リール部材732を示す図である。
第3リール部材733を示す図である。
第4リール部材734を示す図である。
第5リール部材735を示す図である。
第6リール部材736を示す図である。
第7リール部材737を示す図である。
【発明を実施するための形態】
【0009】
本発明に係る結紮装置1の一実施形態について、図面を参照して説明する。参照する図面は、本発明が採用しうる技術的特徴を説明するために用いられるものである。記載されている装置の構成等は、それのみに限定する趣旨ではなく、単なる説明例である。図1の上方、下方、左下方、右上方、右下方、及び左上方が、それぞれ、結紮装置1の上方、下方、前方、後方、左方、及び右方である。
【0010】
<結紮装置1の概要>
結紮装置1は、被結紮体Sを糸Tで結紮するための装置である。被結紮体Sは、一例として生体の一部、例えば血管等である。結紮装置1は、低侵襲技術を用いて手術を行うための手術支援用のロボットRに接続されて使用される。
(【0011】以降は省略されています)
この特許をJ-PlatPat(特許庁公式サイト)で参照する
関連特許
ブラザー工業株式会社
印刷装置
1か月前
ブラザー工業株式会社
スキャナ
1か月前
ブラザー工業株式会社
電子機器
25日前
ブラザー工業株式会社
印刷装置
1か月前
ブラザー工業株式会社
印刷装置
1日前
ブラザー工業株式会社
スキャナ
1か月前
ブラザー工業株式会社
水塗布装置
17日前
ブラザー工業株式会社
水塗布装置
17日前
ブラザー工業株式会社
水塗布装置
17日前
ブラザー工業株式会社
水塗布装置
17日前
ブラザー工業株式会社
画像形成装置
1か月前
ブラザー工業株式会社
画像形成装置
1か月前
ブラザー工業株式会社
画像形成装置
1か月前
ブラザー工業株式会社
画像形成装置
1か月前
ブラザー工業株式会社
液体吐出装置
10日前
ブラザー工業株式会社
液体吐出装置
3日前
ブラザー工業株式会社
画像形成装置
1か月前
ブラザー工業株式会社
画像形成装置
22日前
ブラザー工業株式会社
画像形成装置
1か月前
ブラザー工業株式会社
液体吐出装置
1日前
ブラザー工業株式会社
画像形成装置
1か月前
ブラザー工業株式会社
液滴吐出ヘッド
3日前
ブラザー工業株式会社
液体吐出ヘッド
1日前
ブラザー工業株式会社
シート給送装置
24日前
ブラザー工業株式会社
サポートプログラム
1か月前
ブラザー工業株式会社
サポートプログラム
1か月前
ブラザー工業株式会社
情報処理プログラム
1日前
ブラザー工業株式会社
プリンタおよびプログラム
1か月前
ブラザー工業株式会社
プリンタおよびプログラム
1か月前
ブラザー工業株式会社
定着装置及び画像形成装置
22日前
ブラザー工業株式会社
タンクおよび液体吐出装置
1日前
ブラザー工業株式会社
プログラムおよび情報処理装置
1日前
ブラザー工業株式会社
インクジェット記録方法及び印刷物
1か月前
ブラザー工業株式会社
プログラム、および、データ処理装置
1日前
ブラザー工業株式会社
サポートプログラムおよび印刷システム
1日前
ブラザー工業株式会社
画像形成方法及びそれに用いられる液体
1か月前
続きを見る
他の特許を見る