TOP
|
特許
|
意匠
|
商標
特許ウォッチ
Twitter
他の特許を見る
10個以上の画像は省略されています。
公開番号
2025154674
公報種別
公開特許公報(A)
公開日
2025-10-10
出願番号
2024057799
出願日
2024-03-29
発明の名称
制御装置、工作機械、制御方法及びコンピュータプログラム
出願人
ブラザー工業株式会社
代理人
個人
,
個人
主分類
B23Q
11/08 20060101AFI20251002BHJP(工作機械;他に分類されない金属加工)
要約
【課題】加工プログラムの実行前の待機時間を削減できる制御装置、工作機械、制御方法及びコンピュータプログラムを提供する。
【解決手段】制御装置は、機械本体と、前記機械本体を覆うカバーと、前記カバーに取り付けた主扉及び副扉と、前記主扉を開閉する主扉開閉機構と、前記主扉を施錠する主扉施錠機構と、前記副扉の開閉を検出する副扉開閉検出器と、前記副扉を施錠する副扉施錠機構とを備える工作機械の制御装置であって、前記副扉開閉検出器にて、前記副扉の閉を検出した場合、前記副扉施錠機構による前記副扉の施錠と、前記主扉開閉機構による前記主扉の閉動作及び前記主扉施錠機構による前記主扉の施錠とを並行に実行する実行部を備える。
【選択図】図5
特許請求の範囲
【請求項1】
機械本体と、前記機械本体を覆うカバーと、前記カバーに取り付けた主扉及び副扉と、前記主扉を開閉する主扉開閉機構と、前記主扉を施錠する主扉施錠機構と、前記副扉の開閉を検出する副扉開閉検出器と、前記副扉を施錠する副扉施錠機構とを備える工作機械の制御装置であって、
前記副扉開閉検出器にて、前記副扉の閉を検出した場合、前記副扉施錠機構による前記副扉の施錠と、前記主扉開閉機構による前記主扉の閉動作及び前記主扉施錠機構による前記主扉の施錠とを並行に実行する実行部を備える
制御装置。
続きを表示(約 1,300 文字)
【請求項2】
前記実行部は前記副扉開閉検出器にて、前記副扉の開を検出した場合、前記副扉が開いていることを報知する報知処理と、
前記副扉開閉検出器にて、前記副扉の開を検出した場合、前記工作機械の動作を禁止する禁止処理を実行する
請求項1に記載の制御装置。
【請求項3】
前記工作機械は前記副扉を複数備え、
前記実行部は、前記副扉開閉検出器にて、全ての前記副扉の閉を検出した場合、前記副扉施錠機構による全ての前記副扉の施錠と、前記主扉開閉機構による前記主扉の閉動作及び前記主扉施錠機構による前記主扉の施錠とを並行に実行する
請求項1又は2に記載の制御装置。
【請求項4】
前記実行部は前記副扉が施錠禁止状態にあるか否か判定する判定処理を実行し、
前記判定処理にて前記副扉が前記施錠禁止状態にあると判定した場合、前記施錠禁止状態にある前記副扉の施錠を実行しない
請求項1又は2に記載の制御装置。
【請求項5】
機械本体と、前記機械本体を覆うカバーと、前記カバーに取り付けた主扉及び副扉と、前記主扉を開閉する主扉開閉機構と、前記主扉を施錠する主扉施錠機構と、前記副扉が閉じているか否かを検出する副扉開閉検出器と、前記副扉を施錠する副扉施錠機構と、前記各機構を制御する制御装置とを備えた工作機械であって、
前記制御装置は、
前記副扉開閉検出器にて、前記副扉が閉じていると判定した場合、前記副扉施錠機構による前記副扉の施錠と、前記主扉開閉機構による前記主扉の閉動作及び前記主扉施錠機構による前記主扉の施錠とを並行に実行する実行部を備える
工作機械。
【請求項6】
機械本体と、前記機械本体を覆うカバーと、前記カバーに取り付けた主扉及び副扉と、前記主扉を開閉する主扉開閉機構と、前記主扉を施錠する主扉施錠機構と、前記副扉が閉じているか否かを検出する副扉開閉検出器と、前記副扉を施錠する副扉施錠機構とを備える工作機械の制御方法であって、
前記副扉開閉検出器にて、前記副扉が閉じていると判定した場合、前記副扉施錠機構による前記副扉の施錠と、前記主扉開閉機構による前記主扉の閉動作及び前記主扉施錠機構による前記主扉の施錠とを並行に実行する
制御方法。
【請求項7】
機械本体と、前記機械本体を覆うカバーと、前記カバーに取り付けた主扉及び副扉と、前記主扉を開閉する主扉開閉機構と、前記主扉を施錠する主扉施錠機構と、前記副扉が閉じているか否かを検出する副扉開閉検出器と、前記副扉を施錠する副扉施錠機構とを備える工作機械を制御するコンピュータプログラムであって、
前記工作機械に
前記副扉開閉検出器にて、前記副扉が閉じていると判定した場合、前記副扉施錠機構による前記副扉の施錠と、前記主扉開閉機構による前記主扉の閉動作及び前記主扉施錠機構による前記主扉の施錠とを並行に実行する
処理を実行させるコンピュータプログラム。
発明の詳細な説明
【技術分野】
【0001】
本技術は、工作機械の制御装置、工作機械、制御方法及びコンピュータプログラムに関する。
続きを表示(約 1,100 文字)
【背景技術】
【0002】
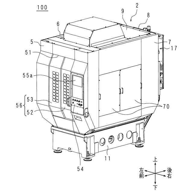
機械本体と、機械本体を覆うカバーと、カバーに取り付けた正面扉及び側面扉とを備える工作機械がある(特許文献1参照)。工作機械は正面扉を施錠し、側面扉を施錠した後、加工プログラムを実行する。扉の施錠後に加工を開始するので、安全性を保つことができる。
【先行技術文献】
【特許文献】
【0003】
特開2022-152853号公報
【発明の概要】
【発明が解決しようとする課題】
【0004】
加工プログラムの開始前に、側面扉の施錠が完了するまで工作機械は待機する。
【0005】
本開示は斯かる事情に鑑みてなされたものであり、加工プログラムの実行前の待機時間を削減できる制御装置、工作機械、制御方法及びコンピュータプログラムを提供することを目的とする。
【課題を解決するための手段】
【0006】
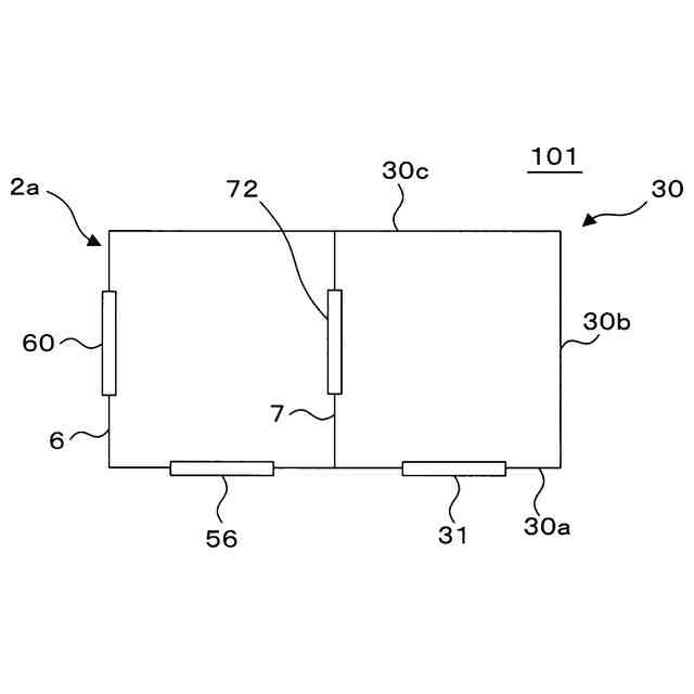
本開示の一実施形態に係る制御装置は、機械本体と、前記機械本体を覆うカバーと、前記カバーに取り付けた主扉及び副扉と、前記主扉を開閉する主扉開閉機構と、前記主扉を施錠する主扉施錠機構と、前記副扉の開閉を検出する副扉開閉検出器と、前記副扉を施錠する副扉施錠機構とを備える工作機械の制御装置であって、前記副扉開閉検出器にて、前記副扉の閉を検出した場合、前記副扉施錠機構による前記副扉の施錠と、前記主扉開閉機構による前記主扉の閉動作及び前記主扉施錠機構による前記主扉の施錠とを並行に実行する実行部を備える。
【0007】
本開示においては、副扉が閉じている場合、副扉の施錠と、主扉の閉動作及び施錠とを並行に実行する。
【0008】
本開示の一実施形態に係る制御装置は、前記実行部は前記副扉開閉検出器にて、前記副扉の開を検出した場合、前記副扉が開いていることを報知する報知処理と、前記副扉開閉検出器にて、前記副扉の開を検出した場合、前記工作機械の動作を禁止する禁止処理を実行する。
【0009】
本開示においては、副扉が開いている場合、副扉が開いていることを作業者に報知し、工作機械の動作を禁止する。
【0010】
本開示の一実施形態に係る制御装置は、前記工作機械は前記副扉を複数備え、前記実行部は、前記副扉開閉検出器にて、全ての前記副扉の閉を検出した場合、前記副扉施錠機構による全ての前記副扉の施錠と、前記主扉開閉機構による前記主扉の閉動作及び前記主扉施錠機構による前記主扉の施錠とを並行に実行する。
(【0011】以降は省略されています)
特許ウォッチbot のツイートを見る
この特許をJ-PlatPat(特許庁公式サイト)で参照する
関連特許
ブラザー工業株式会社
ホルダ
8日前
ブラザー工業株式会社
印刷装置
1日前
ブラザー工業株式会社
印刷媒体
8日前
ブラザー工業株式会社
印刷媒体
8日前
ブラザー工業株式会社
印刷媒体
8日前
ブラザー工業株式会社
スキャナ
4日前
ブラザー工業株式会社
スキャナ
4日前
ブラザー工業株式会社
静電塗工装置
8日前
ブラザー工業株式会社
画像形成装置
4日前
ブラザー工業株式会社
画像形成装置
4日前
ブラザー工業株式会社
画像形成装置
4日前
ブラザー工業株式会社
インクジェット記録方法及び印刷物
3日前
ブラザー工業株式会社
画像形成方法及びそれに用いられる液体
4日前
ブラザー工業株式会社
画像形成装置、画像形成システム、消耗品
4日前
ブラザー工業株式会社
工作機械の数値制御装置及び数値制御方法
8日前
ブラザー工業株式会社
工作機械の数値制御装置及び数値制御方法
8日前
ブラザー工業株式会社
カラオケ用プログラム、及び、カラオケ装置
8日前
ブラザー工業株式会社
接着液、画像形成システム、及び画像形成方法
8日前
ブラザー工業株式会社
制御装置、制御方法、及びコンピュータプログラム
8日前
ブラザー工業株式会社
画像形成装置、画像形成プログラム、及び画像形成方法
8日前
ブラザー工業株式会社
プリンタ
3日前
ブラザー工業株式会社
通信システム、サーバ、および、コンピュータプログラム
8日前
ブラザー工業株式会社
通信システム、サーバ、および、コンピュータプログラム
8日前
ブラザー工業株式会社
カセット
4日前
ブラザー工業株式会社
制御装置、工作機械、制御方法及びコンピュータプログラム
8日前
ブラザー工業株式会社
縫製支援方法、縫製支援プログラム、記憶媒体及び縫製装置
8日前
ブラザー工業株式会社
縫製支援方法、縫製支援プログラム、記憶媒体及び縫製装置
8日前
ブラザー工業株式会社
制御装置、工作機械、制御方法及びコンピュータプログラム
8日前
ブラザー工業株式会社
工作機械、工作機械の制御方法、及びコンピュータプログラム
8日前
ブラザー工業株式会社
デバイス管理プログラム、情報処理装置およびデバイス管理方法
8日前
ブラザー工業株式会社
ラベル巻付装置
4日前
ブラザー工業株式会社
制御パラメータ生成方法、制御パラメータ生成プログラム及び記憶媒体
8日前
ブラザー工業株式会社
記録装置、記録装置用消耗品、及び情報処理方法
4日前
個人
タップ
5か月前
個人
フライス盤
1か月前
個人
加工機
5か月前
続きを見る
他の特許を見る