TOP
|
特許
|
意匠
|
商標
特許ウォッチ
Twitter
他の特許を見る
10個以上の画像は省略されています。
公開番号
2025154179
公報種別
公開特許公報(A)
公開日
2025-10-10
出願番号
2024057047
出願日
2024-03-29
発明の名称
通信システム、サーバ、および、コンピュータプログラム
出願人
ブラザー工業株式会社
代理人
鳳国際弁理士法人
主分類
G06F
21/44 20130101AFI20251002BHJP(計算;計数)
要約
【課題】デバイスと対応付けられるユーザ登録において発生し得る不都合を低減する。
【解決手段】サーバは、第1ユーザの登録の後に、第2端末装置から、デバイス識別情報と第2ユーザの登録要求とを受信し、第2ユーザの登録要求が受信される場合に、第2ユーザの登録を拒絶することを示す拒絶通知を第2端末装置に送信する。サーバは、拒絶通知の送信後に、管理者ログイン状態にある特定デバイスから特定の認証情報を受信する場合に、格納部において特定の認証情報と対応付けられるデバイス識別情報と対応付けられる第1ユーザ情報を取得し、取得される第1ユーザ情報を特定の通知先に通知する。もしくは、サーバは、拒絶通知の送信後に、管理者ログイン状態にある特定デバイスから特定の認証情報を受信する場合に、登録情報を第2ユーザ情報とデバイス識別情報とを対応付ける登録情報に更新することによって、第2ユーザの登録を行う。
【選択図】 図7
特許請求の範囲
【請求項1】
通信システムであって、
第1ユーザが利用する第1端末装置と、
第2ユーザが利用する第2端末装置と、
特定デバイスと、
格納部を有し、前記第1端末装置と前記第2端末装置と前記特定デバイスと通信可能に接続されるサーバと、
を備え、
前記サーバは、
前記第1端末装置から、前記第1ユーザの情報である第1ユーザ情報と、前記特定デバイスを識別するデバイス識別情報と、前記第1ユーザの登録要求と、を受信する第1受信部と、
前記第1ユーザの登録要求が受信される場合に、前記第1ユーザ情報と前記デバイス識別情報とを対応付ける登録情報を前記格納部に格納することによって、前記第1ユーザの登録を行う登録部と、
前記第1ユーザの登録を行う場合に、特定の認証情報を前記デバイス識別情報と対応付けて前記格納部に格納する認証情報格納処理部と、
前記第1ユーザの登録を行う場合に、前記特定の認証情報を前記特定デバイスに送信する認証情報送信処理部と、
前記第1ユーザの登録の後に、前記第2端末装置から、前記デバイス識別情報と、前記第2ユーザの登録要求と、を受信する第2受信部と、
前記第2ユーザの登録要求が受信される場合に、前記第2ユーザの登録を拒絶することを示す拒絶通知を前記第2端末装置に送信する応答送信部と、
前記拒絶通知の送信後に、ログイン状態にある前記特定デバイスから前記特定の認証情報を受信する認証情報受信部であって、前記ログイン状態は、前記サーバの前記格納部に格納されていない管理者情報を用いて前記特定デバイスに対して管理者がログインしている状態である、前記認証情報受信部と、
前記特定の認証情報が受信される場合に、前記格納部において前記特定の認証情報と対応付けられる前記デバイス識別情報と対応付けられる前記第1ユーザ情報を取得する取得部と、
前記特定の認証情報が受信される場合に、前記取得部によって取得される前記第1ユーザ情報を特定の通知先に通知する通知部と、
を備える、通信システム。
続きを表示(約 3,900 文字)
【請求項2】
請求項1に記載の通信システムであって、さらに、
前記特定の認証情報には、前記第2ユーザの登録要求が受信された後から起算される有効期間が設定され、
前記通知部は、前記特定の認証情報が前記有効期間内に前記特定デバイスから受信される場合に、前記取得部にて取得される前記第1ユーザ情報を特定の通知先に通知する、通信システム。
【請求項3】
請求項2に記載の通信システムであって、
前記特定の通知先は、前記特定デバイスであり、
前記特定デバイスは、表示部と、印刷部と、の少なくとも一方を備え、
前記通知部は、前記特定デバイスに前記第1ユーザ情報を含む通知を送信し、前記第1ユーザ情報を前記表示部に表示させる、または、前記第1ユーザ情報を前記印刷部に印刷させる、通信システム。
【請求項4】
請求項2に記載の通信システムであって、
前記特定の通知先は、前記特定デバイスであり、
前記サーバは、さらに、
前記第1ユーザ情報を前記特定デバイスに通知した後に、前記第2ユーザの指示に応じて送信される解除要求であって前記第1ユーザの登録を解除する解除要求を前記特定デバイスから受信する指示受信部と、
前記解除要求を受信する場合に、前記第1ユーザの登録を解除するように前記格納部に格納される前記登録情報を変更する登録解除処理部と、
を備える、通信システム。
【請求項5】
請求項3または4に記載の通信システムであって、
前記認証情報受信部は、前記特定の認証情報とともに、前記特定デバイスに対して管理者がログインしているか否かを示すログイン情報を受信し、
前記通知部は、前記特定の認証情報とともに、前記特定デバイスに対して前記管理者がログインしていることを示す前記ログイン情報が受信される場合に、前記第1ユーザ情報を前記特定の通知先に通知する、通信システム。
【請求項6】
通信システムであって、
第1ユーザが利用する第1端末装置と、
第2ユーザが利用する第2端末装置と、
特定デバイスと、
格納部を有し、前記第1端末装置と前記第2端末装置と前記特定デバイスと通信可能に接続されるサーバと、
を備え、
前記サーバは、
前記第1端末装置から、前記第1ユーザの情報である第1ユーザ情報と、前記特定デバイスを識別するデバイス識別情報と、前記第1ユーザの登録要求と、を受信する第1受信部と、
前記第1ユーザの登録要求が受信される場合に、前記第1ユーザ情報と前記デバイス識別情報とを対応付ける登録情報を前記格納部に格納することによって、前記第1ユーザの登録を実行する第1登録部と、
前記第1ユーザの登録を行う場合に、特定の認証情報を前記デバイス識別情報と対応付けて前記格納部に格納する認証情報格納処理部と、
前記第1ユーザの登録を行う場合に、前記特定の認証情報を前記特定デバイスに送信する認証情報送信処理部と、
前記第1ユーザの登録の後に、前記第2端末装置から、第2ユーザの情報である第2ユーザ情報と、前記デバイス識別情報と、前記第2ユーザの登録要求と、を受信する第2受信部と、
前記第2ユーザの登録要求が受信される場合に、前記第2ユーザの登録を拒絶することを示す拒絶通知を前記第2端末装置に送信する応答送信部と、
前記拒絶通知の送信後に、管理者ログイン状態にある前記特定デバイスから前記特定の認証情報を受信する認証情報受信部であって、前記管理者ログイン状態は、前記サーバの前記格納部に格納されていない管理者情報を用いて前記特定デバイスに対して管理者がログインしている状態である、前記認証情報受信部と、
前記特定の認証情報が受信される場合に、前記格納部において前記特定の認証情報と対応付けられる前記デバイス識別情報を含む前記登録情報を特定する登録特定部と、
前記特定の認証情報が受信される場合に、前記格納部において、特定済みの前記登録情報を前記第2ユーザ情報と前記デバイス識別情報とを対応付ける登録情報に更新することによって、前記第2ユーザの登録を実行する第2登録部と、
を備える、通信システム。
【請求項7】
請求項6に記載の通信システムであって、さらに、
前記特定の認証情報には、前記第2ユーザの登録要求が受信された後から有効期間が設定され、
前記第2登録部は、前記特定の認証情報が前記有効期間内に前記特定デバイスから受信される場合に、前記第2ユーザの登録を行う、通信システム。
【請求項8】
請求項6に記載の通信システムであって、
前記認証情報受信部は、前記特定の認証情報とともに、前記特定デバイスに対して管理者がログインしているか否かを示すログイン情報を受信し、
前記第2登録部は、前記特定の認証情報とともに、前記特定デバイスに対して前記管理者がログインしていることを示す前記ログイン情報が受信される場合に、前記第2ユーザの登録を行う、通信システム。
【請求項9】
格納部を有し、第1ユーザが利用する第1端末装置と、第2ユーザが利用する第2端末装置と、特定デバイスと、通信可能に接続されるサーバであって、
前記第1端末装置から、前記第1ユーザの情報である第1ユーザ情報と、前記特定デバイスを識別するデバイス識別情報と、前記第1ユーザの登録要求と、を受信する第1受信部と、
前記第1ユーザの登録要求が受信される場合に、前記第1ユーザ情報と前記デバイス識別情報とを対応付ける登録情報を前記格納部に格納することによって、前記第1ユーザの登録を行う登録部と、
前記第1ユーザの登録を行う場合に、特定の認証情報を前記デバイス識別情報と対応付けて前記格納部に格納する認証情報格納処理部と、
前記第1ユーザの登録を行う場合に、前記特定の認証情報を前記特定デバイスに送信する認証情報送信処理部と、
前記第1ユーザの登録の後に、前記第2端末装置から、前記デバイス識別情報と、前記第2ユーザの登録要求と、を受信する第2受信部と、
前記第2ユーザの登録要求が受信される場合に、前記第2ユーザの登録を拒絶することを示す拒絶通知を前記第2端末装置に送信する応答送信部と、
前記拒絶通知の送信後に、管理者ログイン状態にある前記特定デバイスから前記特定の認証情報を受信する認証情報受信部であって、前記管理者ログイン状態は、前記サーバの前記格納部に格納されていない管理者情報を用いて前記特定デバイスに対して管理者がログインしている状態である、前記認証情報受信部と、
前記特定の認証情報が受信される場合に、前記格納部において前記特定の認証情報と対応付けられる前記デバイス識別情報と対応付けられる前記第1ユーザ情報を取得する取得部と、
前記特定の認証情報が受信される場合に、前記取得部によって取得される前記第1ユーザ情報を特定の通知先に通知する通知部と、
を備える、サーバ。
【請求項10】
格納部を有し、第1ユーザが利用する第1端末装置と、第2ユーザが利用する第2端末装置と、特定デバイスと、通信可能に接続されるサーバであって、
前記第1端末装置から、前記第1ユーザの情報である第1ユーザ情報と、前記特定デバイスを識別するデバイス識別情報と、前記第1ユーザの登録要求と、を受信する第1受信部と、
前記第1ユーザの登録要求が受信される場合に、前記第1ユーザ情報と前記デバイス識別情報とを対応付ける登録情報を前記格納部に格納することによって、前記第1ユーザの登録を実行する第1登録部と、
前記第1ユーザの登録を行う場合に、特定の認証情報を前記デバイス識別情報と対応付けて前記格納部に格納する認証情報格納処理部と、
前記第1ユーザの登録を行う場合に、前記特定の認証情報を前記特定デバイスに送信する認証情報送信処理部と、
前記第1ユーザの登録の後に、前記第2端末装置から、第2ユーザの情報である第2ユーザ情報と、前記デバイス識別情報と、前記第2ユーザの登録要求と、を受信する第2受信部と、
前記第2ユーザの登録要求が受信される場合に、前記第2ユーザの登録を拒絶することを示す拒絶通知を前記第2端末装置に送信する応答送信部と、
前記拒絶通知の送信後に、管理者ログイン状態にある前記特定デバイスから前記特定の認証情報を受信する認証情報受信部であって、前記管理者ログイン状態は、前記サーバの前記格納部に格納されていない管理者情報を用いて前記特定デバイスに対して管理者がログインしている状態である、前記認証情報受信部と、
前記特定の認証情報が受信される場合に、前記格納部において前記特定の認証情報と対応付けられる前記デバイス識別情報を含む前記登録情報を特定する登録特定部と、
前記特定の認証情報が受信される場合に、前記格納部において、特定済みの前記登録情報を前記第2ユーザ情報と前記デバイス識別情報とを対応付ける登録情報に更新することによって、前記第2ユーザの登録を実行する第2登録部と、
を備える、サーバ。
(【請求項11】以降は省略されています)
発明の詳細な説明
【技術分野】
【0001】
本明細書は、通信システム、サーバ、および、コンピュータプログラムに関する。
続きを表示(約 3,200 文字)
【背景技術】
【0002】
特許文献1には、会員登録フォームを提供する情報処理システムが開示されている。このシステムでは、端末装置に複数の入力欄を含む入力フォームが表示され、ユーザに入力欄に情報を入力させる。入力フォームへの入力が中断され、会員登録が行われなかった場合には、入力が中断されたことがサーバに登録される。前回提示された入力フォームにおいて、会員登録を中断したユーザに対しては、記入量を軽減するように変更された入力フォームが提示される。これによって、ユーザが会員登録を完了しやすくすることができる、とされている。
【先行技術文献】
【非特許文献】
【0003】
特開2013-84291号公報
【発明の概要】
【発明が解決しようとする課題】
【0004】
しかしながら、上記技術では、デバイスと対応付けられるユーザ登録については、何か考慮されていない。例えば、デバイスと対応付けられるユーザ登録では、一のデバイスについて既に一のユーザが登録済みである場合には、該一のデバイスについて他のユーザは登録できない場合がある。デバイスと対応付けられたユーザ登録では、このような場合の対応について工夫する余地があった。
【0005】
本明細書は、デバイスと対応付けられるユーザ登録において発生し得る不都合を低減できる技術を開示する。
【課題を解決するための手段】
【0006】
本明細書に開示された技術は、以下の適用例として実現することが可能である。
【0007】
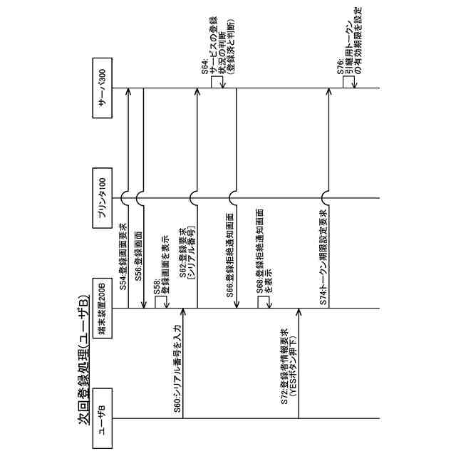
[適用例1]通信システムであって、第1ユーザが利用する第1端末装置と、第2ユーザが利用する第2端末装置と、特定デバイスと、格納部を有し、前記第1端末装置と前記第2端末装置と前記特定デバイスと通信可能に接続されるサーバと、を備え、前記サーバは、前記第1端末装置から、前記第1ユーザの情報である第1ユーザ情報と、前記特定デバイスを識別するデバイス識別情報と、前記第1ユーザの登録要求と、を受信する第1受信部と、前記第1ユーザの登録要求が受信される場合に、前記第1ユーザ情報と前記デバイス識別情報とを対応付ける登録情報を前記格納部に格納することによって、前記第1ユーザの登録を行う登録部と、前記第1ユーザの登録を行う場合に、特定の認証情報を前記デバイス識別情報と対応付けて前記格納部に格納する認証情報格納処理部と、前記第1ユーザの登録を行う場合に、前記特定の認証情報を前記特定デバイスに送信する認証情報送信処理部と、前記第1ユーザの登録の後に、前記第2端末装置から、前記デバイス識別情報と、前記第2ユーザの登録要求と、を受信する第2受信部と、前記第2ユーザの登録要求が受信される場合に、前記第2ユーザの登録を拒絶することを示す拒絶通知を前記第2端末装置に送信する応答送信部と、前記拒絶通知の送信後に、管理者ログイン状態にある前記特定デバイスから前記特定の認証情報を受信する認証情報受信部であって、前記管理者ログイン状態は、前記サーバの前記格納部に格納されていない管理者情報を用いて前記特定デバイスに対して管理者がログインしている状態である、前記認証情報受信部と、前記特定の認証情報が受信される場合に、前記格納部において前記特定の認証情報と対応付けられる前記デバイス識別情報と対応付けられる前記第1ユーザ情報を取得する取得部と、前記特定の認証情報が受信される場合に、前記取得部によって取得される前記第1ユーザ情報を特定の通知先に通知する通知部と、を備える、通信システム。
【0008】
上記構成によれば、サーバは、第1ユーザの登録を行う場合に、特定の認証情報をデバイス識別情報と対応付けて格納部に格納し、特定の認証情報を特定デバイスに送信する。そして、第1ユーザの登録が行われた後に、第2端末装置から第2ユーザの登録要求を受信し、特定の認証情報を特定デバイスから受信する場合に、特定の認証情報と対応付けられるデバイス識別情報と対応付けられる第1ユーザ情報を、特定の通知先に通知する。この結果、例えば、特定デバイスについて既に第1ユーザが登録済みであるために、該特定デバイスについて第1ユーザと重複して第2ユーザが登録できない場合であっても、第1ユーザ情報が特定の通知先に通知されるので、例えば、該特定の通知先において、第1ユーザ情報に基づいて何らかの対応を取り得る。さらには、管理者がログインしている状態にある特定デバイスから特定の認証情報を受信することを条件に第1ユーザ情報の通知が行われるので、第1ユーザ情報が不当に漏洩することを抑制し得る。この結果、特定デバイスと対応付けられるユーザ登録において発生し得る不都合を低減できる。
【0009】
[適用例2]通信システムであって、第1ユーザが利用する第1端末装置と、第2ユーザが利用する第2端末装置と、特定デバイスと、格納部を有し、前記第1端末装置と前記第2端末装置と前記特定デバイスと通信可能に接続されるサーバと、を備え、前記サーバは、前記第1端末装置から、前記第1ユーザの情報である第1ユーザ情報と、前記特定デバイスを識別するデバイス識別情報と、前記第1ユーザの登録要求と、を受信する第1受信部と、前記第1ユーザの登録要求が受信される場合に、前記第1ユーザ情報と前記デバイス識別情報とを対応付ける登録情報を前記格納部に格納することによって、前記第1ユーザの登録を実行する第1登録部と、前記第1ユーザの登録を行う場合に、特定の認証情報を前記デバイス識別情報と対応付けて前記格納部に格納する認証情報格納処理部と、前記第1ユーザの登録を行う場合に、前記特定の認証情報を前記特定デバイスに送信する認証情報送信処理部と、前記第1ユーザの登録の後に、前記第2端末装置から、第2ユーザの情報である第2ユーザ情報と、前記デバイス識別情報と、前記第2ユーザの登録要求と、を受信する第2受信部と、前記第2ユーザの登録要求が受信される場合に、前記第2ユーザの登録を拒絶することを示す拒絶通知を前記第2端末装置に送信する応答送信部と、前記拒絶通知の送信後に、管理者ログイン状態にある前記特定デバイスから前記特定の認証情報を受信する認証情報受信部であって、前記管理者ログイン状態は、前記サーバの前記格納部に格納されていない管理者情報を用いて前記特定デバイスに対して管理者がログインしている状態である、前記認証情報受信部と、前記特定の認証情報が受信される場合に、前記格納部において前記特定の認証情報と対応付けられる前記デバイス識別情報を含む前記登録情報を特定する登録特定部と、前記特定の認証情報が受信される場合に、前記格納部において、特定済みの前記登録情報を前記第2ユーザ情報と前記デバイス識別情報とを対応付ける登録情報に更新することによって、前記第2ユーザの登録を実行する第2登録部と、を備える、通信システム。
【0010】
上記構成によれば、サーバは、第1ユーザの登録を行う場合に、特定の認証情報をデバイス識別情報と対応付けて格納部に格納し、特定の認証情報を特定デバイスに送信する。そして、第1ユーザの登録が行われた後に、第2端末装置から第2ユーザの登録要求を受信した場合、管理者ログイン状態にある特定デバイスから特定の認証情報を受信することを条件に第2ユーザの登録が行われる。この結果、特定デバイスについて既に第1ユーザが登録済みである場合に第2ユーザが登録できない不都合を抑制できる。したがって、特定デバイスと対応付けられるユーザ登録において発生し得る不都合を低減できる。
(【0011】以降は省略されています)
この特許をJ-PlatPat(特許庁公式サイト)で参照する
関連特許
ブラザー工業株式会社
空調機
2日前
ブラザー工業株式会社
固定具
3日前
ブラザー工業株式会社
ボビン
3日前
ブラザー工業株式会社
ミシン
1日前
ブラザー工業株式会社
ミシン
1日前
ブラザー工業株式会社
ホルダ
1日前
ブラザー工業株式会社
印刷媒体
1日前
ブラザー工業株式会社
塗工装置
1日前
ブラザー工業株式会社
印刷装置
3日前
ブラザー工業株式会社
塗布装置
1日前
ブラザー工業株式会社
回収装置
1日前
ブラザー工業株式会社
塗工装置
1日前
ブラザー工業株式会社
塗工装置
1日前
ブラザー工業株式会社
印刷媒体
1日前
ブラザー工業株式会社
印刷媒体
1日前
ブラザー工業株式会社
制御装置
2日前
ブラザー工業株式会社
縫製装置
3日前
ブラザー工業株式会社
制御装置
12日前
ブラザー工業株式会社
結紮装置
2日前
ブラザー工業株式会社
搬送装置
10日前
ブラザー工業株式会社
結紮装置
2日前
ブラザー工業株式会社
制御装置
2日前
ブラザー工業株式会社
糸巻回装置
3日前
ブラザー工業株式会社
糸巻回装置
3日前
ブラザー工業株式会社
画像形成装置
1日前
ブラザー工業株式会社
画像形成装置
3日前
ブラザー工業株式会社
画像形成装置
3日前
ブラザー工業株式会社
画像形成装置
1日前
ブラザー工業株式会社
画像形成装置
3日前
ブラザー工業株式会社
画像形成装置
3日前
ブラザー工業株式会社
画像形成装置
3日前
ブラザー工業株式会社
画像形成装置
3日前
ブラザー工業株式会社
画像形成装置
3日前
ブラザー工業株式会社
静電塗工装置
1日前
ブラザー工業株式会社
画像形成装置
3日前
ブラザー工業株式会社
画像形成装置
2日前
続きを見る
他の特許を見る