TOP
|
特許
|
意匠
|
商標
特許ウォッチ
Twitter
他の特許を見る
10個以上の画像は省略されています。
公開番号
2025149853
公報種別
公開特許公報(A)
公開日
2025-10-08
出願番号
2024200014
出願日
2024-11-15
発明の名称
画像形成装置
出願人
ブラザー工業株式会社
代理人
弁理士法人第一テクニカル国際特許事務所
主分類
G03G
21/16 20060101AFI20251001BHJP(写真;映画;光波以外の波を使用する類似技術;電子写真;ホログラフイ)
要約
【課題】定着器を着脱可能な構成とした場合に、定着器を外した空間にシートガイドが倒れ込むのを防止する。
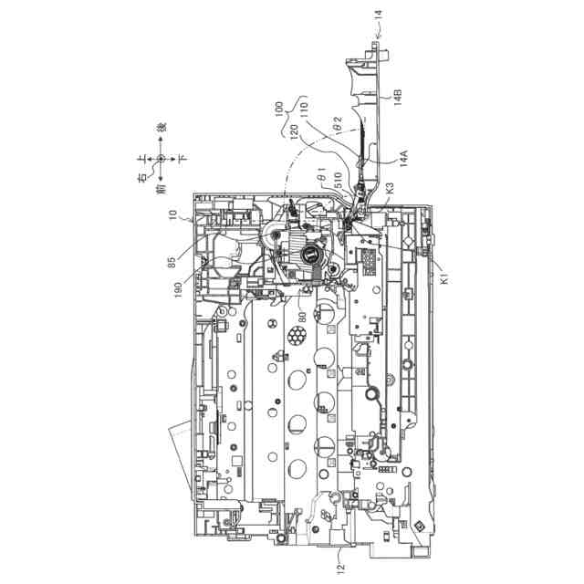
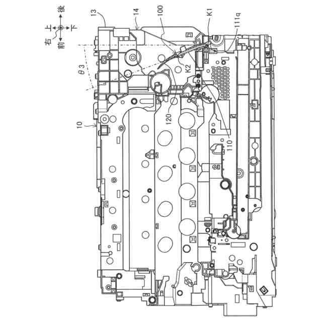
【解決手段】画像形成装置1は、開口13Aを有する本体筐体10と、シートPに現像剤像を形成する画像形成部30と、開口13Aを通して本体筐体10に着脱可能に構成され、シートPに現像剤像を定着させる定着器80と、開口13Aを閉じる閉位置と開口13Aを開く開位置とに切替可能な外装カバー14と、定着器80と外装カバー14との間に設けられ、定着器80から排出されたシートPを画像形成部30に案内するシートガイド100と、を備え、シートガイド100は、第1ガイド軸心K1から径方向にずれた所定部位に設けられ、本体筐体10の当接部10qに当接することで、第1ガイド軸心K1を中心に使用位置から本体筐体10の内側へ回動する角度を規制する規制部111qを有する。
【選択図】図16
特許請求の範囲
【請求項1】
開口を有する本体筐体と、
シートに現像剤像を形成する画像形成部と、
前記開口を通して前記本体筐体に着脱可能に構成され、前記シートに前記現像剤像を定着させる定着器と、
前記開口を閉じる閉位置と前記開口を開く開位置とに切替可能な外装カバーと、
前記定着器と前記外装カバーとの間に設けられ、前記定着器から排出された前記シートを前記画像形成部に案内するシートガイドと、
を備え、
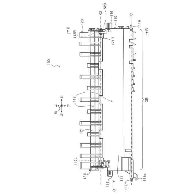
前記シートガイドは、
第1軸心を中心に前記本体筐体に回動可能に支持され、前記定着器に近接した使用位置と、前記使用位置から前記本体筐体の外側に回動した退避位置とに切替可能で、
かつ、
前記シートガイドは、
前記第1軸心から径方向にずれた所定部位に設けられ、前記本体筐体の当接部に当接することで、前記第1軸心を中心に前記使用位置から前記本体筐体の内側へ回動する角度を規制する規制部を有する
ことを特徴とする画像形成装置。
続きを表示(約 1,200 文字)
【請求項2】
前記規制部は、
前記所定部位において、前記第1軸心に沿う方向に突出して設けられている
ことを特徴とする請求項1記載の画像形成装置。
【請求項3】
前記シートガイドは、
前記使用位置にあるとき前記外装カバー側を向き、前記定着器から排出された前記シートに接して案内する外案内領域を備えた外側ガイド面と、
前記使用位置にあるとき前記外装カバー側と反対側を向き、前記定着器から排出された前記シートに接して案内する内案内領域を備えた内側ガイド面と、
を有し、
前記規制部は、
前記シートの幅方向において前記外案内領域及び前記内案内領域の外側に位置している
ことを特徴とする請求項1記載の画像形成装置。
【請求項4】
前記所定部位は、
前記第1軸心よりも、前記定着器から離れる方向にずれた部位である
ことを特徴とする請求項1記載の画像形成装置。
【請求項5】
前記使用位置において、前記シートガイドの重心は、前記第1軸心よりも前記本体筐体の外側に近い位置に位置する
ことを特徴とする請求項1記載の画像形成装置。
【請求項6】
前記シートガイドは、
前記第1軸心に沿った一方側と他方側との両端に、当該第1軸心上において互いに反対側を向くようにそれぞれ突出する2つのボスを有し、
前記本体筐体は、
前記2つのボスがそれぞれ挿入される2つの孔を有し、
前記規制部及び前記当接部は、前記一方側のみ、若しくは、前記他方側のみに設けられている
ことを特徴とする請求項1記載の画像形成装置。
【請求項7】
前記シートガイドにおける前記使用位置から前記退避位置までの回動角度は、前記シートガイドにおける前記使用位置から前記規制部による規制位置までの回動角度よりも大きい
ことを特徴とする請求項1記載の画像形成装置。
【請求項8】
前記外装カバーは、
前記閉位置にあるとき、前記シートガイドを前記使用位置に位置させるよう押圧する押圧部を有し、
前記シートガイドは、
前記押圧部に接する被押圧部を有する
ことを特徴とする請求項1記載の画像形成装置。
【請求項9】
前記シートガイドは、
前記使用位置にあるとき前記外装カバー側を向き、前記定着器から排出された前記シートに接して前記画像形成部へと案内する案内領域を備えた外側ガイド面をさらに有し、
前記被押圧部は、
前記シートの幅方向において前記シートガイドのうち前記案内領域の外側に位置する
ことを特徴とする請求項8記載の画像形成装置。
【請求項10】
前記被押圧部は、
前記外装カバーに向かう突出形状を備えている
ことを特徴とする請求項8記載の画像形成装置。
(【請求項11】以降は省略されています)
発明の詳細な説明
【技術分野】
【0001】
本発明は、定着器から排出されたシートを案内するシートガイドを備えた画像形成装置に関する。
続きを表示(約 1,700 文字)
【背景技術】
【0002】
従来、例えば特許文献1に記載のように、定着装置を抜けた用紙を両面印刷のための戻し経路に案内するガイド部材を有するカラープリンタが知られている。
【先行技術文献】
【特許文献】
【0003】
特開2011-008152号公報
【発明の概要】
【発明が解決しようとする課題】
【0004】
特許文献1に記載のカラープリンタでは、ガイド部材は、下端部が装置本体に回動可能に接続されている。仮に定着器を着脱可能な構成とした場合には、定着器を外したとき、ガイド部材が定着器を外した空間に倒れ込む可能性がある。
【0005】
本発明の目的は、定着器を着脱可能な構成とした場合に、定着器を外した空間にシートガイドが倒れ込むのを防止できる画像形成装置を提供することにある。
【課題を解決するための手段】
【0006】
上記した目的を達成するため、本発明の画像形成装置は、開口を有する本体筐体と、シートに現像剤像を形成する画像形成部と、前記開口を通して前記本体筐体に着脱可能に構成され、前記シートに前記現像剤像を定着させる定着器と、前記開口を閉じる閉位置と前記開口を開く開位置とに切替可能な外装カバーと、前記定着器と前記外装カバーとの間に設けられ、前記定着器から排出された前記シートを前記画像形成部に案内するシートガイドと、を備える。前記シートガイドは、第1軸心を中心に前記本体筐体に回動可能に支持され、前記定着器に近接した使用位置と、前記使用位置から前記本体筐体の外側に回動した退避位置とに切替可能で、かつ、前記シートガイドは、前記第1軸心から径方向にずれた所定部位に設けられ、前記本体筐体の当接部に当接することで、前記第1軸心を中心に前記使用位置から前記本体筐体の内側へ回動する角度を規制する規制部を有する。
【0007】
本願発明においては、シートガイドは、本体筐体に回動可能に支持されており、定着器に近接した使用位置と本体筐体の外側に回動した退避位置とに切替可能となっている。外装カバーが開位置となったときに、シートガイドを退避位置に位置させることで、定着器を容易に着脱することができる。
また、シートガイドには規制部が設けられている。定着器が取り外された状態で本体筐体の内側に向かってシートガイドが回動したとしても、上記規制部が本体筐体の当接部に当接することで上記シートガイドの回動角度が規制される。この結果、定着器を外した空間にシートガイドが入り込むのを抑制できる。
【0008】
また、前記規制部は、前記所定部位において、前記第1軸心に沿う方向に突出して設けられていてもよい。
本願発明においては、規制部は、第1軸心に沿う方向に突出している。これにより、規制部を、上記第1軸心方向に沿ってシートの搬送経路の外側に配置することが可能となるため、シートの搬送経路に干渉しない。
【0009】
また、前記シートガイドは、前記使用位置にあるとき前記外装カバー側を向き、前記定着器から排出された前記シートに接して案内する外案内領域を備えた外側ガイド面と、前記使用位置にあるとき前記外装カバー側と反対側を向き、前記定着器から排出された前記シートに接して案内する内案内領域を備えた内側ガイド面と、を有し、前記規制部は、前記シートの幅方向において前記外案内領域及び前記内案内領域の外側に位置していてもよい。
本願発明においては、シートガイドが、外側ガイド面と内側ガイド面とを備えている。規制部は、外側ガイド面の外案内領域、及び、内側ガイド面の内案内領域の外側になるように、設けられている。これにより、規制部は、シートの搬送経路に干渉しない。
【0010】
また、前記所定部位は、前記第1軸心よりも、前記定着器から離れる方向にずれた部位であってもよい。
本願発明においては、規制部が設けられる所定部位は、第1軸心よりも、定着器から離れる方向にずれている。これにより、第1軸心を定着器に近づけることができる。
(【0011】以降は省略されています)
この特許をJ-PlatPat(特許庁公式サイト)で参照する
関連特許
ブラザー工業株式会社
印刷装置
6日前
ブラザー工業株式会社
水塗布装置
22日前
ブラザー工業株式会社
水塗布装置
22日前
ブラザー工業株式会社
水塗布装置
22日前
ブラザー工業株式会社
水塗布装置
22日前
ブラザー工業株式会社
画像形成装置
27日前
ブラザー工業株式会社
画像形成装置
1日前
ブラザー工業株式会社
液体吐出装置
15日前
ブラザー工業株式会社
液体吐出装置
8日前
ブラザー工業株式会社
液体吐出装置
6日前
ブラザー工業株式会社
液体吐出ヘッド
6日前
ブラザー工業株式会社
液滴吐出ヘッド
8日前
ブラザー工業株式会社
情報処理プログラム
6日前
ブラザー工業株式会社
印刷カセット収納体
今日
ブラザー工業株式会社
タンクおよび液体吐出装置
6日前
ブラザー工業株式会社
プログラムおよび情報処理装置
6日前
ブラザー工業株式会社
プログラム、および、データ処理装置
6日前
ブラザー工業株式会社
画像処理装置及び認証処理プログラム
1日前
ブラザー工業株式会社
サポートプログラムおよび印刷システム
6日前
ブラザー工業株式会社
サポートプログラムおよび印刷システム
15日前
ブラザー工業株式会社
印刷管理システム、サーバ、印刷管理方法
22日前
ブラザー工業株式会社
液滴吐出装置、その制御方法及びプログラム
今日
ブラザー工業株式会社
プログラム、電子装置、方法、及び印刷システム
20日前
ブラザー工業株式会社
コンピュータプログラム、および、データ処理装置
6日前
ブラザー工業株式会社
液体吐出装置用ヘッド及びこれを備える液体吐出装置
6日前
ブラザー工業株式会社
情報処理プログラム、情報処理装置、及び情報処理方法
22日前
ブラザー工業株式会社
画像形成装置
14日前
ブラザー工業株式会社
現像カートリッジ
20日前
ブラザー工業株式会社
サポートプログラム
20日前
ブラザー工業株式会社
サポートプログラム
6日前
ブラザー工業株式会社
サポートプログラム
20日前
ブラザー工業株式会社
コンピュータプログラム、データ処理装置、および、シートの製造方法
22日前
ブラザー工業株式会社
タンクセット及び液体消費装置
27日前
ブラザー工業株式会社
端末装置のためのコンピュータプログラム、端末装置、及び、端末装置を制御するための方法
6日前
ブラザー工業株式会社
端末装置のためのコンピュータプログラム、端末装置、及び、端末装置を制御するための方法
6日前
個人
表示装置
1か月前
続きを見る
他の特許を見る