TOP
|
特許
|
意匠
|
商標
特許ウォッチ
Twitter
他の特許を見る
公開番号
2025150994
公報種別
公開特許公報(A)
公開日
2025-10-09
出願番号
2024052192
出願日
2024-03-27
発明の名称
空調機
出願人
ブラザー工業株式会社
代理人
個人
,
個人
主分類
F24F
1/039 20190101AFI20251002BHJP(加熱;レンジ;換気)
要約
【課題】より有用性が高い空調機を提供する。
【解決手段】空調機1は、空気及び水が流通する熱交換流路221,222を含む熱交換器22と、前記熱交換流路の上方から給水する給水体26と、前記給水体から供給され前記熱交換流路を通過した水を受けるドレンパンとを備え、前記熱交換流路の下部には、前記熱交換流路を流通した水が、前記熱交換器の外部に排出される際に通過する排出端であって、上下方向において差異を有する排出端を画定するメニスカス抑制構造が形成されている。
【選択図】図1
特許請求の範囲
【請求項1】
空気及び水が流通する熱交換流路を含む熱交換器と、
前記熱交換流路の上方から給水する給水体と、
前記給水体から供給され前記熱交換流路を通過した水を受けるドレンパンとを備え、
前記熱交換流路の下部には、前記熱交換流路を流通した水が、前記熱交換器の外部に排出される際に通過する排出端であって、上下方向において差異を有する排出端を画定するメニスカス抑制構造が形成されている
空調機。
続きを表示(約 1,200 文字)
【請求項2】
前記メニスカス抑制構造の下端部にて形成されている複数の前記排出端による稜線において、少なくとも一部の稜線は、水平線に対し傾斜している
請求項1に記載の空調機。
【請求項3】
前記熱交換流路は、積層方向に積層された複数の板部材により形成され、
前記板部材の下端部は、前記メニスカス抑制構造の前記排出端による稜線を形成し、
隣接する2つの前記板部材の下端部の形状を異ならせることにより、前記メニスカス抑制構造において隣接する2本の稜線による傾斜角を形成する
請求項1に記載の空調機。
【請求項4】
積層された複数の前記板部材において、一方の板部材の下端部による前記排出端の稜線と、他方の板部材の下端部による前記排出端の稜線とは、前記積層方向からの側面視において交差する
請求項3に記載の空調機。
【請求項5】
積層された複数の前記板部材において、いずれかの板部材の下端部による前記排出端の稜線のみが、水平線に対し傾斜している
請求項3に記載の空調機。
【請求項6】
前記熱交換流路は、積層された複数の板部材により形成され、
隣接する2つの前記板部材において、一方の板部材の下端部と前記ドレンパンとの離間距離と、他方の板部材の下端部と前記ドレンパンとの離間距離とを異ならせることにより、前記メニスカス抑制構造の前記排出端を形成する
請求項1に記載の空調機。
【請求項7】
前記熱交換流路は、積層された複数の板部材により形成され、
隣接する2つの前記板部材の間には、前記板部材間の離間距離を保つスペーサが配置されており、
前記スペーサが前記熱交換流路の下方から突出することにより、前記メニスカス抑制構造の前記排出端を形成する
請求項1に記載の空調機。
【請求項8】
前記メニスカス抑制構造は、前記熱交換流路の下部に接触して配置され、前記熱交換器とは別体となる接触部材にて構成され、
前記接触部材にて構成された前記メニスカス抑制構造は、前記熱交換器を収納する熱交ケース、又は前記熱交ケースが内装される本体の一部を成す
請求項1に記載の空調機。
【請求項9】
前記熱交換流路の内側面は、濡れ性を有する材料によって構成されている
請求項1から請求項6のいずれか1項に記載の空調機。
【請求項10】
前記熱交換流路は、排気が流通する第1熱交換流路であり、
前記熱交換器は、
給気が流通する第2熱交換流路を含み、
前記熱交換流路に流通する排気と、前記第2熱交換流路に流通する給気との間で熱交換させる
請求項1から請求項6のいずれか1項に記載の空調機。
発明の詳細な説明
【技術分野】
【0001】
本発明は、空調機に関する。
続きを表示(約 1,900 文字)
【背景技術】
【0002】
室内の空気を吸い込み、水の気化熱を利用し雰囲気温度を低下させて冷却した空気を室内に吹き出す気化冷却式の空調機が知られており、例えば特許文献1にて示される。特許文献1の空調機において、第2流路を流れる空気は顕熱交換器が有する複数のチューブ内を通過し、第1流路を流れる空気は複数のチューブの周りを通過する。この結果、第2流路を流れる空気と、第1流路を流れる空気と、が熱交換される。
【先行技術文献】
【特許文献】
【0003】
特開2014-092338号公報
【発明の概要】
【発明が解決しようとする課題】
【0004】
しかしながら、特許文献1の空調機においては、より有用性が高い空調機を提供する点に関する考慮がされていない。
【0005】
発明は斯かる事情に鑑みてなされたものであり、より有用性が高い空調機を提供することを目的とする。
【課題を解決するための手段】
【0006】
本開示の一態様に係る空調機は、空気及び水が流通する熱交換流路を含む熱交換器と、前記熱交換流路の上方から給水する給水体と、前記給水体から供給され前記熱交換流路を通過した水を受けるドレンパンとを備え、前記熱交換流路の下部には、前記熱交換流路を流通した水が、前記熱交換器の外部に排出される際に通過する排出端であって、上下方向において差異を有する排出端を画定するメニスカス抑制構造が形成されている。
【発明の効果】
【0007】
有用性が高い空調機を提供することができる。
【図面の簡単な説明】
【0008】
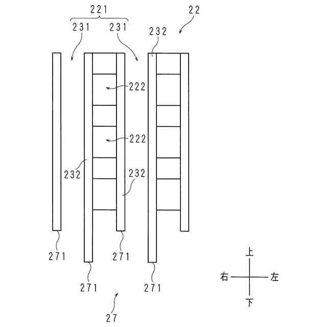
実施形態1(稜線が傾斜する形態)に係る空調機の一構成例を示す模式的側断面図である。
空調機の外観を示す斜視図である。
空調機の外観において各部品の脱着を示す説明図である。
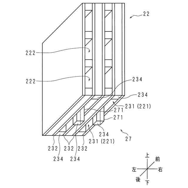
熱交換器の下方に形成されているメニスカス抑制構造を示す模式的斜視図である。
熱交換器の下方に形成されているメニスカス抑制構造を示す模式的側面図である。
実施形態2(稜線が同一水平面上に無い形態)に係る熱交換器の下方に形成されているメニスカス抑制構造を示す模式的側面図である。
実施形態3(稜線が段違いの形態)に係る熱交換器の下方に形成されているメニスカス抑制構造を示す模式的側断面図である。
隣接する板部材における段差の有無による対比を示す説明図である。
実施形態4(スペーサが突出する形態)に係る熱交換器の下方に形成されているメニスカス抑制構造を示す模式的側面図である。
実施形態5(接触部材)に係る熱交換器の下方に配置される接触部材(稜線が傾斜する形態)にて形成されているメニスカス抑制構造を示す模式的斜視図である。
熱交換器の下方に配置される接触部材(稜線が段違いの形態)にて形成されているメニスカス抑制構造を示す模式的斜視図である。
【発明を実施するための形態】
【0009】
(実施形態1)
以下、実施の形態について、図面に基づいて説明する。図1は、実施形態1に係る空調機1の一構成例を示す模式的側断面図である。空調機1は、箱状の本体11を備え、当該本体11の底部に設けられたキャスターによって、例えば工場等の被空調空間の床面に載置される。本体11は、空調機1の外郭を成す筐体を含み、当該本体11には、後述する各種の部品が内装される。図1に示す空調機1の載置状態を、当該空調機1の通常の使用態様として上下左右を示す。なお、図1は、図2におけるA-A線による断面を、図2上にて左側から模式的に示したものである。
【0010】
空調機1は、水を貯水する第1タンク71及び第2タンク72から成るタンク7、気化フィルタ21及び、熱交換器22を含む冷却ユニット2を備え、当該気化フィルタ21によって、第2タンク72から供給された水の気化熱を用いて雰囲気温度を低下させ、被空調空間を冷却するものであり、例えば気化冷却式の空調機1である。更に空調機1は、熱交換器22によって、第2タンク72から供給された水の顕熱及び気化熱を用いて雰囲気温度を低下させ、被空調空間を冷却する。すなわち、熱交換器22は、排気が流れる第1熱交換流路221と、給気が流れる第2熱交換流路222との間にて顕熱を交換する顕熱交換器として機能する。
(【0011】以降は省略されています)
この特許をJ-PlatPat(特許庁公式サイト)で参照する
関連特許
ブラザー工業株式会社
印刷装置
6日前
ブラザー工業株式会社
液体吐出装置
15日前
ブラザー工業株式会社
画像形成装置
1日前
ブラザー工業株式会社
液体吐出装置
8日前
ブラザー工業株式会社
液体吐出装置
6日前
ブラザー工業株式会社
液滴吐出ヘッド
8日前
ブラザー工業株式会社
液体吐出ヘッド
6日前
ブラザー工業株式会社
印刷カセット収納体
今日
ブラザー工業株式会社
情報処理プログラム
6日前
ブラザー工業株式会社
タンクおよび液体吐出装置
6日前
ブラザー工業株式会社
プログラムおよび情報処理装置
6日前
ブラザー工業株式会社
プログラム、および、データ処理装置
6日前
ブラザー工業株式会社
画像処理装置及び認証処理プログラム
1日前
ブラザー工業株式会社
サポートプログラムおよび印刷システム
6日前
ブラザー工業株式会社
サポートプログラムおよび印刷システム
15日前
ブラザー工業株式会社
液滴吐出装置、その制御方法及びプログラム
今日
ブラザー工業株式会社
コンピュータプログラム、および、データ処理装置
6日前
ブラザー工業株式会社
液体吐出装置用ヘッド及びこれを備える液体吐出装置
6日前
ブラザー工業株式会社
画像形成装置
14日前
ブラザー工業株式会社
サポートプログラム
6日前
ブラザー工業株式会社
端末装置のためのコンピュータプログラム、端末装置、及び、端末装置を制御するための方法
6日前
ブラザー工業株式会社
端末装置のためのコンピュータプログラム、端末装置、及び、端末装置を制御するための方法
6日前
個人
集熱器具
27日前
株式会社トヨトミ
五徳
1か月前
株式会社コロナ
空調装置
3か月前
株式会社コロナ
空調装置
1か月前
株式会社コロナ
空調装置
1か月前
株式会社コロナ
空調装置
1か月前
株式会社コロナ
加湿装置
2か月前
個人
UFO型空気清浄機
15日前
株式会社コロナ
空調装置
2か月前
個人
油ハネ防止カーテン
1か月前
株式会社コロナ
空調装置
2か月前
株式会社コロナ
風呂給湯機
2か月前
個人
太陽光パネル傾斜装置
1か月前
株式会社コロナ
空気調和機
3か月前
続きを見る
他の特許を見る