TOP
|
特許
|
意匠
|
商標
特許ウォッチ
Twitter
他の特許を見る
10個以上の画像は省略されています。
公開番号
2025139801
公報種別
公開特許公報(A)
公開日
2025-09-29
出願番号
2024038838
出願日
2024-03-13
発明の名称
空調装置
出願人
株式会社コロナ
代理人
主分類
F24F
11/79 20180101AFI20250919BHJP(加熱;レンジ;換気)
要約
【課題】通常運転の種類による風向のずれを阻止可能な空調装置を提供する。
【解決手段】室内側制御部100aは、温度検知手段としての熱交温度センサ27aにより検知された温度に基づき、駆動モータ29eの所定角度に応じた所定の制御値を補正する。これにより、暖房運転が実施され送風路36の温度が上昇し、左右ルーバー29を構成するリンク機構である連接板29c及びアーム29dが撓むことや、連接板29cが膨張することにより、駆動モータ29eを冷房運転の実施時と同一の所定角度に応じた設定パルス値にした場合に発生する所定角度のずれを解消することができるので、通常運転の種類により送風方向がずれる事態を阻止することができるため、製品性が向上する。
【選択図】図23
特許請求の範囲
【請求項1】
外部からの空気を取り入れ可能な空気取入口及び取り入れられた空気を外部へ吹出し可能な空気吹出口が開けられているケースと、
当該ケースに回転可能に支持され、回転することにより送風を行うファンと、
前記ケース内にあり、前記ファンを駆動させ前記ケースが設置された室内へ送風する通常運転の実施時、内部を通過する冷媒と熱交換することで送風される空気の温度を変える熱交換器と、
前記ケース内にあり、前記ファンにより送風される空気を前記空気吹出口へ案内する送風路と、
当該送風路に設置され、前記ファンにより送風される空気の送風方向を変更可能な風向板と、
当該風向板とリンク機構を介して接続され、前記風向板が所定角度となるよう駆動する駆動モータと、
前記通常運転の実施時に前記所定角度に応じた所定の制御値となるよう前記駆動モータを制御する制御部と、を備え、
前記通常運転の実施時に前記送風路を通過する空気の温度を直接的、あるいは間接的に検知する温度検知手段を有し、
前記制御部は、前記温度検知手段により検知された温度に基づき、前記駆動モータの前記所定角度に応じた前記所定の制御値を補正することを特徴とした空調装置。
続きを表示(約 720 文字)
【請求項2】
前記温度検知手段は、前記熱交換器の温度を検知する熱交温度センサであり、
前記制御部は、前記熱交温度センサでの検知値が所定の高温値以上であれば、前記駆動モータの前記所定角度に応じた前記所定の制御値を補正することを特徴とした請求項1記載の空調装置。
【請求項3】
前記制御部は、前記熱交温度センサでの検知値が前記所定の高温値以上であれば、前記熱交温度センサでの検知値が前記所定の高温値未満であるときにおける前記所定角度とのずれ量だけ前記所定の制御値を補正することを特徴とした請求項2記載の空調装置。
【請求項4】
前記送風路に設置された基板に複数の前記風向板が挿着され、
前記リンク機構は、
複数の前記風向板と連結して一様に連動させる連接板と、
一端側が前記連接板と接続し、他端側が前記駆動モータと接続するアームと、で構成されたことを特徴とした請求項1から3のいずれか1項に記載の空調装置。
【請求項5】
前記送風路には、前記ケースの長手方向に亘って形成されたガイド面に沿って移動する移動体と、当該移動体を移動させる駆動部と、前記移動体に設置され前記ガイド面に付着した塵埃を除去する清掃運転が可能な清掃手段と、を有した清掃機構があり、
前記清掃機構は、前記送風路において前記風向板の上流側に位置し、
前記制御部は、前記清掃手段の交換指示が出されたら前記駆動部を駆動させ前記移動体を前記ガイド面の所定位置で停止させ、
前記所定位置から前記空気吹出口までの間に位置する前記風向板が外されたことを特徴とした請求項4記載の空調装置。
発明の詳細な説明
【技術分野】
【0001】
この発明は、室内の温度を調節するための空調装置に関する。
続きを表示(約 2,000 文字)
【背景技術】
【0002】
従来、この種のものでは、ケース内の送風路に送風方向を変更可能な風向板が設置され、当該風向板とリンク機構を介して接続された駆動モータがケース内にあり、熱交換器を通過することで温度が変化した空気を送風する通常運転時において、駆動モータを所定の制御値にすることで風向板を所定角度にし、送風方向が設定可能な空調装置があった。
【先行技術文献】
【特許文献】
【0003】
特許第6942065号公報
【発明の概要】
【発明が解決しようとする課題】
【0004】
しかし、この従来のものでは、通常運転時に高温の空気を送風してリンク機構の温度が上昇すると、リンク機構に撓みや膨張が発生することで風向板が狙いの所定角度からずれる。よって、通常運転時において風向板を所定角度にするとき、送風される空気の温度に関わらず同一の所定の制御値で駆動モータを制御すると、風向板が狙いの所定角度からずれてしまい送風される空気の方向が設定値と異なる場合があることから、改善の余地があった。
【課題を解決するための手段】
【0005】
上記課題を解決するために、本発明の請求項1では、外部からの空気を取り入れ可能な空気取入口及び取り入れられた空気を外部へ吹出し可能な空気吹出口が開けられているケースと、
当該ケースに回転可能に支持され、回転することにより送風を行うファンと、
前記ケース内にあり、前記ファンを駆動させ前記ケースが設置された室内へ送風する通常運転の実施時、内部を通過する冷媒と熱交換することで送風される空気の温度を変える熱交換器と、
前記ケース内にあり、前記ファンにより送風される空気を前記空気吹出口へ案内する送風路と、
当該送風路に設置され、前記ファンにより送風される空気の送風方向を変更可能な風向板と、
当該風向板とリンク機構を介して接続され、前記風向板が所定角度となるよう駆動する駆動モータと、
前記通常運転の実施時に前記所定角度に応じた所定の制御値となるよう前記駆動モータを制御する制御部と、を備え、
前記通常運転の実施時に前記送風路を通過する空気の温度を直接的、あるいは間接的に検知する温度検知手段を有し、
前記制御部は、前記温度検知手段により検知された温度に基づき、前記駆動モータの前記所定角度に応じた前記所定の制御値を補正することを特徴とした。
【0006】
また、請求項2では、前記温度検知手段は、前記熱交換器の温度を検知する熱交温度センサであり、
前記制御部は、前記熱交温度センサでの検知値が所定の高温値以上であれば、前記駆動モータの前記所定角度に応じた前記所定の制御値を補正することを特徴とした。
【0007】
また、請求項3では、前記制御部は、前記熱交温度センサでの検知値が前記所定の高温値以上であれば、前記熱交温度センサでの検知値が前記所定の高温値未満であるときにおける前記所定角度とのずれ量だけ前記所定の制御値を補正することを特徴とした。
【0008】
また、請求項4では、前記送風路に設置された基板に複数の前記風向板が挿着され、
前記リンク機構は、
複数の前記風向板と連結して一様に連動させる連接板と、
一端側が前記連接板と接続し、他端側が前記駆動モータと接続するアームと、で構成されたことを特徴とした。
【0009】
また、請求項5では、前記送風路には、前記ケースの長手方向に亘って形成されたガイド面に沿って移動する移動体と、当該移動体を移動させる駆動部と、前記移動体に設置され前記ガイド面に付着した塵埃を除去する清掃運転が可能な清掃手段と、を有した清掃機構があり、
前記清掃機構は、前記送風路において前記風向板の上流側に位置し、
前記制御部は、前記清掃手段の交換指示が出されたら前記駆動部を駆動させ前記移動体を前記ガイド面の所定位置で停止させ、
前記所定位置から前記空気吹出口までの間に位置する前記風向板が外されたことを特徴とした。
【発明の効果】
【0010】
この発明によれば、通常運転の実施時に送風路を通過する空気の温度を直接的、あるいは間接的に検知する温度検知手段を有し、制御部は、温度検知手段により検知された温度に基づき、駆動モータの所定角度に応じた所定の制御値を補正するので、送風温度により風向板の所定角度がずれてしまい、送風される空気の方向が設定値と異なる事態が阻止できるため、製品性が向上する。
【図面の簡単な説明】
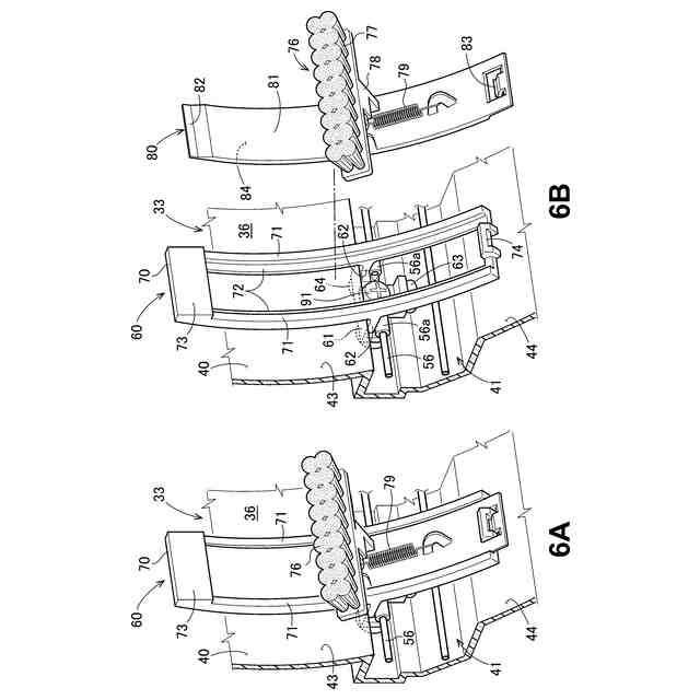
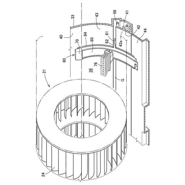
(【0011】以降は省略されています)
この特許をJ-PlatPat(特許庁公式サイト)で参照する
関連特許
個人
太陽光パネル傾斜装置
8日前
個人
シンプルクーラー
6日前
三菱電機株式会社
換気扇
7日前
三菱電機株式会社
換気扇
7日前
三菱電機株式会社
換気扇
7日前
株式会社ノーリツ
給湯装置
12日前
株式会社ノーリツ
温水装置
5日前
オリオン機械株式会社
空調装置
7日前
東亜事業協同組合
空調システム
7日前
オリオン機械株式会社
空調装置
7日前
三菱電機株式会社
全館空調システム
5日前
極東開発工業株式会社
給湯システム
12日前
大和ハウス工業株式会社
建物
12日前
リンナイ株式会社
コンロバーナ
12日前
株式会社ノーリツ
ヒートポンプ給湯装置
12日前
シャープ株式会社
イオン発生装置
5日前
株式会社シアーコーポレーション
冷暖房システム
12日前
ジオシステム株式会社
井水を熱源とする空調システム
12日前
パナソニックIPマネジメント株式会社
送風システム
12日前
パナソニックIPマネジメント株式会社
空調システム
13日前
株式会社インターセントラル
ハイブリッド空調システム
13日前
ダイキン工業株式会社
空気調和装置
12日前
ダイキン工業株式会社
空気調和装置
8日前
ダイキン工業株式会社
空気調和装置
12日前
パナソニックIPマネジメント株式会社
空気調和装置
12日前
清水建設株式会社
床吹き出し空調装置
12日前
パナソニックIPマネジメント株式会社
貯湯式給湯機
13日前
株式会社富士通ゼネラル
空気調和機
12日前
株式会社富士通ゼネラル
空気調和機
12日前
個人
通風装置
5日前
河村電器産業株式会社
風向板付扉及びキャビネット
12日前
株式会社ササクラ
空調システム
12日前
株式会社山本製作所
木質ペレット燃焼装置
6日前
住友重機械工業株式会社
空気浄化システムおよび空気浄化装置
5日前
パナソニックIPマネジメント株式会社
空調空間生成システム
7日前
大和ハウス工業株式会社
建物の空調構造
13日前
続きを見る
他の特許を見る