TOP
|
特許
|
意匠
|
商標
特許ウォッチ
Twitter
他の特許を見る
公開番号
2025171718
公報種別
公開特許公報(A)
公開日
2025-11-20
出願番号
2024077346
出願日
2024-05-10
発明の名称
固体燃料燃焼器
出願人
株式会社トヨトミ
代理人
主分類
F24B
1/18 20060101AFI20251113BHJP(加熱;レンジ;換気)
要約
【課題】 燃焼器本体の熱による変形を抑制し、変形が起こった場合でも容易に修復が可能な固体燃料燃焼器を提供する。
【解決手段】 底板11及び、底板11の縁部から立ち上がる側板12・13を有する燃焼器本体1と、燃焼器本体1内で底板11の上に配置された燃料載置部2と、底板11と燃料載置部2との間に形成される一次空気室4と、燃料載置部2の上部に形成され、固体燃料が燃焼する燃焼室3と、側板12と外壁部50とで構成され、燃焼室3と隣接する二次空気室5とを備える。燃料載置部2もしくは側板12の下部には、燃焼室3に一次空気を供給するための一次空気供給口4Aを備え、側板12の上部には、燃焼室3に二次空気を供給するための二次空気供給口3Aを備える。固定燃料燃焼器は、側板12・13の強度を外壁部50に比べて低く抑えることによって、側板12・13の熱による変形を外壁部50によって抑制する。
【選択図】 図1
特許請求の範囲
【請求項1】
底板及び、該底板の縁部から立ち上がる側板を有する燃焼器本体と、前記燃焼器本体内で前記底板の上に間隔をあけて配置された燃料載置部と、前記底板と前記燃料載置部との間に形成される一次空気室と、前記燃料載置部の上部に形成され、固体燃料が燃焼する燃焼室と、前記側板と前記側板の外側に間隔をあけて配置された外壁部とで構成され、前記燃焼室と隣接する二次空気室とを備え、
前記燃料載置部もしくは前記側板の下部に形成され、前記燃焼室に一次空気を供給するための一次空気供給口と、前記側板の上部に形成され、前記燃焼室に二次空気を供給するための二次空気供給口と、を備えた固体燃料燃焼器であって、
前記側板の強度を前記外壁部に比べて低く抑えることを特徴とする固体燃料燃焼器。
続きを表示(約 330 文字)
【請求項2】
前記外壁部は熱による変形を抑制する強度を有し、前記側板は熱による変形を許容する強度を有することを特徴とする請求項1記載の固体燃料燃焼器。
【請求項3】
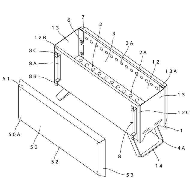
前記側板と前記外壁部との間には、前記側板と前記外壁部とを連接する連接部材を有することを特徴とする請求項1または2に記載の固体燃料燃焼器。
【請求項4】
前記連接部材は、前記側板及び前記外壁部の長手方向の両端部に近い位置の上部と下部に備えることを特徴とする請求項3記載の固体燃料燃焼器。
【請求項5】
前記側板の上部と下部に配置した前記連接部材を連結して一体に構成する連結部を有することを特徴とする請求項4に記載の固体燃料燃焼器。
発明の詳細な説明
【技術分野】
【0001】
本発明は、薪や木炭のような固体燃料を燃焼する固体燃料燃焼装置に関する。
続きを表示(約 1,300 文字)
【背景技術】
【0002】
キャンプなどで使用される焚火台とよばれる燃焼器がある。この燃焼器は、箱状の燃焼器本体と、燃焼器本体の底板の上に配置した燃料載置部と、燃料載置部の上部に形成される燃焼室とで構成されており、燃焼室の上部開口から燃料となる薪を投入する。燃料載置部には空気供給口が設けてあり、燃料に着火すると燃料の下側から燃焼空気が供給されて燃焼する。
【0003】
また、燃焼室の上部に二次空気供給口を設けたものがあり、二次空気供給口から燃料の上方に二次燃焼空気を供給すると、燃料から発生する未燃ガスを燃焼させることができ、不完全燃焼ガスや煙の発生を抑えることができる(特許文献1参照)。
【先行技術文献】
【特許文献】
【0004】
実用新案登録第3237480号公報
【発明の概要】
【発明が解決しようとする課題】
【0005】
固体燃料燃焼器は、燃焼によって燃焼器本体が高温となり、長時間の燃焼で燃焼器本体が変形することがある。側板の反りや歪みによって燃焼器本体の全体に捻じれが生じ、変形がひどくなると側板と底板との間に隙間が生じたり、燃焼器を設置したときにぐらつきが発生したりする。
【0006】
特に、特許文献1のように長手方向の側板が二重構造になっている場合には、炎が直接あたる内側の側板の変形が起こりやすいことがわかった。
【0007】
本発明の目的は、燃焼器本体の熱による変形を抑制すると共に、変形が起こった場合でも容易に変形前の状態に修復が可能な固体燃料燃焼器を提供することにある。
【課題を解決するための手段】
【0008】
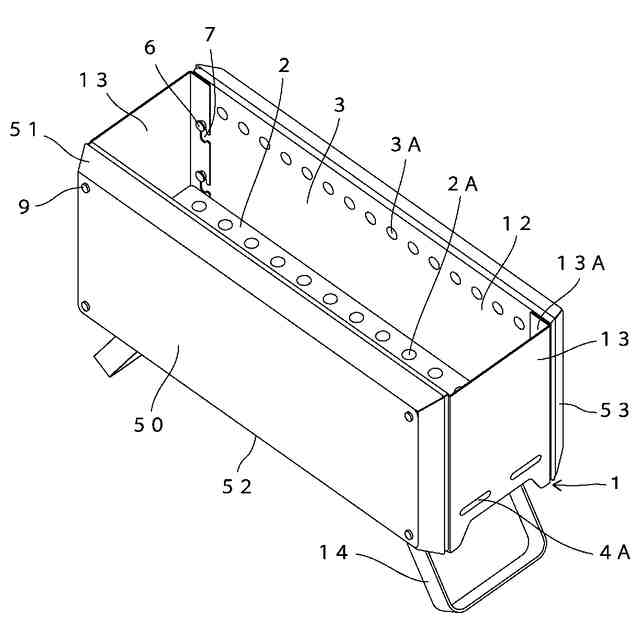
本発明は上記の課題を解決するもので、底板11及び、該底板11の縁部から立ち上がる側板12・13を有する燃焼器本体1と、前記燃焼器本体1内で前記底板11の上に間隔をあけて配置された燃料載置部2と、前記底板11と前記燃料載置部2との間に形成される一次空気室4と、前記燃料載置部2の上部に形成され、固体燃料が燃焼する燃焼室3と、前記側板12と前記側板12の外側に間隔をあけて配置された外壁部50とで構成され、前記燃焼室3と隣接する二次空気室5とを備え、前記燃料載置部2もしくは前記側板12の下部に形成され、前記燃焼室3に一次空気を供給するための一次空気供給口4Aと、前記側板12の上部に形成され、前記燃焼室3に二次空気を供給するための二次空気供給口3Aと、を備えた固体燃料燃焼器であって、前記側板12の強度を前記外壁部50に比べて低く抑えることを特徴とする固体燃料燃焼器である。
【0009】
また、前記外壁部50は熱による変形を抑制する強度を有し、前記側板12は熱による変形を許容する強度を有することにより、側板12の変形が生じた場合でも、外壁部50の変形が生じることがなく、燃焼器本体1全体の歪みを防ぐことができる。
【0010】
また、前記側板12と前記外壁部50との間には、前記側板12と前記外壁部50とを連接する連接部材8を有することにより、外壁部50と連接部材8によって側板12の変形を抑制することができる。
(【0011】以降は省略されています)
この特許をJ-PlatPat(特許庁公式サイト)で参照する
関連特許
株式会社トヨトミ
五徳
28日前
株式会社トヨトミ
石油燃焼器
1か月前
株式会社トヨトミ
固体燃料燃焼器
1日前
個人
集熱器具
14日前
株式会社トヨトミ
五徳
28日前
個人
UFO型空気清浄機
2日前
株式会社コロナ
空調装置
2か月前
株式会社コロナ
空調装置
3か月前
株式会社コロナ
加湿装置
2か月前
株式会社コロナ
空調装置
1か月前
株式会社コロナ
空調装置
1か月前
株式会社コロナ
給湯装置
3か月前
株式会社コロナ
空調装置
28日前
株式会社コロナ
空調装置
28日前
個人
油ハネ防止カーテン
17日前
株式会社コロナ
風呂給湯機
2か月前
株式会社コロナ
空気調和機
2か月前
個人
住宅換気空調システム
3か月前
個人
太陽光パネル傾斜装置
1か月前
株式会社コロナ
空気調和機
3か月前
株式会社コロナ
直圧式給湯機
4か月前
株式会社コロナ
温水暖房装置
28日前
株式会社コロナ
暖房システム
1か月前
株式会社コロナ
貯湯式給湯機
1か月前
株式会社コロナ
貯湯式給湯機
1か月前
株式会社パロマ
給湯器
4か月前
ホーコス株式会社
排気フード
3か月前
個人
シンプルクーラー
1か月前
株式会社コロナ
直圧式給湯機
2か月前
三菱電機株式会社
換気扇
1か月前
三菱電機株式会社
換気扇
1か月前
ホーコス株式会社
換気扇取付枠
2か月前
株式会社コロナ
輻射式冷房装置
3か月前
三菱電機株式会社
換気扇
1か月前
株式会社コロナ
貯湯式給湯装置
4か月前
株式会社パロマ
給湯暖房機
4か月前
続きを見る
他の特許を見る