TOP
|
特許
|
意匠
|
商標
特許ウォッチ
Twitter
他の特許を見る
10個以上の画像は省略されています。
公開番号
2025165649
公報種別
公開特許公報(A)
公開日
2025-11-05
出願番号
2024069849
出願日
2024-04-23
発明の名称
貯湯給湯装置
出願人
株式会社ノーリツ
代理人
個人
主分類
F24H
9/02 20060101AFI20251028BHJP(加熱;レンジ;換気)
要約
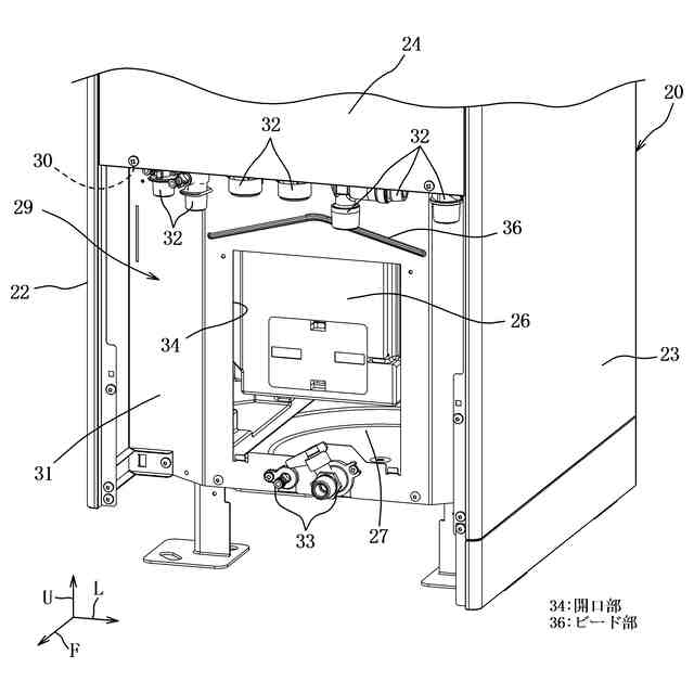
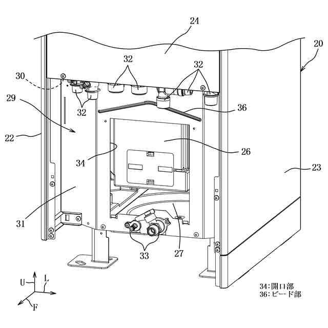
【課題】外装ケースの内部への雨水の侵入を防止することができる貯湯給湯装置を提供すること。
【解決手段】湯水を貯留する貯湯タンク(2)と、前記貯湯タンク(2)を収容する箱状の外装ケース(20)を有する貯湯給湯装置(1)において、前記外装ケース(20)は、前記外装ケース(20)の一部に形成された開口部(34)と、前記開口部(34)を覆う蓋(35)を有し、前記開口部(34)の上側近傍には、前記外装ケース(20)の外側に突出する凸形状のビード部(36)を有し、前記ビード部(36)は、前記開口部(34)の幅方向外側まで延びている。
【選択図】図3
特許請求の範囲
【請求項1】
湯水を貯留する貯湯タンクと、前記貯湯タンクを収容する箱状の外装ケースを有する貯湯給湯装置において、
前記外装ケースは、前記外装ケースの一部に形成された開口部と、前記開口部を覆う蓋を有し、
前記開口部の上側近傍には、前記外装ケースの外側に突出する凸形状のビード部を有し、
前記ビード部は、前記開口部の幅方向外側まで延びていることを特徴とする貯湯給湯装置。
続きを表示(約 330 文字)
【請求項2】
前記ビード部は、前記開口部の中央部に対応する部位から前記開口部の幅方向外側に移行する程下方へ移行する下り傾斜状に形成されたことを特徴とする請求項1に記載の貯湯給湯装置。
【請求項3】
前記蓋の上端部から前記外装ケースの内側に向かって延びてから上方へ立ち上がる断面L形の折曲部が形成され、前記折曲部は、前記外装ケースの内部へ挿入した状態で固定されることを特徴とする請求項1又は2に記載の貯湯給湯装置。
【請求項4】
前記蓋は、前記ビード部に外側から重なるように形成された蓋ビード部を有し、前記蓋ビード部を前記ビード部に重ねた状態で前記外装ケースに固定されることを特徴とする請求項1又は2に記載の貯湯給湯装置。
発明の詳細な説明
【技術分野】
【0001】
本発明は、貯湯給湯装置に関し、特に貯湯タンクを収容する外装ケースの内部への雨水の侵入を防止するものに関する。
続きを表示(約 1,600 文字)
【背景技術】
【0002】
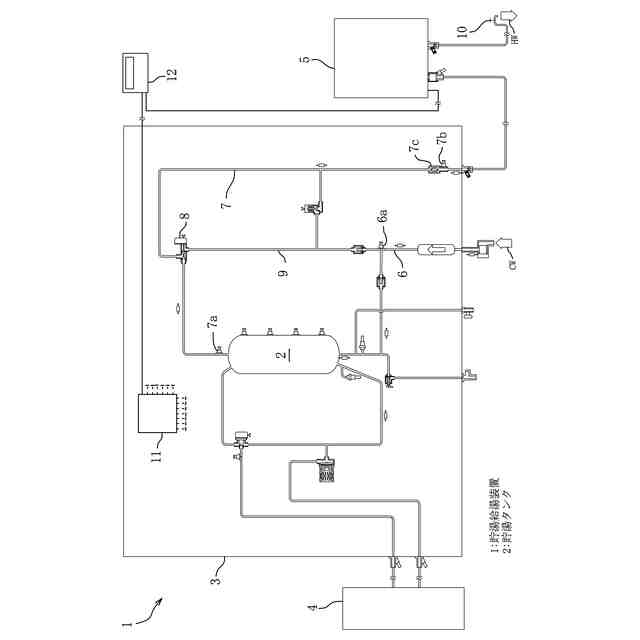
通常、屋外に設置されることが多い貯湯給湯装置は、外装ケースによって内部のセンサや制御機器類に雨水がかからないように保護されている。外装ケースはほぼ直方体状に形成され、その内部に貯湯タンク、配管類、バルブ類、ポンプ類、センサや制御機器類が収容されている。外装ケースの一側面の下部には、外部から導入された配管等を接続するための配管スペース部が設けられている。
【0003】
配管スペース部の接続口取付板には、ケース内の複数の内部の配管と複数の外部の配管とを各々接続する複数の継手が取り付けられていると共に、メンテナンス用の開口部が形成されている。開口部は蓋で覆われ、蓋の両端部がビスにて接続口取付板に固定されている。
【0004】
特許文献1においては、外装ケースの前面下部にケース内の複数の内部の配管と複数の外部の配管を接続するためのスペースが設けられ、このスペースの後側に段差凹み部が設けられている。段差凹み部には排水栓操作窓が開口されると共に、排水栓操作窓を覆う窓カバーが着脱可能に取付けられ、配管を接続した状態で窓カバーを脱着してタンク内部に収容された排水栓の操作が可能となる。
【先行技術文献】
【特許文献】
【0005】
特許第4030406号公報
【発明の概要】
【発明が解決しようとする課題】
【0006】
特許文献1においては、外装ケースに風雨等が降りかかって段差凹み部まで雨水が流れてきた場合、排水栓操作窓と窓カバーの隙間からケース内部へ雨水が侵入してセンサや制御機器に水が付着して故障する虞がある。
本発明の目的は、貯湯タンクを収容する外装ケースの内部への雨水の侵入を防止することができる貯湯給湯装置を提供する。
【発明の概要】
課題を解決するため手段
【0007】
請求項1の貯湯給湯装置は、湯水を貯留する貯湯タンクと、前記貯湯タンクを収容する箱状の外装ケースを有する貯湯給湯装置において、前記外装ケースは、前記外装ケースの一部に形成された開口部と、前記開口部を覆う蓋を有し、前記開口部の上側近傍には、前記外装ケースの外側に突出する凸形状のビード部を有し、前記ビード部は、前記開口部の幅方向外側まで延びていることを特徴としている。
【0008】
上記の構成によれば、外装ケースに風雨が降りかかって開口部の上側近傍まで雨水が流れてきた際、断面凸形状のビード部によって開口部の方向への雨水の流下が堰き止められて開口部の幅方向外側へ流れるので、開口部からケース内部への雨水の流入を防止することができる。
【0009】
請求項2の貯湯給湯装置は、請求項1の発明において、前記ビード部は、前記開口部の中央部に対応する部位から前記開口部の幅方向外側に移行する程下方へ移行する下り傾斜状に形成されたことを特徴としている。
上記の構成によれば、ビード部の傾斜によって堰き止められた雨水が開口部の幅方向外側に向かって流下していくように案内されるので、開口部からケース内部への雨水の侵入を確実に防止することができる。
【0010】
請求項3の貯湯給湯装置は、請求項1又は2の発明において、前記蓋の上端部から前記外装ケースの内側に向かって延びてから上方へ立ち上がる断面L形の折曲部が形成され、前記折曲部は前記外装ケースの内部へ挿入した状態で固定されることを特徴としている。
上記の構成によれば、蓋の上端部と開口部の隙間から雨水が侵入した場合、折曲部によってケース内部への侵入が堰き止められてケース外側へ押し戻されるので、ケース内部への雨水の侵入を防止することができる。
(【0011】以降は省略されています)
この特許をJ-PlatPat(特許庁公式サイト)で参照する
関連特許
株式会社ノーリツ
ふろ装置
21日前
株式会社ノーリツ
温水装置
1か月前
株式会社ノーリツ
温水装置
1か月前
株式会社ノーリツ
給湯装置
1か月前
株式会社ノーリツ
貯湯式熱源器
22日前
株式会社ノーリツ
貯湯給湯装置
22日前
株式会社ノーリツ
貯湯給湯装置
23日前
株式会社ノーリツ
貯湯給湯装置
23日前
株式会社ノーリツ
浴室除菌システム
1か月前
株式会社ノーリツ
住設機器の取付構造
1か月前
株式会社ノーリツ
ヒートポンプ給湯装置
1か月前
株式会社ノーリツ
入浴システムおよびプログラム
21日前
個人
集熱器具
21日前
株式会社トヨトミ
五徳
1か月前
株式会社コロナ
給湯装置
4か月前
個人
油ハネ防止カーテン
24日前
株式会社コロナ
加湿装置
2か月前
株式会社コロナ
空調装置
1か月前
株式会社コロナ
空調装置
1か月前
株式会社コロナ
空調装置
1か月前
個人
UFO型空気清浄機
9日前
株式会社コロナ
空調装置
3か月前
株式会社コロナ
空調装置
2か月前
株式会社コロナ
空調装置
2か月前
株式会社コロナ
空気調和機
3か月前
株式会社コロナ
空気調和機
4か月前
個人
住宅換気空調システム
3か月前
個人
太陽光パネル傾斜装置
1か月前
株式会社コロナ
風呂給湯機
2か月前
個人
シンプルクーラー
1か月前
株式会社コロナ
貯湯式給湯機
2か月前
株式会社コロナ
直圧式給湯機
3か月前
株式会社パロマ
給湯器
4か月前
ホーコス株式会社
排気フード
3か月前
株式会社コロナ
温水暖房装置
1か月前
株式会社コロナ
貯湯式給湯機
1か月前
続きを見る
他の特許を見る