TOP
|
特許
|
意匠
|
商標
特許ウォッチ
Twitter
他の特許を見る
公開番号
2025166521
公報種別
公開特許公報(A)
公開日
2025-11-06
出願番号
2024070607
出願日
2024-04-24
発明の名称
貯湯式熱源器
出願人
株式会社ノーリツ
代理人
弁理士法人深見特許事務所
主分類
F24H
1/36 20220101AFI20251029BHJP(加熱;レンジ;換気)
要約
【課題】熱交換効率が向上した貯湯式熱源器を提供する。
【解決手段】貯湯式熱源器は、貯留部と、燃焼部と、管路と、バッフル板とを備える。貯留部は、湯水を貯留する。燃焼部は、燃料が燃焼される。管路は、貯留部の内部に配置され、かつ燃焼部に連通する。バッフル板は、管路の内部に配置されている。バッフル板は、板体と、偏向部と、取付板とを有する。板体は、第1面と、第2面とを有する。第2面は、第1面の反対に位置する。偏向部は、第1面に対して傾斜している。取付板は、板体に取り付けられる。板体には、第1面から第2面に向かって貫通する開口部が設けられている。取付板は、バッフル板の長手方向に対して垂直であり、かつ第1面に平行である方向における開口部の中央領域を塞ぐ。取付板は、中央領域よりも外側にある外側領域を開口する。
【選択図】図2
特許請求の範囲
【請求項1】
湯水を貯留する貯留部と、
燃料が燃焼される燃焼部と、
前記貯留部の内部に配置され、かつ前記燃焼部に連通する管路と、
前記管路の内部に配置されたバッフル板とを備え、
前記バッフル板は、第1面と、前記第1面の反対に位置する第2面とを有する板体と、前記第1面に対して傾斜している偏向部と、前記板体に取り付けられる取付板とを有し、
前記板体には、前記第1面から前記第2面に向かって貫通する開口部が設けられており、
前記取付板は、前記バッフル板の長手方向に対して垂直であり、かつ前記第1面に平行である方向における前記開口部の中央領域を塞ぎ、かつ前記中央領域よりも外側にある外側領域を開口する、貯湯式熱源器。
続きを表示(約 180 文字)
【請求項2】
前記燃焼部にて発生する燃焼ガスが流れる方向において、前記管路は上流領域と下流領域とを含み、
前記取付板は、前記上流領域に配置されている、請求項1に記載の貯湯式熱源器。
【請求項3】
前記取付板は、係止部を有し、
前記係止部を用いて前記取付板は前記板体に取り付けられる、請求項1または請求項2に記載の貯湯式熱源器。
発明の詳細な説明
【技術分野】
【0001】
本発明は、貯湯式熱源器に関する。
続きを表示(約 1,200 文字)
【背景技術】
【0002】
例えば特開2004-44949号公報(特許文献1)には、貯湯式熱源器が記載されている。特許文献1に記載の貯湯式熱源器は、湯水を貯湯する貯留部と、燃焼ガスが通過する管路と、当該管路の内部に配置されたバッフル板とを有している。管路内に燃焼ガスが通過することで、貯留部に貯留されている湯水が加熱される。
【先行技術文献】
【特許文献】
【0003】
特開2004-44949号公報
【発明の概要】
【発明が解決しようとする課題】
【0004】
しかしながら、上記のような貯湯式熱源器における熱交換効率は改善の余地がある。
【0005】
本開示は、上記のような課題を解決するために成されたものであり、本開示の目的は、熱交換効率が向上した貯湯式熱源器を提供することである。
【課題を解決するための手段】
【0006】
本開示の貯湯式熱源器は、貯留部と、燃焼部と、管路と、バッフル板とを備える。貯留部は、湯水を貯留する。燃焼部は、燃料が燃焼される。管路は、貯留部の内部に配置され、かつ燃焼部に連通する。バッフル板は、管路の内部に配置されている。バッフル板は、板体と、偏向部と、取付板とを有する。板体は、第1面と、第2面とを有する。第2面は、第1面の反対に位置する。偏向部は、第1面に対して傾斜している。取付板は、板体に取り付けられる。板体には、第1面から第2面に向かって貫通する開口部が設けられている。取付板は、バッフル板の長手方向に対して垂直であり、かつ第1面に平行である方向における開口部の中央領域を塞ぐ。取付板は、中央領域よりも外側にある外側領域を開口する。
【発明の効果】
【0007】
上記によれば、熱交換効率が向上した貯湯式熱源器を得ることができる。
【図面の簡単な説明】
【0008】
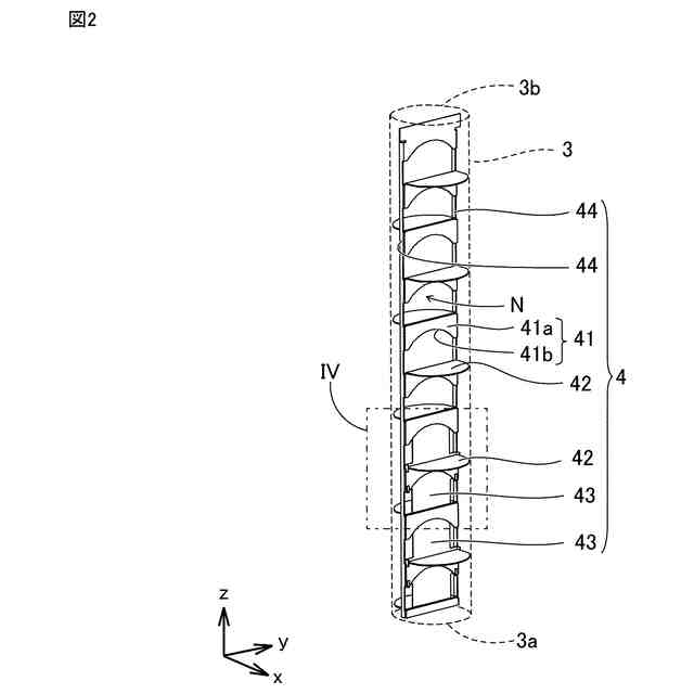
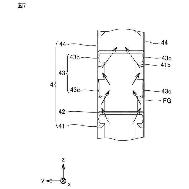
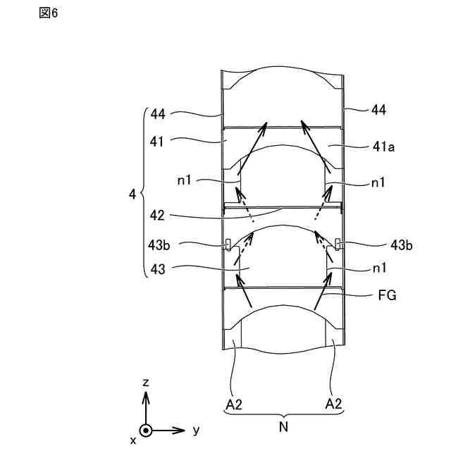
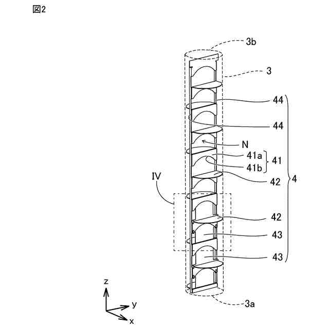
実施の形態に係る貯湯式熱源器の内部構造を示す概略断面図である。
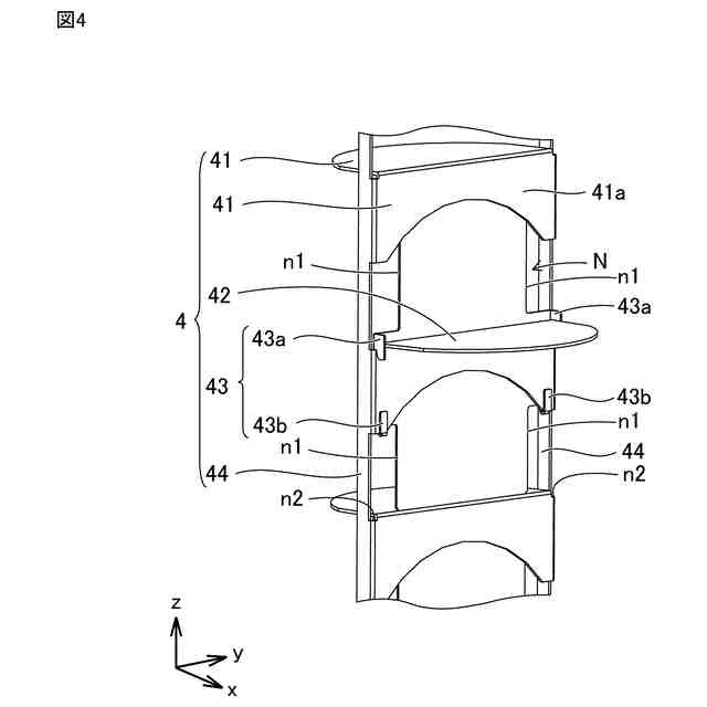
実施の形態に係る管路の内部に配置されたバッフル板の概略斜視図である。
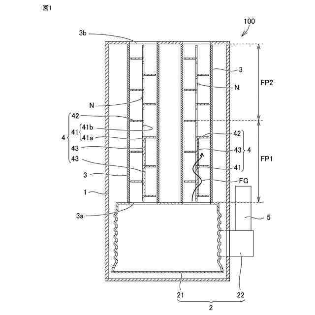
実施の形態に係るバッフル板の分解斜視図である。
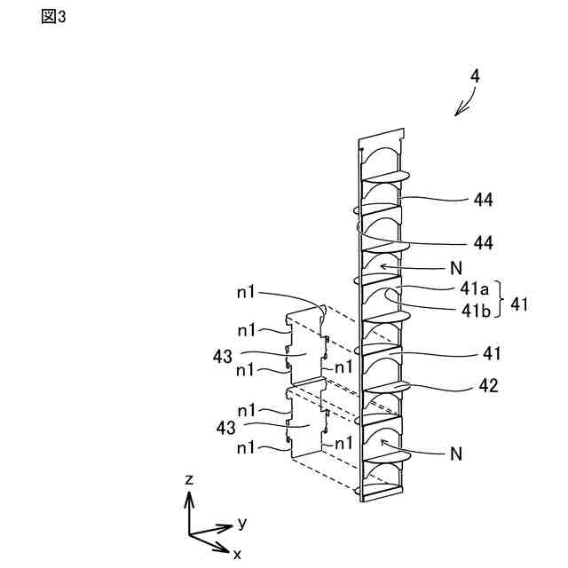
図2の領域IV-IVにおけるバッフル板の部分拡大斜視図である。
取付板が板体から取り外されている状態におけるバッフル板の部分拡大正面図である。
取付板が板体に取り付けられている状態におけるバッフル板の部分拡大正面図である。
取付板が板体に取り付けられている状態におけるバッフル板の部分拡大背面図である。
【発明を実施するための形態】
【0009】
本発明の実施形態の詳細を、図面を参照しながら説明する。以下の図面では、同一又は相当する部分に同一の参照符号を付し、重複する説明は繰り返さないものとする。
【0010】
(貯湯式熱源器の構成)
以下に、貯湯式熱源器100の構成を説明する。
(【0011】以降は省略されています)
この特許をJ-PlatPat(特許庁公式サイト)で参照する
関連特許
個人
集熱器具
1か月前
株式会社トヨトミ
五徳
1か月前
株式会社コロナ
空調装置
1か月前
株式会社コロナ
空調装置
1か月前
株式会社コロナ
空調装置
1か月前
個人
油ハネ防止カーテン
1か月前
個人
UFO型空気清浄機
18日前
個人
太陽光パネル傾斜装置
1か月前
株式会社コロナ
温水暖房装置
1か月前
個人
シンプルクーラー
1か月前
三菱電機株式会社
換気扇
1か月前
三菱電機株式会社
換気扇
10日前
三菱電機株式会社
換気扇
1か月前
三菱電機株式会社
換気扇
1か月前
株式会社パロマ
ガスコンロ
1か月前
株式会社パロマ
ガスコンロ
1か月前
株式会社パロマ
ガスコンロ
1か月前
株式会社トヨトミ
固体燃料燃焼器
17日前
株式会社ノーリツ
温水装置
1か月前
株式会社ノーリツ
給湯装置
1か月前
株式会社コロナ
潜熱回収型給湯機
2日前
株式会社ノーリツ
温水装置
1か月前
大阪瓦斯株式会社
ガスコンロ
1か月前
株式会社ノーリツ
貯湯給湯装置
1か月前
株式会社ノーリツ
貯湯給湯装置
1か月前
株式会社ノーリツ
貯湯給湯装置
1か月前
オリオン機械株式会社
空調装置
1か月前
オリオン機械株式会社
空調装置
1か月前
東亜事業協同組合
空調システム
1か月前
シャープ株式会社
送風機
1か月前
ミサワホーム株式会社
目隠し体
2か月前
株式会社パロマ
給湯装置
1か月前
株式会社福地建装
換気調湿装置
2日前
象印マホービン株式会社
電気機器
17日前
株式会社ノーリツ
ふろ装置
1か月前
ブラザー工業株式会社
空調機
1か月前
続きを見る
他の特許を見る