TOP
|
特許
|
意匠
|
商標
特許ウォッチ
Twitter
他の特許を見る
10個以上の画像は省略されています。
公開番号
2025161215
公報種別
公開特許公報(A)
公開日
2025-10-24
出願番号
2024064219
出願日
2024-04-11
発明の名称
空調装置
出願人
株式会社コロナ
代理人
主分類
F24F
1/0007 20190101AFI20251017BHJP(加熱;レンジ;換気)
要約
【課題】ガイド面部を清掃することのできる空調装置を提供する。
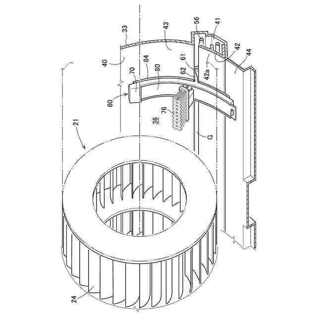
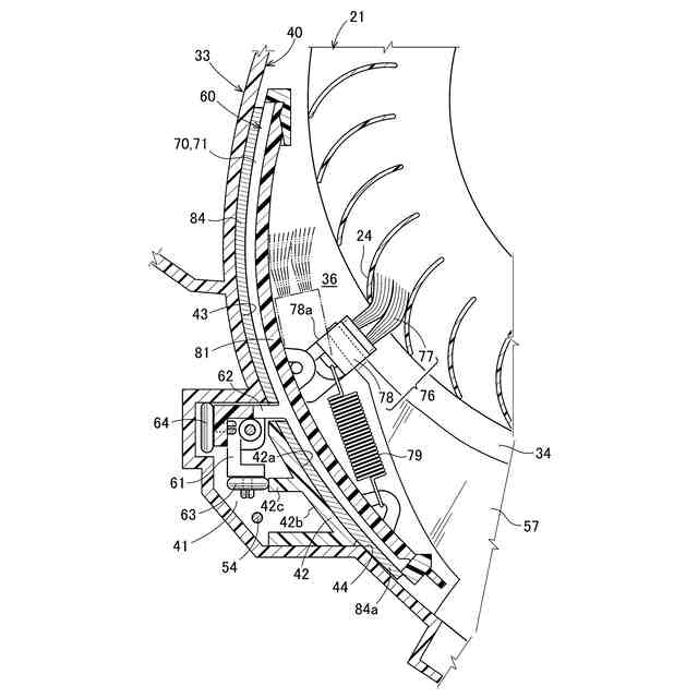
【解決手段】ケース30には、ファン21の送風する空気を空気吹出口に向かってガイドするガイド面部40がファン21の軸線が延びる方向に沿って形成され、ガイド面部40に沿って移動させて、ガイド面部40に付着した塵埃を清掃可能な清掃機構50を備え、清掃機構50は、ガイド面部40に沿って移動する移動体60と、ガイド面部40に沿って形成された支持部70と、移動体60をモータの駆動により移動させる従動部61と、ガイド面部40に付着した塵埃を拭き取るシート84とを有した空調装置10において、清掃機構50は、シート84と支持部70の間に弾力性を有した弾性部85を設けたことで、ガイド面部40への過剰な押し付けを防止し、ガイド面部40に傷がつくのを防止することができる。
【選択図】図9
特許請求の範囲
【請求項1】
外部からの空気を取り入れ可能な空気取入口及び取り入れられた空気を外部へ吹出し可能な空気吹出口が開けられているケースと、このケースに回転可能に支持され回転することにより送風を行なうファンとを備え、
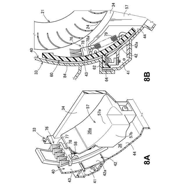
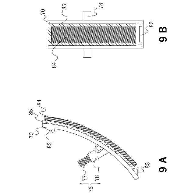
前記ケースには、前記ファンの送風する空気を前記空気吹出口に向かってガイドするガイド面部が前記ファンの軸線が延びる方向に沿って形成され、
前記ガイド面部に沿って移動させて、前記ガイド面部に付着した塵埃を清掃可能な清掃機構を備え、
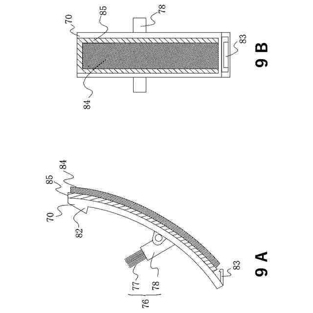
前記清掃機構は、前記ガイド面部に沿って移動する移動体と、前記ガイド面に沿って形成された支持部と、前記移動体をモータの駆動により移動させる従動部と、前記ガイド面部に付着した塵埃を拭き取るシートとを有した空調装置において、
前記清掃機構は、前記シートと前記支持部の間に弾力性を有した弾性部を設けたことを特徴とする空調装置。
続きを表示(約 160 文字)
【請求項2】
前記弾性部は、前記シートの一面の全体を覆うようにしたことを特徴とする請求項1記載の空調装置。
【請求項3】
前記シートは、フェルトまたは不織布から構成され、
前記弾性部は、ウレタンゲルまたはウレタンフォームから構成されていることと特徴とする請求項1または2記載の空調装置。
発明の詳細な説明
【技術分野】
【0001】
本発明は、ケースの内部の塵埃を払拭する払拭機構を備えた空調装置に関する。
続きを表示(約 1,100 文字)
【背景技術】
【0002】
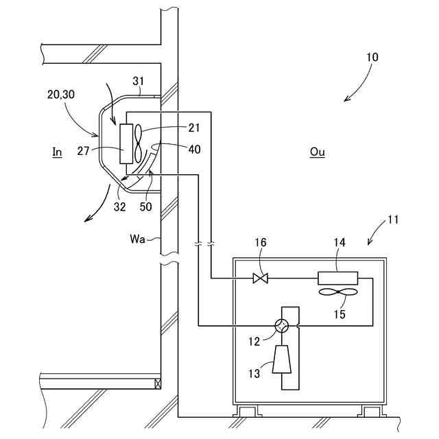
住宅等の室内の温度を調節するのに広く空調装置が用いられている。空調装置に関する従来技術として特許文献1に開示される技術がある。
【0003】
特許文献1に開示された空調装置は、ケースの内部の塵埃を払拭するシートを備えている。この空調装置によれば、シートをガイド面に接触させた状態でケースの一端から他端まで移動させることにより、ガイド面に付着した塵埃を除去することができる。
【先行技術文献】
【特許文献】
【0004】
特開2024-001985号公報
【発明の概要】
【発明が解決しようとする課題】
【0005】
先行技術のようにシートを用いてガイド面の清掃を繰り返すと、不織布やフェルトで構成されたシートが潰れて清掃性が低下する恐れや、潰れたシートによりガイド面に傷がつく可能性があった。
【0006】
本発明は、長期間清掃性能を維持すると共に、ガイド面に傷を与えない空調装置の提供を課題とする。
【課題を解決するための手段】
【0007】
上記課題を解決するために、本発明の請求項1では、外部からの空気を取り入れ可能な空気取入口及び取り入れられた空気を外部へ吹出し可能な空気吹出口が開けられているケースと、このケースに回転可能に支持され回転することにより送風を行なうファンとを備え、前記ケースには、前記ファンの送風する空気を前記空気吹出口に向かってガイドするガイド面部が前記ファンの軸線が延びる方向に沿って形成され、前記ガイド面部に沿って移動させて、前記ガイド面部に付着した塵埃を清掃可能な清掃機構を備え、前記清掃機構は、前記ガイド面部に沿って移動する移動体と、前記ガイド面に沿って形成された支持部と、前記移動体をモータの駆動により移動させる従動部と、前記ガイド面部に付着した塵埃を拭き取る払拭部とを有した空調装置において、前記清掃機構は、前記シートと前記支持部の間に弾力性を有した。
【0008】
また、前記弾性部は、前記シートの一面の全体を覆うようにした。
【0009】
また、前記シートは、フェルトまたは不織布から構成され、前記弾性部は、ウレタンゲルまたはウレタンフォームから構成されている。
【発明の効果】
【0010】
ガイド面部への過剰な押し付けを防止し、ガイド面部に傷がつくのを防止することができると共に、弾性部によりシートの潰れを抑制し、長期間清掃性能を維持することができる。
【図面の簡単な説明】
(【0011】以降は省略されています)
この特許をJ-PlatPat(特許庁公式サイト)で参照する
関連特許
株式会社コロナ
空調装置
1か月前
株式会社コロナ
空調装置
1か月前
株式会社コロナ
空調装置
1か月前
株式会社コロナ
温水暖房装置
1か月前
株式会社コロナ
貯湯式給湯機
2か月前
株式会社コロナ
潜熱回収型給湯機
2日前
株式会社コロナ
給水装置及びこれを用いた加湿装置
2か月前
株式会社コロナ
貯湯式給湯装置
1か月前
個人
集熱器具
1か月前
株式会社トヨトミ
五徳
1か月前
株式会社コロナ
加湿装置
2か月前
株式会社コロナ
空調装置
1か月前
株式会社コロナ
空調装置
3か月前
個人
油ハネ防止カーテン
1か月前
株式会社コロナ
給湯装置
4か月前
株式会社コロナ
空調装置
1か月前
株式会社コロナ
空調装置
2か月前
個人
UFO型空気清浄機
18日前
株式会社コロナ
空調装置
2か月前
株式会社コロナ
空調装置
1か月前
株式会社コロナ
空気調和機
4か月前
株式会社コロナ
空気調和機
3か月前
株式会社コロナ
風呂給湯機
2か月前
個人
太陽光パネル傾斜装置
1か月前
個人
住宅換気空調システム
3か月前
株式会社パロマ
給湯器
5か月前
ホーコス株式会社
排気フード
4か月前
株式会社コロナ
暖房システム
2か月前
株式会社コロナ
貯湯式給湯機
2か月前
株式会社コロナ
温水暖房装置
1か月前
株式会社コロナ
貯湯式給湯機
2か月前
個人
シンプルクーラー
1か月前
株式会社コロナ
直圧式給湯機
5か月前
株式会社コロナ
直圧式給湯機
3か月前
株式会社コロナ
輻射式冷房装置
3か月前
三菱電機株式会社
換気扇
10日前
続きを見る
他の特許を見る