TOP
|
特許
|
意匠
|
商標
特許ウォッチ
Twitter
他の特許を見る
10個以上の画像は省略されています。
公開番号
2025161214
公報種別
公開特許公報(A)
公開日
2025-10-24
出願番号
2024064218
出願日
2024-04-11
発明の名称
空調装置
出願人
株式会社コロナ
代理人
主分類
F24F
11/30 20180101AFI20251017BHJP(加熱;レンジ;換気)
要約
【課題】適切なタイミングでブラシの交換を促す報知を行う空調装置を提供する。
【解決手段】回転する貫流ファン21にブラシ76を接触させて貫流ファン21の清掃を行う清掃運転の実施時に、予め設定されたPWM制御の設定出力値を出力すると共に、内ファンモータ25が清掃運転時の設定回転数で回転していない場合、所定出力値をフィードバック制御して補正出力値に制御する制御装置100とを備えた空調装置10において、制御装置100は、清掃運転における補正出力値に基づいて、ブラシ76の劣化を検知したら、ブラシ76の交換を促す報知を行うことで、ブラシ76の劣化を正確に判定することができると共に、適切なタイミングでブラシ76の交換を促すことができる。
【選択図】図11
特許請求の範囲
【請求項1】
外部からの空気を取り入れ可能な空気取入口及び取り入れられた空気を外部へ吹出し可能な空気吹出口が開けられているケースと、
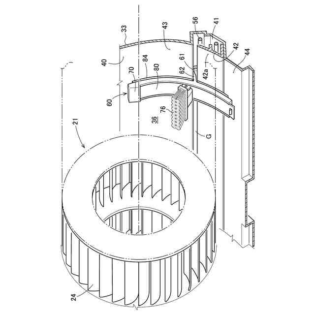
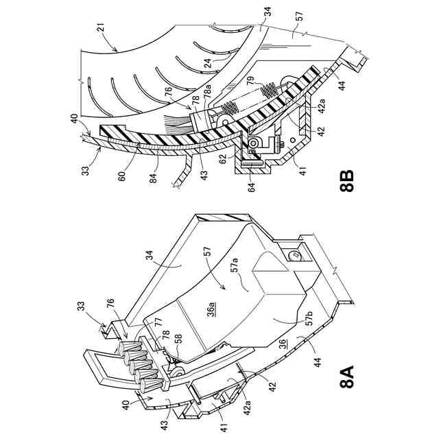
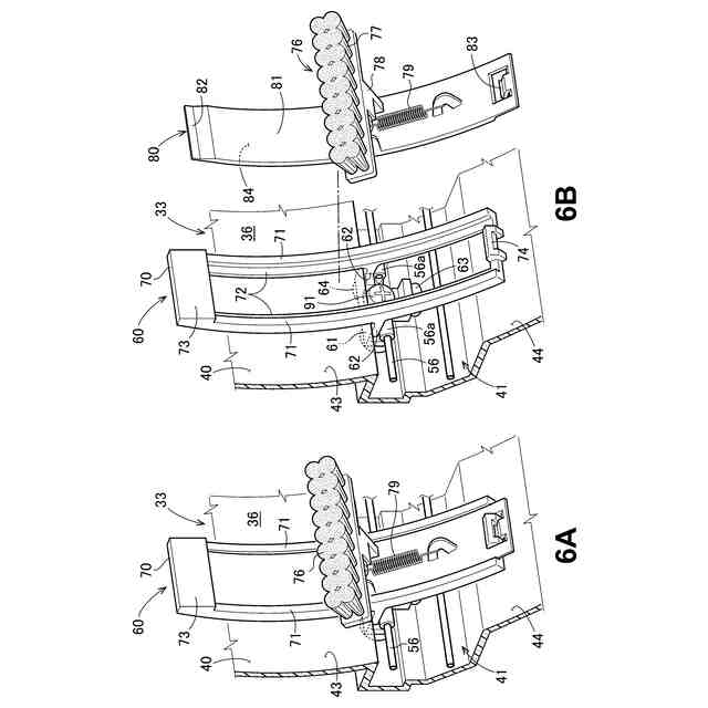
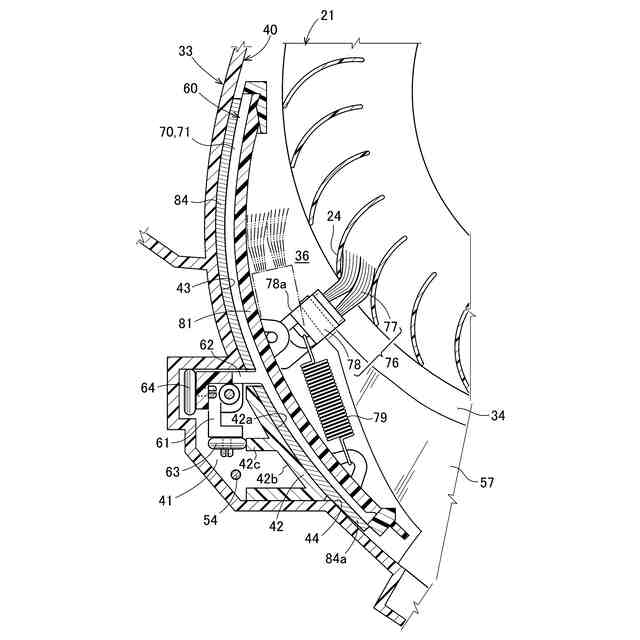
当該ケース内に設置され回転することにより送風を行なう貫流ファンと、
前記貫流ファンを回転駆動させる内ファンモータと、
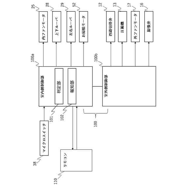
前記ケース内にあり、前記貫流ファンの清掃を行うことが可能なブラシを有した清掃機構と、
回転する前記貫流ファンに前記ブラシを接触させて前記貫流ファンの清掃を行う清掃運転の実施時に、予め設定されたPWM制御の設定出力値を出力すると共に、前記内ファンモータが前記清掃運転時の設定回転数で回転していない場合、前記設定出力値をフィードバック制御して補正出力値に制御する制御装置とを備えた空調装置において、
前記制御装置は、
前記清掃運転における前記補正出力値に基づいて、前記ブラシの劣化を検知したら、前記ブラシの交換を促す報知を行うことを特徴とする空調装置。
続きを表示(約 470 文字)
【請求項2】
前記制御装置は、
前記清掃運転の実施時における前記補正出力値が予め定められた所定の閾値を下回ったか否かを判定する判定部と、
外部に前記ブラシの交換を促す報知部とを備え、
前記補正出力値が前記所定の閾値を下回ったと前記判定部が判定した場合、前記報知部で前記ブラシの交換を促す報知をおこなうようにしたことを特徴とする請求項1記載の空調装置。
【請求項3】
前記判定部は、前記清掃運転の開始から前記清掃運転の終了までにおける前記補正出力値の平均値を判定に用いるようにしたことを特徴とする請求項2記載の空調装置。
【請求項4】
前記判定部は、前記清掃運転の開始から前記清掃運転の終了までにおける前記補正出力値の最大値を判定に用いるようにしたことを特徴とする請求項2記載の空調装置。
【請求項5】
前記判定部は、前記清掃運転の開始から前記清掃運転の終了までにおける前記補正出力値の最小値を判定に用いるようにしたことを特徴とする請求項2記載の空調装置。
発明の詳細な説明
【技術分野】
【0001】
この発明は、室内の温度を調節するための空調装置に関する。
続きを表示(約 1,300 文字)
【背景技術】
【0002】
住宅等の室内の温度を調節するのに広く空調装置が用いられている。空調装置に関する従来技術として特許文献1に開示される技術がある。
【0003】
特許文献1に示されるような、空調装置は、壁に固定されているケースと、このケースに収納され回転することにより室内に送風するファンと、当該ファンに当接可能に設けられファンを清掃するためのブラシ部と、を有する。
【0004】
空調装置によれば、ブラシ部に設置されたブラシをファンに接触させた状態でファンを回転させる清掃運転を実施することにより、ファンに付着した塵埃を除去することができる。
【先行技術文献】
【特許文献】
【0005】
特開2019-143961号公報
【発明の概要】
【発明が解決しようとする課題】
【0006】
しかし、この従来のものでは、清掃運転によってブラシをファンに接触させて、ファンを回転させるため、ファンの回転を妨げない方向にブラシが経年劣化して変形してしまい、ファンに付着した塵埃を除去しづらくなってしまう課題があった。
【0007】
また、個々の空調装置で清掃運転の頻度や運転時間によってブラシの劣化具合が異なるため、ブラシを交換するタイミングを報知するのが難しいという課題があった。
【課題を解決するための手段】
【0008】
上記課題を解決するために、本発明の請求項1では、外部からの空気を取り入れ可能な空気取入口及び取り入れられた空気を外部へ吹出し可能な空気吹出口が開けられているケースと、当該ケース内に設置され回転することにより送風を行なう貫流ファンと、前記貫流ファンを回転駆動させる内ファンモータと、前記ケース内にあり、前記貫流ファンの清掃を行うことが可能なブラシを有した清掃機構と、回転する前記貫流ファンに前記ブラシを接触させて前記貫流ファンの清掃を行う清掃運転の実施時に、予め設定されたPWM制御の設定出力値を出力すると共に、前記内ファンモータが前記清掃運転時の設定回転数で回転していない場合、前記設定出力値をフィードバック制御して補正出力値に制御する制御装置とを備えた空調装置において、前記制御装置は、前記清掃運転における前記補正出力値に基づいて、前記ブラシの劣化を検知したら、前記ブラシの交換を促す報知を行う。
【0009】
また、請求項2では、前記制御装置は、前記清掃運転の実施時における前記補正出力値が予め定められた所定の閾値を下回ったか否かを判定する判定部と、外部に前記ブラシの交換を促す報知部とを備え、前記補正出力値が前記所定の閾値を下回ったと前記判定部が判定した場合、前記報知部で前記ブラシの交換を促す報知をおこなうようにした。
【0010】
また、請求項3では、前記判定部は、前記清掃運転の開始から前記清掃運転の終了までにおける前記補正出力値の平均値を判定に用いるようにした。
(【0011】以降は省略されています)
この特許をJ-PlatPat(特許庁公式サイト)で参照する
関連特許
株式会社コロナ
空調装置
23日前
株式会社コロナ
空調装置
23日前
株式会社コロナ
空調装置
1か月前
株式会社コロナ
温水暖房装置
23日前
株式会社コロナ
貯湯式給湯機
1か月前
株式会社コロナ
暖房システム
1か月前
株式会社コロナ
給水装置及びこれを用いた加湿装置
1か月前
株式会社コロナ
貯湯式給湯装置
23日前
個人
集熱器具
9日前
株式会社トヨトミ
五徳
23日前
株式会社コロナ
空調装置
23日前
株式会社コロナ
空調装置
2か月前
個人
油ハネ防止カーテン
12日前
株式会社コロナ
空調装置
23日前
株式会社コロナ
空調装置
3か月前
株式会社コロナ
加湿装置
1か月前
株式会社コロナ
給湯装置
3か月前
株式会社コロナ
空調装置
1か月前
株式会社コロナ
空調装置
1か月前
個人
住宅換気空調システム
2か月前
株式会社コロナ
空気調和機
2か月前
株式会社コロナ
風呂給湯機
2か月前
個人
太陽光パネル傾斜装置
1か月前
株式会社コロナ
空気調和機
3か月前
株式会社コロナ
直圧式給湯機
4か月前
株式会社コロナ
貯湯式給湯機
1か月前
株式会社パロマ
給湯器
4か月前
ホーコス株式会社
排気フード
3か月前
株式会社コロナ
貯湯式給湯機
1か月前
株式会社コロナ
温水暖房装置
23日前
株式会社コロナ
暖房システム
1か月前
株式会社コロナ
直圧式給湯機
2か月前
個人
シンプルクーラー
1か月前
三菱電機株式会社
換気扇
1か月前
ホーコス株式会社
換気扇取付枠
2か月前
三菱電機株式会社
換気扇
1か月前
続きを見る
他の特許を見る