TOP
|
特許
|
意匠
|
商標
特許ウォッチ
Twitter
他の特許を見る
公開番号
2025125373
公報種別
公開特許公報(A)
公開日
2025-08-27
出願番号
2024021401
出願日
2024-02-15
発明の名称
空気調和機
出願人
株式会社コロナ
代理人
主分類
F24F
11/63 20180101AFI20250820BHJP(加熱;レンジ;換気)
要約
【課題】人と人以外の熱源を区別し、人以外の熱源に対する空調制御を抑制する空気調和機を提供する。
【解決手段】空気調和機1は、風量可変の送風ファン7によって吹出口より送出する室内機3と、室内機の運転操作を行うリモコン30と、室内機の制御を行う制御部10と、室内機が設置された室内の温度分布を、回転走査することで検知する赤外線センサ15と、を備える。制御部は、赤外線センサを所定の第1ステップ角で回転走査させて、室内における熱源の位置情報を取得する第1の温度取得手段と、赤外線センサを第1ステップ角より小さい第2ステップ角で回転走査させて、室内における人の位置情報を取得する第2の温度取得手段と、を選択し、室内機の運転開始時は第2の温度取得手段を実行する。
【選択図】図1
特許請求の範囲
【請求項1】
室内の空気を吸込口より吸込んだ後、風量可変の送風ファンによって吹出口より送出する室内機と、
前記室内機の運転操作を行うリモコンと、
前記リモコンの指示に従って前記室内機の空調制御を行う制御部と、
前記室内機が設置された室内の温度分布を、回転走査することで検知する赤外線センサと、を備え、
前記制御部は、前記赤外線センサを所定の第1ステップ角で回転走査させて、室内における熱源の位置情報を取得する第1の温度取得手段と、
前記赤外線センサを前記第1ステップ角より小さい第2ステップ角で回転走査させて、室内における人の位置情報を取得する第2の温度取得手段と、を選択し、
前記室内機の運転開始時は前記第2の温度取得手段を実行することを特徴とする空気調和機。
続きを表示(約 350 文字)
【請求項2】
前記制御部は、前記第2の温度取得手段の実行時は、前記第2の温度取得手段で取得した取得結果に基づいて、前記人か前記人以外かを判定することを特徴とする請求項1に記載の空気調和機。
【請求項3】
前記制御部は、前記第2の温度取得手段を所定時間実行した後、前記第1の温度取得手段を実行することを特徴とする請求項2に記載の空気調和機。
【請求項4】
前記制御部は、前記第1の温度取得手段の実行時は、
前記第2の温度取得手段で取得した前記人か前記人以外かを判定した結果に基づいて、
室内における前記人の位置情報を元に空調制御を実行する一方、前記人以外の熱源の位置情報における温度変化は空調制御に反映させないことを特徴とする請求項3に記載の空気調和機。
発明の詳細な説明
【技術分野】
【0001】
この発明は、空気調和機に関するものである。
続きを表示(約 1,600 文字)
【背景技術】
【0002】
例えば、特許文献1には、温冷感センサ(サーモパイルセンサ)を、人の温冷感を高解像度で検知する第一のモードと、人の活動量を検知する第二のモードと、で駆動し、送風機回転数や室温に応じて各モードの切り替えを実施する空気調和機が記載されている。なお、送風機回転数が所定回転数以下の場合、第一のモードによる検知は実施せず第二のモードを実施する。
【先行技術文献】
【特許文献】
【0003】
特開2019-074288号公報
【発明の概要】
【発明が解決しようとする課題】
【0004】
暖房運転時に送風機が所定回転数以下であった場合、特許文献1の空気調和機は、人の活動量を検知する第二のモードで駆動することとなる。しかし、部屋に別の暖房機や、日射による床の温度上昇などの熱源が存在していた場合、温冷感センサ(サーモパイルセンサ)は高精度で検知しないため、人と人以外の熱源を区別できずに誤判定してしまう虞がある。
【課題を解決するための手段】
【0005】
上記課題を解決するために、本発明の請求項1の空気調和機では、室内の空気を吸込口より吸込んだ後、風量可変の送風ファンによって吹出口より送出する室内機と、前記室内機の運転操作を行うリモコンと、前記リモコンの指示に従って前記室内機の空調制御を行う制御部と、前記室内機が設置された室内の温度分布を、回転走査することで検知する赤外線センサと、を備え、前記制御部は、前記赤外線センサを所定の第1ステップ角で回転走査させて、室内における熱源の位置情報を取得する第1の温度取得手段と、前記赤外線センサを前記第1ステップ角より小さい第2ステップ角で回転走査させて、室内における人の位置情報を取得する第2の温度取得手段と、を選択し、前記室内機の運転開始時は前記第2の温度取得手段を実行することを特徴としている。
【0006】
また、請求項2の空気調和機では、前記制御部は、前記第2の温度取得手段の実行時は、前記第2の温度取得手段で取得した取得結果に基づいて、前記人か前記人以外かを判定することを特徴としている。
【0007】
また、請求項3の空気調和機では、前記制御部は、前記第2の温度取得手段を所定時間実行した後、前記第1の温度取得手段を実行することを特徴としている。
【0008】
また、請求項4の空気調和機では、前記制御部は、前記第1の温度取得手段の実行時は、前記第2の温度取得手段で取得した前記人か前記人以外かを判定した結果に基づいて、室内における前記人の位置情報を元に空調制御を実行する一方、前記人以外の熱源の位置情報における温度変化は空調制御に反映させないことを特徴としている。
【発明の効果】
【0009】
この発明によれば、運転開始時に赤外線センサで部屋の熱源の位置情報を精度よく検出し、人と人以外の熱源を区別しておくことで、人の位置情報を取得して行う空調制御において、人以外の熱源を人として判定する誤判定を防ぐことができる。
【図面の簡単な説明】
【0010】
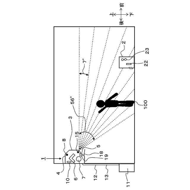
この発明の一実施形態における赤外線センサの垂直方向の検出角度範囲を示す図
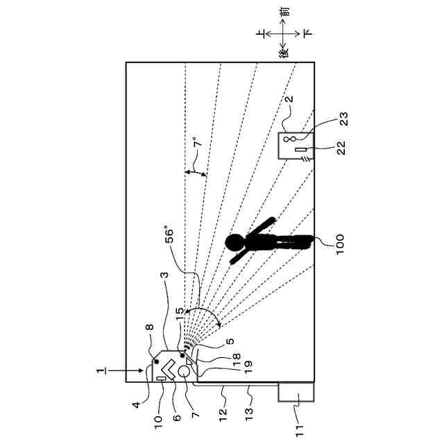
同上実施形態における赤外線センサの水平方向の検出角度範囲を示す図
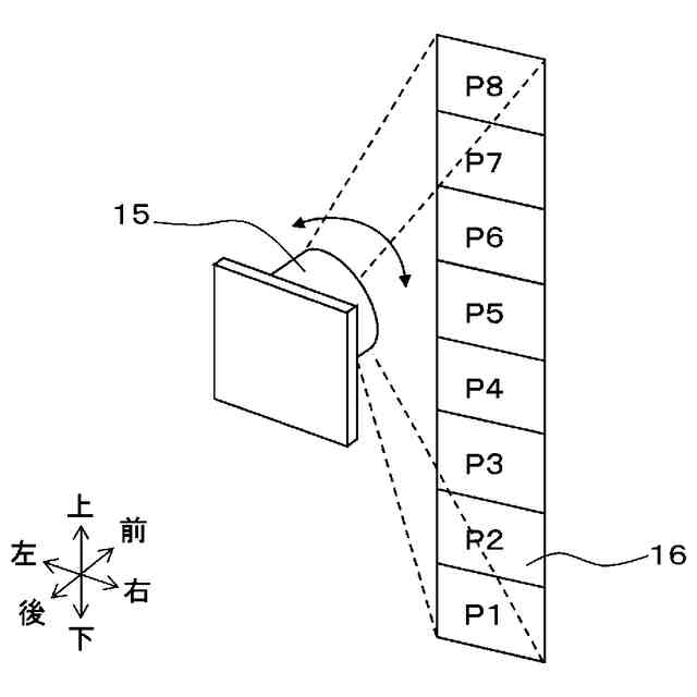
同上実施形態における赤外線センサの画素部の配列を示す図
同上実施形態における赤外線センサで取得した熱画像を示す図
同上実施形態における赤外線センサで取得した温度分布を示す図
同上実施形態における空気調和機の制御ブロック図
【発明を実施するための形態】
(【0011】以降は省略されています)
この特許をJ-PlatPat(特許庁公式サイト)で参照する
関連特許
株式会社コロナ
貯湯式給湯装置
28日前
個人
集熱器具
14日前
株式会社トヨトミ
五徳
28日前
個人
油ハネ防止カーテン
17日前
株式会社コロナ
空調装置
28日前
株式会社コロナ
空調装置
1か月前
株式会社コロナ
空調装置
28日前
株式会社コロナ
空調装置
2か月前
株式会社コロナ
空調装置
1か月前
株式会社コロナ
加湿装置
2か月前
個人
UFO型空気清浄機
2日前
個人
太陽光パネル傾斜装置
1か月前
株式会社コロナ
風呂給湯機
2か月前
株式会社コロナ
貯湯式給湯機
1か月前
株式会社コロナ
貯湯式給湯機
1か月前
個人
シンプルクーラー
1か月前
株式会社コロナ
温水暖房装置
28日前
株式会社コロナ
暖房システム
1か月前
ホーコス株式会社
換気扇取付枠
2か月前
三菱電機株式会社
換気扇
1か月前
三菱電機株式会社
換気扇
1か月前
三菱電機株式会社
換気扇
1か月前
株式会社パロマ
ガスコンロ
21日前
株式会社パロマ
ガスコンロ
21日前
株式会社パロマ
ガスコンロ
21日前
個人
籾殻(そば殻)燃焼ストーブ
2か月前
株式会社トヨトミ
固体燃料燃焼器
1日前
株式会社ノーリツ
温水装置
1か月前
株式会社ツインバード
加熱調理器
2か月前
株式会社ノーリツ
温水装置
1か月前
株式会社ノーリツ
給湯装置
1か月前
株式会社コロナ
壁掛式石油給湯装置
2か月前
大阪瓦斯株式会社
ガスコンロ
25日前
株式会社パロマ
湯沸器
1か月前
株式会社ノーリツ
貯湯給湯装置
15日前
オリオン機械株式会社
空調装置
1か月前
続きを見る
他の特許を見る