TOP
|
特許
|
意匠
|
商標
特許ウォッチ
Twitter
他の特許を見る
公開番号
2025165299
公報種別
公開特許公報(A)
公開日
2025-11-04
出願番号
2024069333
出願日
2024-04-22
発明の名称
油ハネ防止カーテン
出願人
個人
代理人
主分類
F24C
15/12 20060101AFI20251027BHJP(加熱;レンジ;換気)
要約
【課題】油ハネ防止のため調理鍋の側に置いて使用するアルミ製フェンスや、背の低いオイルフェンス6、コンロ前面ガラス等の製品は存在しているが、微細な油はキッチン周辺や室内に飛び散ってしまっていた。コンロ奥・側面にガラスを設置していても、取り外し不可の為、手が届きにくい等掃除に手間が掛かってしまっていた。
【解決手段】上部に磁石8の付いた防炎透明ビニールシートでレンジフード全面(調理位置手元は除く)を覆うように設置するため、周辺への油飛び散りが大きく軽減できる。透明ビニールのためキッチンに圧迫感が無く、掃除の際も容易に取り外し、住宅用合成洗剤を塗り数分放置するのみで汚れを落とすことができる。
【選択図】図1
特許請求の範囲
【請求項1】
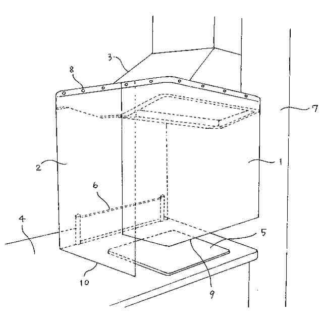
上端部に磁石(8)を組み込んだ透明の防炎ビニールシート(1)(2)を使用し、既存のレンジフード(3)全体を覆い囲むように設置する油ハネ防止カーテン。
続きを表示(約 140 文字)
【請求項2】
分割できる防炎ビニールシートを使用する事により設置・取り外しが容易に行える(請求項1)に記載の油ハネ防止カーテン。
【請求項3】
上端部に取り付けた磁石(8)は可動式とし、各メーカーのレンジフードに対応可とする(請求項1)に記載の油ハネ防止カーテン。
発明の詳細な説明
【技術分野】
【0001】
本発明は調理時に発生する調理台周辺、室内等への微細な油の飛び散りを防止し、容易に洗浄可能な製品を提供することにある。
続きを表示(約 740 文字)
【背景技術】
【0002】
調理時に発生する油ハネ防止製品にはアルミフェンス、オイルガード、前面ガラス等があるが室内等への微細な飛び散りを防ぐことは難しい。
【先行技術文献】
【特許文献】
【0003】
実開平05-048839
【発明の概要】
【発明が解決しようとする課題】
【0004】
上記の油ハネ防止製品は、特定の場所のみの油ハネを防止は可能であるが、既存レンジフード等への設置が困難な場合が多い。
【0005】
微細な油の飛び散りは防ぐことが難しく、日々蓄積され、べたつきの原因となっている。
【課題を解決するための手段】
【0006】
本製品は防炎透明ビニールシートを使用し、レンジフード周りを囲うように上部を磁石で取付ける。
【発明の効果】
【0007】
コンロ上部より全体を覆うことで調理者側以外への油ハネが一切無く、換気扇の騒音や調理中の匂いも軽減することが可能となり、定期的な掃除等も大幅に軽減できる。
【0008】
透明な防炎ビニールの為、設置後も圧迫感が無く、調理中も手元がよく見える。調理者への油飛び散りが大きく軽減でき、油ハネへの恐怖心を持つことなく揚げ物等の調理が可能である。
【0009】
薄いビニール素材なのでハサミで切るなどし、各家庭の状況に合わせて使用できる。
【0010】
設置・取り外しが非常に容易で、一部のみを取り外しての洗浄も可能である。繰り返し使用可能なためSDGsにもつながる。
【図面の簡単な説明】
(【0011】以降は省略されています)
この特許をJ-PlatPat(特許庁公式サイト)で参照する
関連特許
個人
集熱器具
28日前
株式会社トヨトミ
五徳
1か月前
株式会社コロナ
空調装置
1か月前
株式会社コロナ
加湿装置
2か月前
株式会社コロナ
空調装置
1か月前
株式会社コロナ
空調装置
1か月前
個人
UFO型空気清浄機
16日前
個人
油ハネ防止カーテン
1か月前
株式会社コロナ
空調装置
2か月前
株式会社コロナ
空調装置
3か月前
株式会社コロナ
空調装置
2か月前
個人
住宅換気空調システム
3か月前
個人
太陽光パネル傾斜装置
1か月前
株式会社コロナ
風呂給湯機
2か月前
株式会社コロナ
空気調和機
3か月前
株式会社コロナ
貯湯式給湯機
2か月前
株式会社コロナ
直圧式給湯機
3か月前
個人
シンプルクーラー
1か月前
株式会社コロナ
貯湯式給湯機
2か月前
株式会社コロナ
温水暖房装置
1か月前
株式会社コロナ
暖房システム
2か月前
三菱電機株式会社
換気扇
1か月前
ホーコス株式会社
換気扇取付枠
2か月前
三菱電機株式会社
換気扇
1か月前
三菱電機株式会社
換気扇
1か月前
株式会社コロナ
輻射式冷房装置
3か月前
三菱電機株式会社
換気扇
8日前
株式会社ノーリツ
温水装置
1か月前
個人
籾殻(そば殻)燃焼ストーブ
3か月前
株式会社ノーリツ
温水装置
1か月前
株式会社ツインバード
加熱調理器
2か月前
株式会社ノーリツ
給湯装置
1か月前
株式会社トヨトミ
固体燃料燃焼器
15日前
株式会社パロマ
ガスコンロ
1か月前
株式会社パロマ
ガスコンロ
1か月前
株式会社コロナ
潜熱回収型給湯機
今日
続きを見る
他の特許を見る