TOP
|
特許
|
意匠
|
商標
特許ウォッチ
Twitter
他の特許を見る
10個以上の画像は省略されています。
公開番号
2025156816
公報種別
公開特許公報(A)
公開日
2025-10-15
出願番号
2024059510
出願日
2024-04-02
発明の名称
換気扇
出願人
三菱電機株式会社
代理人
個人
主分類
F24C
15/20 20060101AFI20251007BHJP(加熱;レンジ;換気)
要約
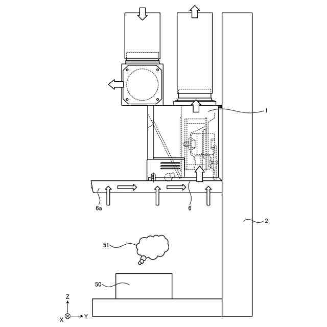
【課題】製品サイズが大きくなることを抑制しつつ給気機能を付加した換気扇を得ること。
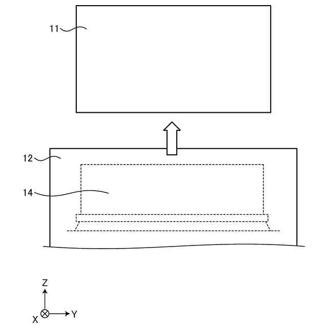
【解決手段】レンジ1は、調理排気を吸い込む吸込口6が設けられた下面と、調理排気を吹き出す吹出口7が設けられた天面と、壁2に固定される背面と、を有する直方体状の筐体3と、筐体3の背面に固定され、吸込口6から調理排気を吸い込み、吹出口7から調理排気を吹き出す気流を生成する送風機9と、筐体3の天面の上部に固定され、前面に給気口10が形成された給気チャンバー12とを備える。
【選択図】図2
特許請求の範囲
【請求項1】
調理排気を吸い込む吸込口が設けられた下面と、前記調理排気を吹き出す吹出口が設けられた天面と、壁に固定される背面と、を有する直方体状の筐体と、
前記筐体の前記背面に固定され、前記吸込口から前記調理排気を吸い込み、前記吹出口から前記調理排気を吹き出す気流を生成する送風機と、
前記筐体の天面の上部に固定され、前面に給気口が形成された給気口部材とを備えることを特徴とする換気扇。
続きを表示(約 390 文字)
【請求項2】
前記給気口部材は、給気ダクトが接続されるダクト接続口が複数の面に形成された直方体状の給気チャンバーであることを特徴とする請求項1に記載の換気扇。
【請求項3】
前記給気チャンバーは、前記給気ダクトが連結されるアタッチメントを内側から前記ダクト接続口に取付可能であることを特徴とする請求項2に記載の換気扇。
【請求項4】
前記給気チャンバーの下面のうち背面寄りの一部分が前記筐体の天面に載置され、
前記給気チャンバーの前面は、前記筐体の前面よりも前面に突出し、
前記給気チャンバーのうち前記筐体の前面よりも突出する部分である給気チャンバー突出部の前後方向の長さは、前記給気チャンバーのうち前記筐体の天面に載置される部分である給気チャンバー重複部の前後方向の長さよりも長いことを特徴とする請求項2に記載の換気扇。
発明の詳細な説明
【技術分野】
【0001】
本開示は、調理排気を屋外へ排気する換気扇に関する。
続きを表示(約 1,400 文字)
【背景技術】
【0002】
調理器具を用いて加熱調理を行う際には、油煙、水蒸気、臭気及び熱気等を含む調理排気が発生する。このため、調理排気を屋外へ排気するために換気扇が用いられる。
【0003】
特許文献1には、排気ダクトが接続される送風ボックスと、外気導入用の給気ダクトが接続される給気ボックスとを横並びに配置した同時給排型の換気扇であるレンジフードが開示されている。
【先行技術文献】
【特許文献】
【0004】
特開2007-93154号公報
【発明の概要】
【発明が解決しようとする課題】
【0005】
しかしながら、上記特許文献1に開示される換気扇は、給気機能を付加することにより排気用の排気口と給気用の給気口とが必要になるため、製品サイズが大きくなるという問題があった。
【0006】
本開示は、上記に鑑みてなされたものであって、製品サイズが大きくなることを抑制しつつ給気機能を付加した換気扇を得ることを目的とする。
【課題を解決するための手段】
【0007】
上述した課題を解決し、目的を達成するために、本開示に係る換気扇は、調理排気を吸い込む吸込口が設けられた下面と、調理排気を吹き出す吹出口が設けられた天面と、壁に固定される背面と、を有する直方体状の筐体と、筐体の背面に固定され、吸込口から調理排気を吸い込み、吹出口から調理排気を吹き出す気流を生成する送風機と、筐体の天面の上部に固定され、前面に給気口が形成された給気口部材とを備える。
【発明の効果】
【0008】
本開示によれば、製品サイズが大きくなることを抑制しつつ給気機能を付加した換気扇を得られるという効果を奏する。
【図面の簡単な説明】
【0009】
実施の形態1に係るレンジの斜視図
実施の形態1に係るレンジの側面拡大図
実施の形態1に係るレンジの側面図
実施の形態1に係るレンジの突出部の寸法関係を示す図
実施の形態1に係るレンジの背面側の斜視図
実施の形態1に係るレンジのアタッチメントの取り付け方法を示す図
実施の形態1に係るレンジの給気チャンバーの斜視図
実施の形態1に係るレンジのアタッチメントの固定方法を示す図
実施の形態2に係るレンジの給気チャンバーの斜視図
実施の形態2に係るレンジの給気チャンバーの取り付け方法を示す図
実施の形態2に係るレンジのアタッチメントの取り付け方法を示す図
実施の形態2に係るレンジの上面図
実施の形態3に係るレンジの側面図
実施の形態3に係るレンジの筐体と給気チャンバーとの接続部分の拡大側面図
実施の形態3に係るレンジの筐体と給気チャンバーとの接続部の拡大断面図
実施の形態3に係るレンジの給気チャンバーに支えネジを取り付けた状態を示す断面図
【発明を実施するための形態】
【0010】
以下に、実施の形態に係る換気扇を図面に基づいて詳細に説明する。なお、以下の各図面に示す各部材の縮尺は一例であり、各部材の寸法比率は実際とは異なる場合がある。各図面間においても同様である。
(【0011】以降は省略されています)
この特許をJ-PlatPat(特許庁公式サイト)で参照する
関連特許
三菱電機株式会社
換気扇
今日
三菱電機株式会社
換気扇
今日
三菱電機株式会社
換気扇
今日
三菱電機株式会社
電子機器
1日前
三菱電機株式会社
誘導加熱調理器
今日
三菱電機株式会社
保護継電器及び配電盤
今日
三菱電機株式会社
車両空調機用診断システム
1日前
三菱電機株式会社
選択支援装置、方法、及びプログラム
5日前
三菱電機株式会社
冷凍装置を備えた機器およびショーケース
5日前
三菱電機株式会社
合流予測装置、車両制御装置、及び合流予測方法
今日
三菱電機株式会社
作業人員計画装置、作業人員計画方法およびプログラム
1日前
三菱電機株式会社
半導体装置、電力変換装置、および半導体装置の製造方法
5日前
三菱電機株式会社
ヘリコプター搭載通信装置およびヘリコプター搭載通信装置における通信方法
5日前
三菱電機株式会社
熱交換器及び冷凍サイクル装置
1日前
個人
太陽光パネル傾斜装置
1日前
三菱電機株式会社
換気扇
今日
三菱電機株式会社
換気扇
今日
三菱電機株式会社
換気扇
今日
株式会社ノーリツ
給湯装置
5日前
オリオン機械株式会社
空調装置
今日
オリオン機械株式会社
空調装置
今日
東亜事業協同組合
空調システム
今日
極東開発工業株式会社
給湯システム
5日前
株式会社ノーリツ
ヒートポンプ給湯装置
5日前
株式会社シアーコーポレーション
冷暖房システム
5日前
ダイキン工業株式会社
空気調和装置
1日前
ダイキン工業株式会社
空気調和装置
5日前
清水建設株式会社
床吹き出し空調装置
5日前
河村電器産業株式会社
風向板付扉及びキャビネット
5日前
パナソニックIPマネジメント株式会社
空調空間生成システム
今日
パナソニックIPマネジメント株式会社
室外機
5日前
パナソニックIPマネジメント株式会社
室外機
5日前
パナソニックIPマネジメント株式会社
ガス処理装置
5日前
ダイキン工業株式会社
空調機のための保守システム
5日前
大阪瓦斯株式会社
貯湯式給湯システム及び貯湯式給湯システムの使用方法
1日前
オリオン機械株式会社
ヒータおよびこれを有する液体温調装置
1日前
続きを見る
他の特許を見る