TOP
|
特許
|
意匠
|
商標
特許ウォッチ
Twitter
他の特許を見る
10個以上の画像は省略されています。
公開番号
2025167544
公報種別
公開特許公報(A)
公開日
2025-11-07
出願番号
2024072293
出願日
2024-04-26
発明の名称
加熱調理システム
出願人
三菱電機株式会社
,
三菱電機ホーム機器株式会社
代理人
弁理士法人きさ特許商標事務所
主分類
H05B
6/12 20060101AFI20251030BHJP(他に分類されない電気技術)
要約
【課題】煮込み調理を自動化し、ユーザの手間を低減できる加熱調理システムを提供する。
【解決手段】加熱調理システムは、被加熱物を、調理器具を介して加熱する加熱部と、加熱部に設けられ、調理器具内の被加熱物の重量を測定するための重量センサーと、を有する加熱調理器と、加熱調理器に接続された制御装置と、を備え、制御装置は、加熱部に入力される電力の情報と、被加熱物の重量と、から被加熱物の温度上昇の速度を予測し、調理器具に投入された食材の軟化時間を予測する軟化予測手段を備え、軟化時間の経過後、加熱部による加熱を停止させる。
【選択図】図3
特許請求の範囲
【請求項1】
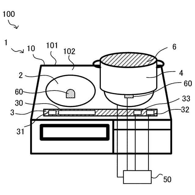
被加熱物を、調理器具を介して加熱する加熱部と、
前記加熱部に設けられ、前記調理器具内の前記被加熱物の重量を測定するための重量センサーと、
を有する加熱調理器と、
前記加熱調理器に接続された制御装置と、
を備え、
前記制御装置は、
前記加熱部に入力される電力の情報と、前記被加熱物の前記重量と、から前記被加熱物の温度上昇の速度を予測し、前記調理器具に投入された食材の軟化時間を予測する軟化予測手段を備え、
前記軟化時間の経過後、前記加熱部による加熱を停止させる
加熱調理システム。
続きを表示(約 460 文字)
【請求項2】
前記軟化予測手段は、
前記食材の加熱時間当たりの硬さを算出し、前記食材が所望の硬さになる時間を求めることで、前記軟化時間を予測する
請求項1に記載の加熱調理システム。
【請求項3】
被加熱物を、調理器具を介して加熱する加熱部と、
前記加熱部に設けられ、前記調理器具の温度を測定するための温度センサーと、
を有する加熱調理器と、
前記加熱調理器に接続された制御装置と、
を備え、
前記制御装置は、
前記調理器具の温度に基づき、前記調理器具に投入された食材の硬さを予測する軟化予測手段を備え、
前記被加熱物が所定の硬さ以下になると、前記加熱部による加熱を停止させる
加熱調理システム。
【請求項4】
前記軟化予測手段は、
前記温度センサーで取得した温度情報から現在の前記食材の硬さを算出し、前記食材の目標とする硬さとの比較を行う
請求項3に記載の加熱調理システム。
発明の詳細な説明
【技術分野】
【0001】
本開示は、加熱調理システムに関し、特に、加熱調理システムにおける調理の自動化に関するものである。
続きを表示(約 1,400 文字)
【背景技術】
【0002】
煮物の調理を行う加熱調理器として、IHクッキングヒータ、又は、ガスコンロがある。IHクッキングヒータ、又は、ガスコンロなどには、ユーザの調理を支援する機能の一つとして、焼き物調理を行う際、被加熱物の裏返し時期を音声で知らせるといった機能を有するものが知られている。また、特許文献1には、電子レンジによる加熱の際、加熱時間が異なる複数種の被加熱物を順次投入する時期を報知する機能が開示されている。本機能により、ユーザは被加熱物の加熱を適切に行うことができ、加熱時間の短縮、及び、省エネ効果が期待できる。
【先行技術文献】
【特許文献】
【0003】
特開2001-004145号公報
【発明の概要】
【発明が解決しようとする課題】
【0004】
しかしながら、特許文献1のような電子レンジによる調理の支援機能、又は、焼き物調理の支援機能では、調理が自動化されておらず、ユーザの調理の手間が大きい。特に、煮込み調理では、食材が食べられる硬さになるまでの時間が分かりづらく、都度、確認が必要で、手間が多いという課題がある。
【0005】
また、食材のサイズ、量、及び、形状をレシピから変更、例えば、4人前のレシピを2人前に変更すると、最適な加熱時間の判断がより難しく、加熱の過不足が発生し、出来上がり時の食感が悪くなるという課題がある。
【0006】
従って、調理、特に、煮込み調理において、自動で全ての食材が食べられる硬さになり、かつ、調理時間を短縮、及び、最適化し、さらに、省手間、及び、省エネとなるような調理ができるような、煮込み調理の自動化機能を搭載した加熱調理器が求められている。
【0007】
本開示は、煮込み調理を自動化し、ユーザの手間を低減できる加熱調理システムを提供することを目的とする。
【課題を解決するための手段】
【0008】
本開示に係る加熱調理システムは、被加熱物を、調理器具を介して加熱する加熱部と、前記加熱部に設けられ、前記調理器具内の前記被加熱物の重量を測定するための重量センサーと、を有する加熱調理器と、前記加熱調理器に接続された制御装置と、を備え、前記制御装置は、前記加熱部に入力される電力の情報と、前記被加熱物の前記重量と、から前記被加熱物の温度上昇の速度を予測し、前記調理器具に投入された食材の軟化時間を予測する軟化予測手段を備え、前記軟化時間の経過後、前記加熱部による加熱を停止させるものである。
【0009】
また、本開示に係る加熱調理システムは、被加熱物を、調理器具を介して加熱する加熱部と、前記加熱部に設けられ、前記調理器具の温度を測定するための温度センサーと、を有する加熱調理器と、前記加熱調理器に接続された制御装置と、を備え、前記制御装置は、前記調理器具の温度に基づき、前記調理器具に投入された食材の硬さを予測する軟化予測手段を備え、前記被加熱物が所定の硬さ以下になると、前記加熱部による加熱を停止させるものである。
【発明の効果】
【0010】
本開示に係る加熱調理システムによれば、温度情報に基づき算出された軟化時間の経過後に加熱が停止されるため、食材を食べられる硬さとし、加熱時間の過不足が抑制されるように煮込み調理を自動化することができる。
【図面の簡単な説明】
(【0011】以降は省略されています)
この特許をJ-PlatPat(特許庁公式サイト)で参照する
関連特許
三菱電機株式会社
換気扇
1か月前
三菱電機株式会社
冷蔵庫
9日前
三菱電機株式会社
冷蔵庫
1か月前
三菱電機株式会社
換気扇
2日前
三菱電機株式会社
換気扇
1か月前
三菱電機株式会社
換気扇
1か月前
三菱電機株式会社
増幅器
1か月前
三菱電機株式会社
扇風機
1か月前
三菱電機株式会社
換気装置
1日前
三菱電機株式会社
電気機器
9日前
三菱電機株式会社
照明装置
23日前
三菱電機株式会社
電子機器
1か月前
三菱電機株式会社
照明器具
3日前
三菱電機株式会社
収集装置
1か月前
三菱電機株式会社
半導体装置
1か月前
三菱電機株式会社
電動送風機
1日前
三菱電機株式会社
空気調和機
1か月前
三菱電機株式会社
半導体装置
9日前
三菱電機株式会社
半導体装置
1か月前
三菱電機株式会社
保護リレー
1か月前
三菱電機株式会社
回路遮断器
17日前
三菱電機株式会社
加熱調理器
17日前
三菱電機株式会社
貯湯式給湯機
1か月前
三菱電機株式会社
制御システム
23日前
三菱電機株式会社
調理システム
1か月前
三菱電機株式会社
貯湯式給湯機
1か月前
三菱電機株式会社
炊飯システム
1か月前
三菱電機株式会社
空気清浄装置
17日前
三菱電機株式会社
点検管理装置
1か月前
三菱電機株式会社
空調システム
25日前
三菱電機株式会社
照明システム
1か月前
三菱電機株式会社
光源デバイス
23日前
三菱電機株式会社
空調システム
1か月前
三菱電機株式会社
貯湯式給湯機
23日前
三菱電機株式会社
車両制御装置
1日前
三菱電機株式会社
位置算出装置
2日前
続きを見る
他の特許を見る