TOP
|
特許
|
意匠
|
商標
特許ウォッチ
Twitter
他の特許を見る
公開番号
2025166700
公報種別
公開特許公報(A)
公開日
2025-11-06
出願番号
2024070900
出願日
2024-04-24
発明の名称
空気調和システム
出願人
三菱電機株式会社
代理人
弁理士法人高田・高橋国際特許事務所
主分類
F24F
11/79 20180101AFI20251029BHJP(加熱;レンジ;換気)
要約
【課題】ペット、子供および高齢者等の特定の対象に対して適切な温調を行うことを支援する。
【解決手段】空気調和システムは、第1モードと第2モードとでの動作を可能に構成された空気調和機10と、空気調和機10の本体に搭載され、室内1に存在する人を検知する人感センサ11と、人感センサ11とは別体に構成され、室内1に存在する特定の検知対象2に関連する温度情報を取得する温度センサ20と、第1モードと第2モードとを選択する選択手段と、選択手段によって第1モードが選択された場合には人感センサ11の検知結果に応じて空気調和機10の動作を制御し、選択手段によって第2モードが選択された場合には温度センサ20によって取得した温度情報に応じて空気調和機10の動作を制御する制御手段と、を備えたものである。
【選択図】図1
特許請求の範囲
【請求項1】
第1モードと第2モードとでの動作を可能に構成された空気調和機と、
前記空気調和機の本体に搭載され、室内に存在する人を検知する人検知手段と、
前記人検知手段とは別体に構成され、前記室内に存在する特定の検知対象に関連する温度情報を取得する温度情報取得手段と、
前記第1モードと前記第2モードとを選択する選択手段と、
前記選択手段によって前記第1モードが選択された場合には前記人検知手段の検知結果に応じて前記空気調和機の動作を制御し、前記選択手段によって前記第2モードが選択された場合には前記温度情報取得手段によって取得した温度情報に応じて前記空気調和機の動作を制御する制御手段と、
を備えた空気調和システム。
続きを表示(約 1,000 文字)
【請求項2】
前記選択手段によって前記第2モードが選択された場合には、前記人検知手段を停止することを特徴とする請求項1に記載の空気調和システム。
【請求項3】
前記温度情報取得手段は、前記本体とは別体に構成され、前記本体の外部に設置されていることを特徴とする請求項1または請求項2に記載の空気調和システム。
【請求項4】
前記温度情報取得手段は、複数設置されていることを特徴とする請求項3に記載の空気調和システム。
【請求項5】
前記温度情報取得手段は、前記検知対象に装着されていることを特徴とする請求項1または請求項2に記載の空気調和システム。
【請求項6】
前記温度情報取得手段は、前記検知対象の移動を検知可能であり、
前記制御手段は、前記検知対象が移動を停止している際に前記温度情報取得手段によって取得した温度情報に応じて前記空気調和機の動作を制御することを特徴とする請求項5に記載の空気調和システム。
【請求項7】
前記温度情報取得手段は、温度の計測結果を視覚的に表示する計器と当該計器を撮影する撮影機とから構成されることを特徴とする請求項3に記載の空気調和システム。
【請求項8】
前記温度情報取得手段は、位置情報を取得可能であり、
前記制御手段は、前記位置情報に応じて前記空気調和機の送風方向を制御することを特徴とする請求項3に記載の空気調和システム。
【請求項9】
前記制御手段は、前記空気調和機の送風方向を変化させながら前記空気調和機を動作させた後、前記温度情報取得手段によって取得した温度の変動に応じて前記空気調和機の送風方向を制御することを特徴とする請求項1または請求項2に記載の空気調和システム。
【請求項10】
前記制御手段は、前記温度情報取得手段が位置情報を取得可能であるか判定し、前記温度情報取得手段が位置情報を取得可能である場合には、前記位置情報に応じて前記空気調和機の送風方向を制御し、前記温度情報取得手段が位置情報を取得可能でない場合には、前記空気調和機の送風方向を変化させながら前記空気調和機を動作させた後、前記温度情報取得手段によって取得した温度の変動に応じて前記空気調和機の送風方向を制御することを特徴とする請求項1または請求項2に記載の空気調和システム。
(【請求項11】以降は省略されています)
発明の詳細な説明
【技術分野】
【0001】
本開示は空気調和システムに関するものである。
続きを表示(約 1,600 文字)
【背景技術】
【0002】
特許文献1には、空気調和機が記載されている。この空気調和機は、空気調和機の本体に搭載された本体一体型のセンサによって人を検知し、検知結果に応じて室内の温調を行うものである。
【先行技術文献】
【特許文献】
【0003】
特許第7438401号公報
【発明の概要】
【発明が解決しようとする課題】
【0004】
特許文献1に記載されているような従来の空気調和機の本体に搭載されたセンサでは、動きが無いあるいは動きが少ない対象を検知することが難しい。また、従来の空気調和機の本体に搭載されたセンサでは、動きが早すぎる対象を検知することも難しい。特許文献1に記載されているような従来の空気調和機においては、ペット、子供および高齢者等の特定の対象を検知することが難しく、また、このような特定の対象に対して適切な温調を行うことが難しいという課題があった。
【0005】
本開示は、上記のような課題を解決するためのものである。本開示の目的は、ペット、子供および高齢者等の特定の対象に対して適切な温調を行うことを支援可能な空気調和システムを得ることである。
【課題を解決するための手段】
【0006】
本開示に係る空気調和システムは、第1モードと第2モードとでの動作を可能に構成された空気調和機と、前記空気調和機の本体に搭載され、室内に存在する人を検知する人検知手段と、前記人検知手段とは別体に構成され、前記室内に存在する特定の検知対象に関連する温度情報を取得する温度情報取得手段と、前記第1モードと前記第2モードとを選択する選択手段と、前記選択手段によって前記第1モードが選択された場合には前記人検知手段の検知結果に応じて前記空気調和機の動作を制御し、前記選択手段によって前記第2モードが選択された場合には前記温度情報取得手段によって取得した温度情報に応じて前記空気調和機の動作を制御する制御手段と、を備えたものである。
【発明の効果】
【0007】
本開示に係る空気調和システムによれば、ペット、子供および高齢者等の特定の対象に対して適切な温調を行うことを支援することができる。
【図面の簡単な説明】
【0008】
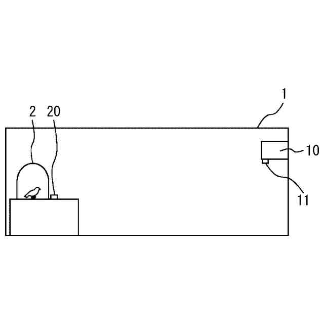
実施の形態1による空気調和システムが適用された室内を模式的に示す図である。
実施の形態1による空気調和システムの機能的な構成を示すブロック図である。
実施の形態1における制御部の機能を実現する構成の一例を示す図である。
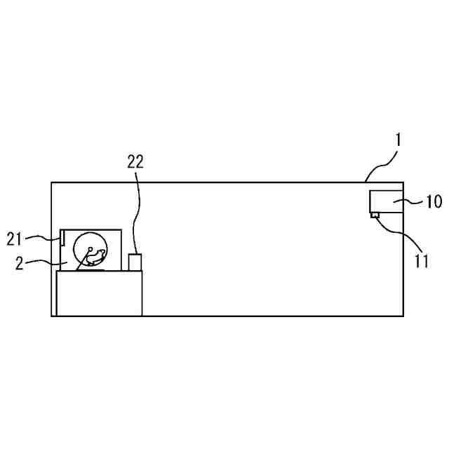
実施の形態1による空気調和システムが備える温度情報取得手段の別の構成例を示す図である。
実施の形態1による空気調和システムの第1の動作例を示すフローチャートである。
実施の形態1による空気調和システムの第2の動作例を示すフローチャートである。
実施の形態1による空気調和システムの第3の動作例を示すフローチャートである。
【発明を実施するための形態】
【0009】
以下、添付の図面を参照して、実施の形態について説明する。各図における同一の符号は、同一の部分または相当する部分を示す。また、本開示では、重複する説明については、適宜に簡略化または省略する。なお、本開示は、その趣旨を逸脱しない範囲において、以下の実施の形態によって開示される構成のあらゆる変形およびあらゆる組み合わせを含み得るものである。
【0010】
実施の形態1.
図1は、実施の形態1による空気調和システムが適用された室内1を模式的に示す図である。図2は、実施の形態1による空気調和システムの機能的な構成を示すブロック図である。
(【0011】以降は省略されています)
この特許をJ-PlatPat(特許庁公式サイト)で参照する
関連特許
三菱電機株式会社
増幅器
1か月前
三菱電機株式会社
扇風機
1か月前
三菱電機株式会社
換気扇
1か月前
三菱電機株式会社
換気扇
1か月前
三菱電機株式会社
換気扇
2日前
三菱電機株式会社
冷蔵庫
1か月前
三菱電機株式会社
換気扇
1か月前
三菱電機株式会社
冷蔵庫
9日前
三菱電機株式会社
換気装置
1日前
三菱電機株式会社
電気機器
9日前
三菱電機株式会社
電子機器
1か月前
三菱電機株式会社
回転電機
2か月前
三菱電機株式会社
照明器具
3日前
三菱電機株式会社
照明装置
23日前
三菱電機株式会社
収集装置
1か月前
三菱電機株式会社
回路遮断器
17日前
三菱電機株式会社
加熱調理器
17日前
三菱電機株式会社
半導体装置
9日前
三菱電機株式会社
空気調和機
1か月前
三菱電機株式会社
保護リレー
1か月前
三菱電機株式会社
半導体装置
1か月前
三菱電機株式会社
電動送風機
1日前
三菱電機株式会社
半導体装置
1か月前
三菱電機株式会社
点検管理装置
1か月前
三菱電機株式会社
空気清浄装置
17日前
三菱電機株式会社
貯湯式給湯機
1か月前
三菱電機株式会社
調理システム
1か月前
三菱電機株式会社
空調システム
25日前
三菱電機株式会社
照明システム
1か月前
三菱電機株式会社
貯湯式給湯機
1か月前
三菱電機株式会社
貯湯式給湯機
23日前
三菱電機株式会社
光源デバイス
23日前
三菱電機株式会社
空調システム
1か月前
三菱電機株式会社
炊飯システム
1か月前
三菱電機株式会社
制御システム
23日前
三菱電機株式会社
位置算出装置
2日前
続きを見る
他の特許を見る