TOP
|
特許
|
意匠
|
商標
特許ウォッチ
Twitter
他の特許を見る
10個以上の画像は省略されています。
公開番号
2025162281
公報種別
公開特許公報(A)
公開日
2025-10-27
出願番号
2024065469
出願日
2024-04-15
発明の名称
貯湯式給湯機
出願人
三菱電機株式会社
代理人
個人
,
個人
,
個人
,
個人
,
個人
,
個人
主分類
F24H
1/18 20220101AFI20251020BHJP(加熱;レンジ;換気)
要約
【課題】部品点数を削減することができる貯湯式給湯機を提供する。
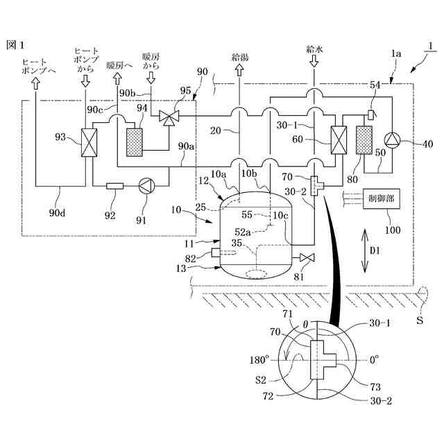
【解決手段】貯湯式給湯機1は、湯を貯湯するタンク10と、タンク10から外部に湯を給湯するための給湯配管20と、外部からタンク10に水を供給するための第1給水配管30-1と、第1給水配管30-1とタンク10との間に接続され、第1給水配管30-1からの水をタンク10に供給する第2給水配管30-2と、タンク10からの水を吸い上げることで、第2給水配管30-2に水を逆流させるためのポンプ40と、第2給水配管30-2とタンク10とに接続され、ポンプ40によって吸い上げられて、第2給水配管30-2を流れた水を、タンク10に戻すための沸き上げ配管50と、沸き上げ配管50を流れる水を加熱するために熱交換を行う熱交換器60と、第1給水配管30-1と、第2給水配管30-2と、沸き上げ配管50とを接続する分岐部70と、を備える。
【選択図】図1
特許請求の範囲
【請求項1】
湯を貯湯するタンクと、
前記タンクから外部に前記湯を給湯するための給湯配管と、
外部から前記タンクに水を供給するための第1給水配管と、
前記第1給水配管と前記タンクとの間に接続され、前記第1給水配管からの前記水を前記タンクに供給する第2給水配管と、
前記タンクからの前記水を吸い上げることで、前記第2給水配管に前記水を逆流させるためのポンプと、
前記第2給水配管と前記タンクとに接続され、前記ポンプによって吸い上げられて、前記第2給水配管を流れた前記水を、前記タンクに戻すための沸き上げ配管と、
前記沸き上げ配管を流れる前記水を加熱するために熱交換を行う熱交換器と、
前記第1給水配管と、前記第2給水配管と、前記沸き上げ配管とを接続する分岐部と、を備える、貯湯式給湯機。
続きを表示(約 1,400 文字)
【請求項2】
前記熱交換器及び前記ポンプは、前記タンクよりも高い位置に配置され、
前記分岐部は、前記熱交換器よりも低い位置に配置されていると共に、前記タンクの最下部よりも高い位置に配置されている、請求項1に記載の貯湯式給湯機。
【請求項3】
前記沸き上げ配管に設置され、前記沸き上げ配管を流れる前記水に含まれる難溶性物質を捕捉するスケール捕捉器を備え、
前記スケール捕捉器は、前記タンクよりも高い位置に配置されている、請求項1又は2に記載の貯湯式給湯機。
【請求項4】
前記沸き上げ配管の前記タンク側の開口は、前記タンクの内部に突出する位置に配置されていることで、
前記沸き上げ配管は、その一部が、前記タンクの内部に配置されている内部配管を含む、請求項1又は2に記載の貯湯式給湯機。
【請求項5】
前記タンクは、筒状のタンク胴部と、前記タンク胴部の高さ方向における下方側開口を覆うタンク下部と、を有し、
前記分岐部は、前記タンク胴部と前記タンク下部との接続部分よりも、高い位置に配置されている、請求項1又は2に記載の貯湯式給湯機。
【請求項6】
前記タンクは、筒状のタンク胴部を有し、
前記分岐部は、前記タンク胴部の高さ方向における中央よりも、高い位置に配置されている、請求項1又は2に記載の貯湯式給湯機。
【請求項7】
前記タンクは、筒状のタンク胴部と、前記タンク胴部の高さ方向における上方側開口を覆うタンク上部を有し、
前記分岐部は、前記タンク上部と前記タンク胴部との接続部分よりも、高い位置に配置されている、請求項1又は2に記載の貯湯式給湯機。
【請求項8】
前記分岐部は、3方向に開口して設けられている第1の接続口と第2の接続口と第3の接続口とを有し、
前記第1の接続口の開口方向と、前記第2の接続口の開口方向とは、同一の軸線上に設けられ、
前記第1の接続口には、前記第1給水配管が接続されていると共に、前記第2の接続口には、前記第2給水配管が接続されており、
前記第1給水配管が接続されている前記第1の接続口は、前記貯湯式給湯機の高さ方向に直交する水平面に対して、0°から180°の範囲内で開口し、開口面の外向き法線は、水平より上に向いている、請求項1又は2に記載の貯湯式給湯機。
【請求項9】
前記分岐部は、3方向に開口して設けられている第1の接続口と第2の接続口と第3の接続口とを有し、
前記第1の接続口の開口方向と、前記第2の接続口の開口方向とは、同一の軸線上に設けられ、
前記第2給水配管は、前記第1の接続口に接続され、前記沸き上げ配管は、前記第2の接続口に接続されていると共に、前記第3の接続口には、前記第1給水配管が接続されており、
前記第1給水配管が接続されている前記第3の接続口は、前記貯湯式給湯機の高さ方向に直交する水平面に対して、0°から180°の範囲内で開口し、開口面の外向き法線は、水平より上に向いている、請求項1又は2に記載の貯湯式給湯機。
【請求項10】
前記熱交換器及び前記ポンプは、同じ高さ位置に配置されている、請求項1又は2に記載の貯湯式給湯機。
(【請求項11】以降は省略されています)
発明の詳細な説明
【技術分野】
【0001】
本開示は、貯湯式給湯機に関する。
続きを表示(約 1,700 文字)
【背景技術】
【0002】
特許文献1には、温水を貯えて給湯することが可能な貯湯式給湯機が開示されている。この貯湯式給湯機は、湯水を貯湯する貯湯タンクと、貯湯タンクに貯留する湯水を加熱するヒートポンプユニットとを備える。ヒートポンプユニットは、貯湯タンクに貯湯されている湯水を加熱する沸き上げ運転を実行する。貯湯タンクの上部と下部には、沸き上げ回路用配管がヒートポンプユニットを介して接続されている。また、貯湯タンクの下部には、低温水を供給する給水回路用配管が接続されている。
【先行技術文献】
【特許文献】
【0003】
特開2014-228214号公報
【発明の概要】
【発明が解決しようとする課題】
【0004】
貯湯式給湯機において、貯湯タンクの下部には、沸き上げ回路用配管と給水回路用配管との両方が接続されている。このため、貯湯タンクの下部には、沸き上げ回路用配管と給水回路用配管との両方を接続するための接続口がそれぞれ必要になる。これにより、部品点数が増加する課題がある。
【0005】
本開示は、上述の事情の下になされたもので、部品点数を削減することができる貯湯式給湯機を提供することを目的とする。
【課題を解決するための手段】
【0006】
上述の目的を達成するために、本開示に係る貯湯式給湯機は、湯を貯湯するタンクと、タンクから外部に湯を給湯するための給湯配管と、外部からタンクに水を供給するための第1給水配管と、第1給水配管とタンクとの間に接続され、第1給水配管からの水をタンクに供給する第2給水配管と、タンクからの水を吸い上げることで、第2給水配管に水を逆流させるためのポンプと、第2給水配管とタンクとに接続され、ポンプによって吸い上げられて、第2給水配管を流れた水を、タンクに戻すための沸き上げ配管と、沸き上げ配管を流れる水を加熱するために熱交換を行う熱交換器と、第1給水配管と、第2給水配管と、沸き上げ配管とを接続する分岐部と、を備える。
【発明の効果】
【0007】
本開示に係る貯湯式給湯機は、第1給水配管からの水をタンクに供給する第2給水配管と、タンクからの水を吸い上げることで、第2給水配管に水を逆流させるためのポンプとを備える。これにより、本開示によれば、部品点数を削減できる貯湯式給湯機を提供することができる。
【図面の簡単な説明】
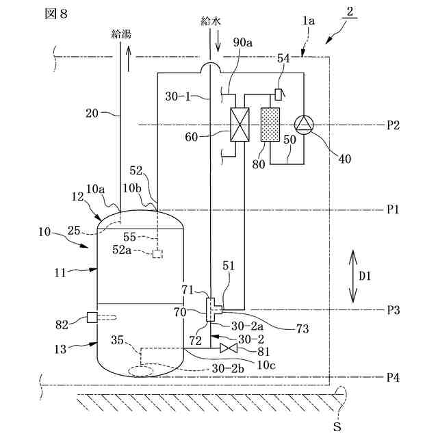
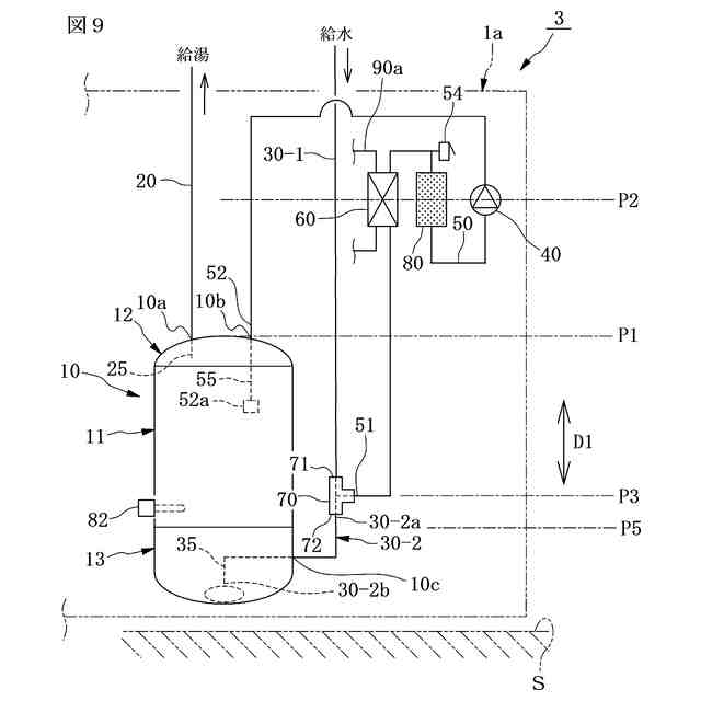
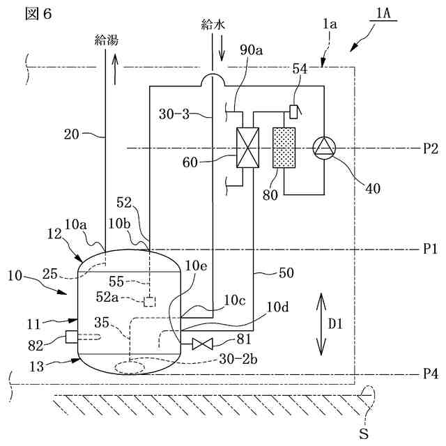
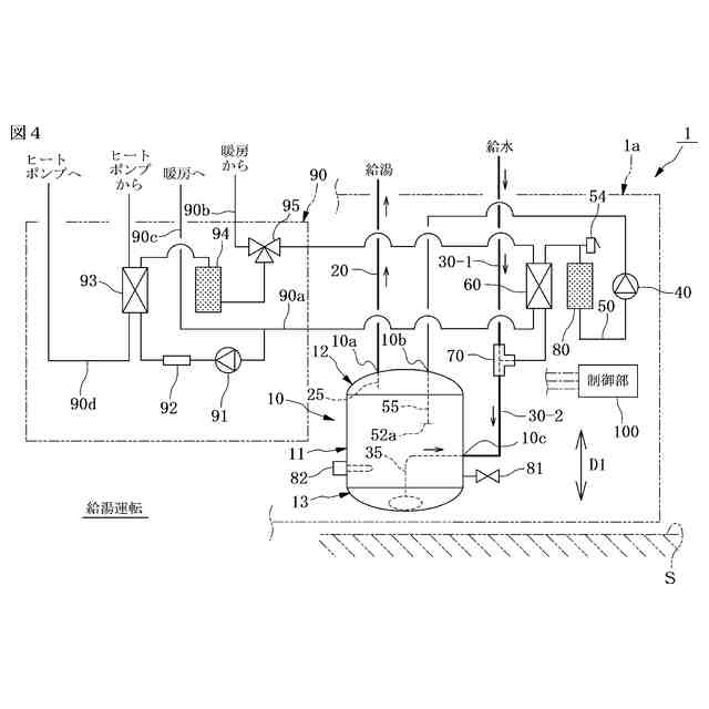
【0008】
実施の形態1に係る貯湯式給湯機の構成図
実施の形態1に係る貯湯式給湯機の一部を示した構成図
実施の形態1に係る貯湯式給湯機の動作を説明するための構成図(その1)
実施の形態1に係る貯湯式給湯機の動作を説明するための構成図(その2)
実施の形態1に係る貯湯式給湯機の動作を説明するための構成図(その3)
比較例1に係る貯湯式給湯機の一部を示した構成図
比較例2に係る貯湯式給湯機の一部を示した構成図
実施の形態2に係る貯湯式給湯機の一部を示した構成図
実施の形態3に係る貯湯式給湯機の一部を示した構成図
実施の形態4に係る貯湯式給湯機の一部を示した構成図
実施の形態5に係る貯湯式給湯機の一部を示した構成図
実施の形態6に係る貯湯式給湯機の一部を示した構成図
【発明を実施するための形態】
【0009】
実施の形態1.
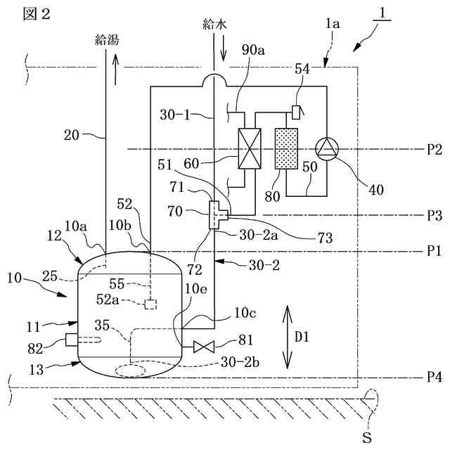
以下、実施の形態1に係る貯湯式給湯機1について、図を用いて説明する。また、各図においては、同一符号は同一、あるいは相当部分を示す。また、各図の上下方向は、貯湯式給湯機1の高さ方向D1と同一の方向である。
【0010】
貯湯式給湯機1は、図1に示すように、湯を貯湯するタンク10と、このタンク10に貯湯される水を加熱する沸き上げ運転を実行するための加熱回路90とを備える。
(【0011】以降は省略されています)
この特許をJ-PlatPat(特許庁公式サイト)で参照する
関連特許
三菱電機株式会社
換気扇
1か月前
三菱電機株式会社
増幅器
23日前
三菱電機株式会社
冷蔵庫
19日前
三菱電機株式会社
扇風機
17日前
三菱電機株式会社
換気扇
1か月前
三菱電機株式会社
換気扇
1か月前
三菱電機株式会社
回転電機
1か月前
三菱電機株式会社
収集装置
1か月前
三菱電機株式会社
照明装置
10日前
三菱電機株式会社
照明装置
1か月前
三菱電機株式会社
回転電機
1か月前
三菱電機株式会社
電子機器
1か月前
三菱電機株式会社
半導体装置
1か月前
三菱電機株式会社
半導体装置
18日前
三菱電機株式会社
保護リレー
18日前
三菱電機株式会社
加熱調理器
1か月前
三菱電機株式会社
半導体装置
1か月前
三菱電機株式会社
空気調和機
25日前
三菱電機株式会社
回路遮断器
4日前
三菱電機株式会社
加熱調理器
4日前
三菱電機株式会社
点検管理装置
17日前
三菱電機株式会社
空気清浄装置
4日前
三菱電機株式会社
調理システム
19日前
三菱電機株式会社
貯湯式給湯機
20日前
三菱電機株式会社
貯湯式給湯機
19日前
三菱電機株式会社
制御システム
10日前
三菱電機株式会社
空調システム
23日前
三菱電機株式会社
照明システム
1か月前
三菱電機株式会社
光源デバイス
10日前
三菱電機株式会社
貯湯式給湯機
10日前
三菱電機株式会社
貯湯式給湯機
1か月前
三菱電機株式会社
ねじ締め装置
23日前
三菱電機株式会社
給湯システム
1か月前
三菱電機株式会社
炊飯システム
19日前
三菱電機株式会社
空調システム
12日前
三菱電機株式会社
樹脂成形用金型
23日前
続きを見る
他の特許を見る