TOP
|
特許
|
意匠
|
商標
特許ウォッチ
Twitter
他の特許を見る
10個以上の画像は省略されています。
公開番号
2025161634
公報種別
公開特許公報(A)
公開日
2025-10-24
出願番号
2024064992
出願日
2024-04-12
発明の名称
増幅器
出願人
三菱電機株式会社
代理人
弁理士法人高田・高橋国際特許事務所
主分類
H03F
1/52 20060101AFI20251017BHJP(基本電子回路)
要約
【課題】抵抗体において電力密度分布が極端に集中する箇所が発生することを抑制できる増幅器を得ることを目的とする。
【解決手段】本開示に係る増幅器は、入力端子と、出力端子と、前記入力端子と前記出力端子との間に並列に設けられ、各々がトランジスタを有する一対の増幅経路と、前記一対の増幅経路を接続する抵抗部と、を備え、前記抵抗部は、一端側の幅よりも他端側の幅が狭い抵抗体と、前記抵抗体の幅方向の両側に設けられ、前記抵抗体と電気的に接続された一対の導体パターンと、前記一対の導体パターンの前記一端側と、前記一対の増幅経路と、を接続する一対の配線と、を備える。
【選択図】図2
特許請求の範囲
【請求項1】
入力端子と、
出力端子と、
前記入力端子と前記出力端子との間に並列に設けられ、各々がトランジスタを有する一対の増幅経路と、
前記一対の増幅経路を接続する抵抗部と、
を備え、
前記抵抗部は、
一端側の幅よりも他端側の幅が狭い抵抗体と、
前記抵抗体の幅方向の両側に設けられ、前記抵抗体と電気的に接続された一対の導体パターンと、
前記一対の導体パターンの前記一端側と、前記一対の増幅経路と、を接続する一対の配線と、
を備えることを特徴とする増幅器。
続きを表示(約 750 文字)
【請求項2】
前記一対の導体パターンは、前記抵抗体の前記一端から前記他端にわたって設けられることを特徴とする請求項1に記載の増幅器。
【請求項3】
前記一対の導体パターンの各々は、前記一端側の幅よりも前記他端側の幅が広いことを特徴とする請求項1または2に記載の増幅器。
【請求項4】
前記トランジスタの出力側に設けられた整合回路基板を備え、
前記抵抗部は、前記整合回路基板に設けられることを特徴とする請求項1または2に記載の増幅器。
【請求項5】
前記抵抗体の少なくとも一部はテーパ形状であることを特徴とする請求項1または2に記載の増幅器。
【請求項6】
前記抵抗体は前記一端から前記他端にわたってテーパ形状であることを特徴とする請求項5に記載の増幅器。
【請求項7】
前記抵抗体は、前記一端から前記他端に向かって階段状に幅が狭まる部分を有することを特徴とする請求項1または2に記載の増幅器。
【請求項8】
前記抵抗体は、前記一端側よりも前記他端側が厚いことを特徴とする請求項1または2に記載の増幅器。
【請求項9】
前記一対の導体パターンの各々は、
前記抵抗体の前記一端から前記他端に沿って設けられた第1部分と、
前記一端側において前記第1部分から延びる第2部分と、
を有し、
前記一対の配線の各々は、前記第2部分に接続されることを特徴とする請求項1または2に記載の増幅器。
【請求項10】
前記第2部分は、前記第1部分に向かって連続的に幅が増加することを特徴とする請求項9に記載の増幅器。
(【請求項11】以降は省略されています)
発明の詳細な説明
【技術分野】
【0001】
本開示は、増幅器に関する。
続きを表示(約 2,700 文字)
【背景技術】
【0002】
特許文献1には、複数の領域に区分された増幅素子と、増幅素子の区分数の入力整合回路と、区分数の出力整合回路とを備える高周波増幅器が開示されている。高周波増幅器はさらに、隣接する入力整合回路間を接続する一つ以上の除去可能な抵抗を含む第1の抵抗群と、隣接する出力整合回路間を接続する一つ以上の除去可能な抵抗を含む第2の抵抗群とを有する。
【先行技術文献】
【特許文献】
【0003】
特開2013-065938号公報
【発明の概要】
【発明が解決しようとする課題】
【0004】
複数の増幅経路を持つ増幅器は、ループ発振を起こしうることが知られている。特許文献1では、発振抑制が可能な高周波増幅回路が開示されている。しかし、発振抑制のために例えば矩形型で膜厚が均一な安定化抵抗を用いた場合、安定化抵抗の電力密度分布は一様ではなく、電力が極端に集中する箇所が発生する可能性がある。
【0005】
本開示は、上述の課題を解決するためになされたもので、抵抗体において電力密度分布が極端に集中する箇所が発生することを抑制できる増幅器を得ることを目的とする。
【課題を解決するための手段】
【0006】
第1の開示に係る増幅器は、入力端子と、出力端子と、前記入力端子と前記出力端子との間に並列に設けられ、各々がトランジスタを有する一対の増幅経路と、前記一対の増幅経路を接続する抵抗部と、を備え、前記抵抗部は、一端側の幅よりも他端側の幅が狭い抵抗体と、前記抵抗体の幅方向の両側に設けられ、前記抵抗体と電気的に接続された一対の導体パターンと、前記一対の導体パターンの前記一端側と、前記一対の増幅経路と、を接続する一対の配線と、を備える。
【0007】
第2の開示に係る増幅器は、入力端子と、出力端子と、前記入力端子と前記出力端子との間に並列に設けられ、各々がトランジスタを有する一対の増幅経路と、前記一対の増幅経路を接続する抵抗部と、を備え、前記抵抗部は、一端側よりも他端側が厚い抵抗体と、前記抵抗体の前記一端から前記他端に向かう方向と交差する方向の両側に設けられ、前記抵抗体と電気的に接続された一対の導体パターンと、前記一対の導体パターンの前記一端側と、前記一対の増幅経路と、を接続する一対の配線と、を備える。
【0008】
第3の開示に係る増幅器は、入力端子と、出力端子と、前記入力端子と前記出力端子との間に並列に設けられ、各々がトランジスタを有する一対の増幅経路と、前記一対の増幅経路を接続する抵抗部と、を備え、前記抵抗部は、抵抗体と、前記抵抗体の一端から他端に向かう方向と交差する方向の両側に設けられ、前記抵抗体と電気的に接続された一対の導体パターンと、前記抵抗体の前記一端から前記他端に向かう方向の中央部において、前記一対の導体パターンと、前記一対の増幅経路と、を接続する一対の配線と、を備える。
【発明の効果】
【0009】
第1の開示に係る増幅器では、抵抗体において一端側の幅よりも他端側の幅を狭くすることで、電力密度分布が極端に集中する箇所が発生することを抑制できる。
第2の開示に係る増幅器では、抵抗体において一端側よりも他端側を厚くすることで、電力密度分布が極端に集中する箇所が発生することを抑制できる。
第3の開示に係る増幅器では、一対の配線が抵抗体の一端から他端に向かう方向の中央部において、一対の導体パターンと一対の増幅経路とを接続する。このため、電力密度分布が極端に集中する箇所が発生することを抑制できる。
【図面の簡単な説明】
【0010】
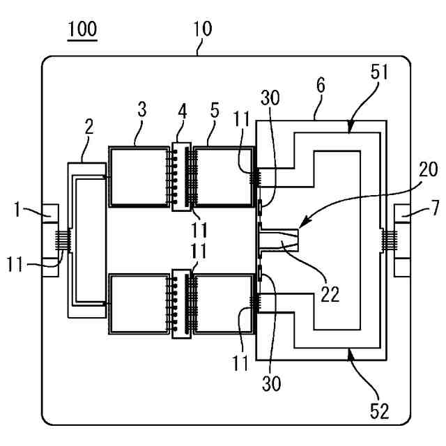
実施の形態1に係る増幅器の平面図である。
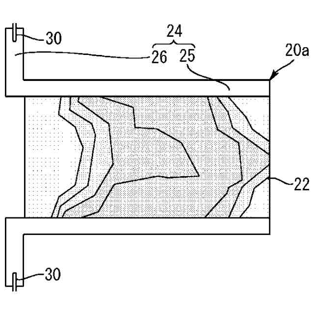
実施の形態1に係る抵抗体の電力密度分布を示す平面図である。
実施の形態1に係る抵抗体の中心線に沿った電力密度分布を示す図である。
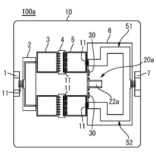
比較例に係る増幅器の平面図である。
比較例に係る抵抗体の電力密度分布を示す平面図である。
比較例に係る抵抗体の中心線に沿った電力密度分布を示す図である。
実施の形態2に係る抵抗部の平面図である。
実施の形態2に係る抵抗体の電力密度分布を示す平面図である。
実施の形態2に係る抵抗体の中心線に沿った電力密度分布を示す図である。
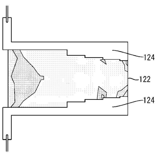
実施の形態3に係る抵抗部の平面図である。
図10の抵抗体をC-C’直線で切断することで得られる断面図である。
実施の形態3に係る抵抗体の電力密度分布を示す平面図である。
実施の形態3に係る抵抗体の中心線に沿った電力密度分布を示す図である。
実施の形態4に係る抵抗部の平面図である。
実施の形態4に係る抵抗体の電力密度分布を示す平面図である。
実施の形態4に係る抵抗体の中心線に沿った電力密度分布を示す図である。
実施の形態5に係る抵抗部の平面図である。
実施の形態5に係る抵抗体の電力密度分布を示す平面図である。
実施の形態5に係る抵抗体の中心線に沿った電力密度分布を示す図である。
実施の形態6に係る抵抗部の平面図である。
実施の形態6に係る抵抗体の電力密度分布を示す平面図である。
実施の形態6に係る抵抗体の中心線に沿った電力密度分布を示す図である。
実施の形態7に係る抵抗部の平面図である。
図23の抵抗体をC-C’直線で切断することで得られる断面図である。
実施の形態7に係る抵抗体の電力密度分布を示す平面図である。
実施の形態7に係る抵抗体の中心線に沿った電力密度分布を示す図である。
実施の形態8に係る抵抗部の平面図である。
実施の形態8に係る抵抗体の電力密度分布を示す平面図である。
実施の形態8に係る抵抗体の中心線に沿った電力密度分布を示す図である。
実施の形態9に係る抵抗部の平面図である。
実施の形態9に係る抵抗体の電力密度分布を示す平面図である。
実施の形態9に係る抵抗体の中心線に沿った電力密度分布を示す図である。
実施の形態10に係る抵抗部の平面図である。
実施の形態10に係る抵抗体の電力密度分布を示す平面図である。
実施の形態10に係る抵抗体の中心線に沿った電力密度分布を示す図である。
【発明を実施するための形態】
(【0011】以降は省略されています)
この特許をJ-PlatPat(特許庁公式サイト)で参照する
関連特許
三菱電機株式会社
冷蔵庫
16日前
三菱電機株式会社
増幅器
1か月前
三菱電機株式会社
冷蔵庫
1か月前
三菱電機株式会社
扇風機
1か月前
三菱電機株式会社
換気扇
9日前
三菱電機株式会社
換気装置
8日前
三菱電機株式会社
照明装置
1か月前
三菱電機株式会社
電気機器
16日前
三菱電機株式会社
照明器具
10日前
三菱電機株式会社
冷凍冷蔵庫
1日前
三菱電機株式会社
電動送風機
8日前
三菱電機株式会社
加熱調理器
24日前
三菱電機株式会社
半導体装置
16日前
三菱電機株式会社
半導体装置
3日前
三菱電機株式会社
半導体装置
1か月前
三菱電機株式会社
保護リレー
1か月前
三菱電機株式会社
半導体装置
3日前
三菱電機株式会社
回路遮断器
24日前
三菱電機株式会社
半導体装置
1日前
三菱電機株式会社
制御システム
1か月前
三菱電機株式会社
光源デバイス
1か月前
三菱電機株式会社
点検管理装置
1か月前
三菱電機株式会社
炊飯システム
1か月前
三菱電機株式会社
貯湯式給湯機
1か月前
三菱電機株式会社
調理システム
1か月前
三菱電機株式会社
位置算出装置
9日前
三菱電機株式会社
空調システム
1か月前
三菱電機株式会社
車両制御装置
8日前
三菱電機株式会社
貯湯式給湯機
1か月前
三菱電機株式会社
貯湯式給湯機
1か月前
三菱電機株式会社
空気清浄装置
24日前
三菱電機株式会社
空調システム
1か月前
三菱電機株式会社
電力変換装置
3日前
三菱電機株式会社
電力変換装置
3日前
三菱電機株式会社
移動体監視装置
29日前
三菱電機株式会社
見守りシステム
9日前
続きを見る
他の特許を見る