TOP
|
特許
|
意匠
|
商標
特許ウォッチ
Twitter
他の特許を見る
10個以上の画像は省略されています。
公開番号
2025175400
公報種別
公開特許公報(A)
公開日
2025-12-03
出願番号
2024081486
出願日
2024-05-20
発明の名称
電力変換装置
出願人
三菱電機株式会社
代理人
弁理士法人ぱるも特許事務所
主分類
H02M
7/48 20070101AFI20251126BHJP(電力の発電,変換,配電)
要約
【課題】小型化及び低コスト化した電力変換装置を得ること。
【解決手段】
単数又は複数の半導体チップ、半導体チップに接続された第一電極端子、及び半導体チップに接続された第二電極端子を有した単数又は複数のパワーモジュールと、第一電極端子に接続された第一導電接続部材と、第二電極端子に接続された第二導電接続部材と、外部と電気的に接続され、第一導電接続部材に接続された第一入力接続部と、外部と電気的に接続され、第二導電接続部材に接続された第二入力接続部と、を備え、パワーモジュールは、半導体チップを取り囲む複数の側面を有し、第一電極端子と第二電極端子とは、パワーモジュールの一つの側面である第一側面から突出し、取り囲む方向に延び、第一側面に沿った一つの方向である第一方向に並べて設けられ、第一入力接続部及び第二入力接続部は、第一方向の一方の側と他方の側の2か所のそれぞれに設けられている。
【選択図】図1
特許請求の範囲
【請求項1】
単数又は複数の半導体チップ、前記半導体チップに接続された第一電極端子、及び前記半導体チップに接続された第二電極端子を有した単数又は複数のパワーモジュールと、
前記第一電極端子に接続された第一導電接続部材と、
前記第二電極端子に接続された第二導電接続部材と、
外部と電気的に接続され、前記第一導電接続部材に接続された第一入力接続部と、
外部と電気的に接続され、前記第二導電接続部材に接続された第二入力接続部と、を備え、
前記パワーモジュールは、前記半導体チップを取り囲む複数の側面を有し、
前記第一電極端子と前記第二電極端子とは、前記パワーモジュールの一つの前記側面である第一側面から突出し、取り囲む方向に延び、前記第一側面に沿った一つの方向である第一方向に並べて設けられ、
前記第一入力接続部及び前記第二入力接続部は、前記第一方向の一方の側と他方の側の2か所のそれぞれに設けられている電力変換装置。
続きを表示(約 1,400 文字)
【請求項2】
一方の側の前記第一入力接続部及び前記第二入力接続部は、前記第一電極端子及び前記第二電極端子よりも、前記第一方向の一方の側に配置され、
他方の側の前記第一入力接続部及び前記第二入力接続部は、前記第一電極端子及び前記第二電極端子よりも、前記第一方向の他方の側に配置されている請求項1に記載の電力変換装置。
【請求項3】
単数又は複数の電子部品が実装された基板をさらに備え、
前記パワーモジュールは、前記基板に接続された制御電極端子を有し、
2か所のそれぞれに設けた前記第一入力接続部及び前記第二入力接続部の一方又は双方は、前記基板の基板面に垂直に見て、前記基板に重複して設けられている請求項1に記載の電力変換装置。
【請求項4】
単数又は複数の電子部品が実装された基板をさらに備え、
前記基板と前記パワーモジュールとは、重ねて設けられ、
前記パワーモジュールは、前記基板に接続された制御電極端子を有し、
前記第一導電接続部材及び前記第二導電接続部材の一方又は双方の少なくとも一部は、絶縁部材により覆われ、
前記基板は、前記基板の方向に前記絶縁部材から突出した、単数又は複数の絶縁部材基板支持部に固定され、
前記絶縁部材基板支持部は、前記基板と前記パワーモジュールとの間に設けられている請求項1から3のいずれか1項に記載の電力変換装置。
【請求項5】
2か所のそれぞれに設けた前記第一入力接続部の双方は、一つの前記第一導電接続部材に接続され、
2か所のそれぞれに設けた前記第二入力接続部の双方は、一つの前記第二導電接続部材に接続されている請求項4に記載の電力変換装置。
【請求項6】
前記絶縁部材基板支持部の少なくとも一部は、前記基板の基板面に垂直に見て、前記第一導電接続部材及び前記第二導電接続部材の一方又は双方に重複して設けられている請求項4に記載の電力変換装置。
【請求項7】
前記第一導電接続部材及び前記第二導電接続部材は、前記基板の基板面に垂直に見て、重ねて設けられている請求項4に記載の電力変換装置。
【請求項8】
前記パワーモジュールを冷却する冷却器を、さらに備え、
前記第一導電接続部材及び前記第二導電接続部材の一方又は双方は、前記絶縁部材が有した単数又は複数の固定部で前記冷却器に固定されている請求項4に記載の電力変換装置。
【請求項9】
前記第一導電接続部材及び前記第二導電接続部材の一方又は双方の少なくとも一部は、前記基板の基板面に垂直に見て、前記パワーモジュールに重複して設けられている請求項4に記載の電力変換装置。
【請求項10】
前記パワーモジュールは、前記第一側面に接して、前記第一側面に直交した前記側面である第二側面、及び前記第一側面に接して、前記第二側面に対向した前記側面である第三側面を有し、
前記第一方向の一方の側に設けた前記第一入力接続部及び前記第二入力接続部は、前記パワーモジュールの前記第二側面に隣接して設けられ、
前記第一方向の他方の側に設けた前記第一入力接続部及び前記第二入力接続部は、前記パワーモジュールの前記第三側面に隣接して設けられている請求項9に記載の電力変換装置。
(【請求項11】以降は省略されています)
発明の詳細な説明
【技術分野】
【0001】
本開示は、電力変換装置に関するものである。
続きを表示(約 2,300 文字)
【背景技術】
【0002】
近年の自動車を取りまく環境規制及び技術進歩により、さまざまな車格において電気自動車又はハイブリット自動車が開発され、普及が進んでいる。ハイブリッド自動車又は電気自動車のように、駆動源にモータが用いられている電動化車両には、複数の電力変換装置が搭載されている。電動化車両に搭載された電力変換装置は、燃費の向上、及び車内空間の拡大のために、小型化、及び低コスト化が求められている。
【0003】
一方、近年、電力変換装置は、モータ、エンジン等の駆動装置に直接搭載されることが多くなっている。そのため、電力変換装置は、車両の走行振動に加えて、駆動装置の振動の影響を受けるので、電力変換装置が有した構成部品がより厳しい振動環境に耐えることが求められている。
【0004】
電力変換装置は、入力電流を直流から交流、交流から直流、又は入力電圧を異なる電圧に変換する装置である。電動化車両に搭載される電力変換装置として、具体的には、商用の交流電力を直流電力に変換して高圧バッテリに充電する充電器、高圧バッテリの直流電力を異なる電圧の直流電力に変換するDC/DCコンバータ、高圧バッテリからの直流電力をモータへの交流電力に変換するインバータ等が挙げられる。
【0005】
インバータ装置の基本的な構成の例が開示されている(例えば、特許文献1参照)。特許文献1に開示された構成では、インバータ装置は、基板と、複数のパワー半導体モジュールと、コンデンサモジュールと、冷媒流路が形成された流路カバーと、これらを収容するハウジングと、外部装置と電気的に接続される直流コネクタ及び交流コネクタと、を有している。基板は、流路カバーに設けた基板用取付ボスに固定される。基板は、基板とは離隔して配置された複数のパワー半導体モジュールの各信号端子のそれぞれと接続されている。インバータ装置が有した直流及び交流の電源端子は、直流コネクタ、及び交流コネクタのそれぞれの直近に配置され、バスバーを介して直流コネクタ、及び交流コネクタのそれぞれと接続されている。また各電源端子は、直流、交流の導電板で離隔配置されたパワー半導体モジュールの端子のそれぞれと接続されている。
【先行技術文献】
【特許文献】
【0006】
国際公開第2013/015319号
【発明の概要】
【発明が解決しようとする課題】
【0007】
上記特許文献1においては、直流コネクタの直近1カ所にのみ直流の電源端子が配置されている。交流コネクタを跨いだ反対側に直流コネクタを配置する要求があった場合、直流バスバーを交流の電源端子を跨いで反対側まで引き回す必要があり、直流バスバーが大型化するため、バスバーを固定する部位の追加、バスバー発熱量の増加に起因した放熱部材の追加、及び配線スペースの確保が必要になるので、電力変換装置の小型化、及び低コスト化の妨げになるという課題があった。
【0008】
そこで、本開示は、車両機種毎に変わり得るコネクタなどのインターフェースに対し、構成部品の仕様を変更することなく、小型化及び低コスト化した電力変換装置を得ることを目的としている。
【課題を解決するための手段】
【0009】
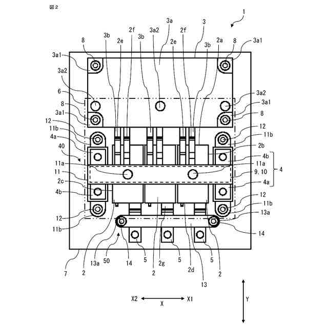
本開示の電力変換装置は、単数又は複数の半導体チップ、半導体チップに接続された第一電極端子、及び半導体チップに接続された第二電極端子を有した単数又は複数のパワーモジュールと、第一電極端子に接続された第一導電接続部材と、第二電極端子に接続された第二導電接続部材と、外部と電気的に接続され、第一導電接続部材に接続された第一入力接続部と、外部と電気的に接続され、第二導電接続部材に接続された第二入力接続部と、を備え、パワーモジュールは、半導体チップを取り囲む複数の側面を有し、第一電極端子と第二電極端子とは、パワーモジュールの一つの側面である第一側面から突出し、取り囲む方向に延び、第一側面に沿った一つの方向である第一方向に並べて設けられ、第一入力接続部及び第二入力接続部は、第一方向の一方の側と他方の側の2か所のそれぞれに設けられているものである。
【発明の効果】
【0010】
本開示の電力変換装置によれば、半導体チップ、半導体チップに接続された第一電極端子、及び半導体チップに接続された第二電極端子を有した単数又は複数のパワーモジュールと、第一電極端子に接続された第一導電接続部材と、第二電極端子に接続された第二導電接続部材と、外部と電気的に接続され、第一導電接続部材に接続された第一入力接続部と、外部と電気的に接続され、第二導電接続部材に接続された第二入力接続部と、を備え、パワーモジュールは、半導体チップを取り囲む複数の側面を有し、第一電極端子と第二電極端子とは、パワーモジュールの一つの側面である第一側面から突出し、取り囲む方向に延び、第一側面に沿った一つの方向である第一方向に並べて設けられ、第一入力接続部及び第二入力接続部は、第一方向の一方の側と他方の側の2か所のそれぞれに設けられているため、第一入力接続部及び第二入力接続部に接続されるインターフェースの位置が変更されても、インターフェースに接続される第一入力接続部及び第二入力接続部が選択できるので、車両機種毎に変わり得るコネクタなどのインターフェースに対し、構成部品の仕様を変更することなく、小型化及び低コスト化した電力変換装置を得ることができる。
【図面の簡単な説明】
(【0011】以降は省略されています)
この特許をJ-PlatPat(特許庁公式サイト)で参照する
関連特許
個人
電気を重力で発電装置
28日前
個人
高圧電気機器の開閉器
15日前
キヤノン電子株式会社
モータ
27日前
株式会社アイドゥス企画
減反モータ
15日前
トヨタ自動車株式会社
モータ
27日前
株式会社デンソー
端子台
8日前
ローム株式会社
半導体集積回路
6日前
本田技研工業株式会社
回転電機
1日前
株式会社日立製作所
回転電機
6日前
矢崎総業株式会社
給電装置
7日前
矢崎総業株式会社
電源回路
14日前
株式会社TMEIC
制御装置
7日前
トヨタ自動車株式会社
ステータの製造装置
28日前
個人
非対称鏡像力を有する4層PWB電荷搬送体
22日前
日産自動車株式会社
ロータシャフト
22日前
日産自動車株式会社
ロータシャフト
22日前
大和ハウス工業株式会社
敷設用機器
7日前
ローム株式会社
モータドライバ回路
22日前
株式会社アイシン
電力変換装置
27日前
個人
電線盗難防止方法及び電線盗難防止装置
1か月前
京商株式会社
模型用非接触電力供給システム
15日前
株式会社TMEIC
電力変換装置
7日前
トヨタ自動車株式会社
可変界磁ロータ
1か月前
株式会社土井製作所
ケーブル保護管路
6日前
ローム株式会社
半導体装置
6日前
Astemo株式会社
充電制御装置
6日前
ニデック株式会社
回転電機
27日前
ローム株式会社
半導体装置
6日前
大阪瓦斯株式会社
充放電中継装置
28日前
大阪瓦斯株式会社
充放電中継装置
28日前
ルネサスエレクトロニクス株式会社
半導体装置
27日前
トヨタ自動車株式会社
熱利用回路
8日前
株式会社日立産機システム
回転電機
6日前
株式会社豊田自動織機
電力供給システム
27日前
矢崎総業株式会社
電気接続箱
1日前
本田技研工業株式会社
回転電機用ロータ
15日前
続きを見る
他の特許を見る