TOP
|
特許
|
意匠
|
商標
特許ウォッチ
Twitter
他の特許を見る
10個以上の画像は省略されています。
公開番号
2025158241
公報種別
公開特許公報(A)
公開日
2025-10-17
出願番号
2024060596
出願日
2024-04-04
発明の名称
収集装置
出願人
三菱電機株式会社
,
三菱電機ビルソリューションズ株式会社
代理人
個人
,
個人
,
個人
,
個人
主分類
B66B
5/00 20060101AFI20251009BHJP(巻上装置;揚重装置;牽引装置)
要約
【課題】データを取得するタイミングが遅れることを防止すること。
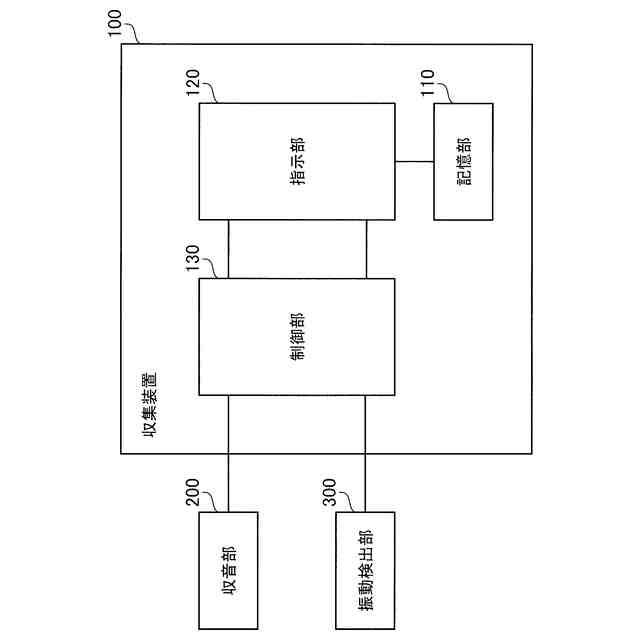
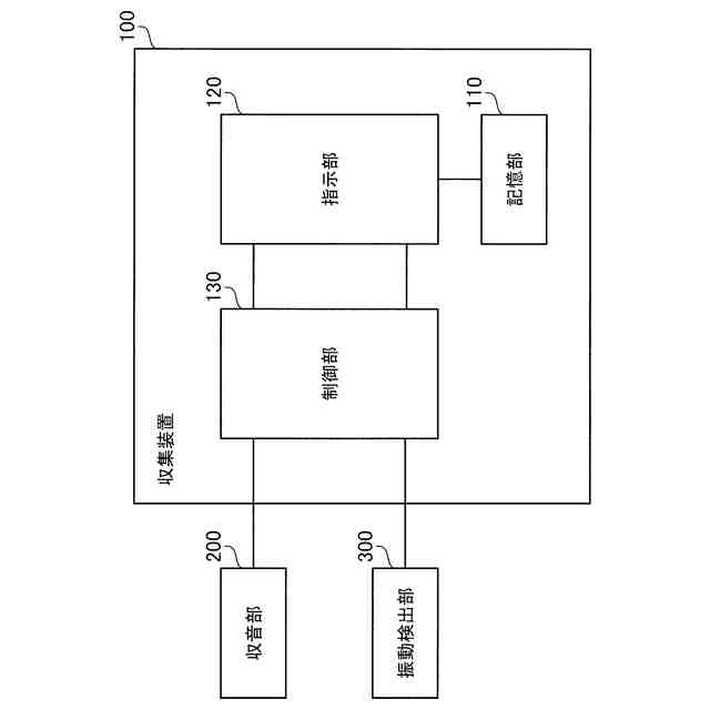
【解決手段】収集装置100は、音データを送信する装置である収音部200と、振動データを送信する装置である振動検出部300とネットワークを介して接続する。収集装置100は、制御部130と、音データと振動データとの送信命令である第1の送信命令を制御部130に送信する指示部120と、を有する。制御部130は、第1の送信命令を受信した場合、音データの送信命令である第2の送信命令を収音部200に送信し、音データを検出した場合、振動データの送信命令である第3の送信命令を振動検出部300に送信する。
【選択図】図2
特許請求の範囲
【請求項1】
第1のデータを送信する装置である第1の装置と、第2のデータを送信する装置である第2の装置とネットワークを介して接続する収集装置であって、
制御部と、
前記第1のデータと前記第2のデータとの送信命令である第1の送信命令を前記制御部に送信する指示部と、
を有し、
前記制御部は、
前記第1の送信命令を受信した場合、前記第1のデータの送信命令である第2の送信命令を前記第1の装置に送信し、
前記第1のデータを検出した場合、前記第2のデータの送信命令である第3の送信命令を前記第2の装置に送信する、
収集装置。
続きを表示(約 370 文字)
【請求項2】
前記第1のデータのサンプリングレートは、前記第2のデータのサンプリングレートよりも高い、
請求項1に記載の収集装置。
【請求項3】
前記第1のデータは、エレベータ内の音を示す音データであり、
前記第2のデータは、前記エレベータ内に存在するエレベータかごの振動を示す振動データである、
請求項1又は2に記載の収集装置。
【請求項4】
前記制御部は、前記第1の装置と前記第2の装置との間の距離に応じた時間後の前記第1のデータと、前記第2のデータとを対応付け、
前記第1のデータは、エスカレータで発生した音を示す音データであり、
前記第2のデータは、前記エスカレータで発生した振動を示す振動データである、
請求項1又は2に記載の収集装置。
発明の詳細な説明
【技術分野】
【0001】
本開示は、収集装置に関する。
続きを表示(約 1,500 文字)
【背景技術】
【0002】
地震などの災害が発生したとき、遠隔操作により、エレベータを復帰させることができる。エレベータを復帰させた後、保守員は、エレベータが正常に動作していることを確認するために、現地で点検業務を行う。保守員が現地で点検業務を行うことは、負担である。そのため、保守員が現地に行く回数を減らすために、昇降路内の音と振動との検出及び分析を、遠隔で行うシステムが開発されている。ここで、音と振動とを検出する技術が提案されている(特許文献1を参照)。
【先行技術文献】
【特許文献】
【0003】
特開2010-236944号公報
【発明の概要】
【発明が解決しようとする課題】
【0004】
CPU(Central Processing Unit)の動作により、データを取得するタイミングが遅れるという問題がある。
【0005】
本開示の目的は、データを取得するタイミングが遅れることを防止することである。
【課題を解決するための手段】
【0006】
本開示の一態様に係る収集装置が提供される。収集装置は、第1のデータを送信する装置である第1の装置と、第2のデータを送信する装置である第2の装置とネットワークを介して接続する。収集装置は、制御部と、前記第1のデータと前記第2のデータとの送信命令である第1の送信命令を前記制御部に送信する指示部と、を有する。前記制御部は、前記第1の送信命令を受信した場合、前記第1のデータの送信命令である第2の送信命令を前記第1の装置に送信し、前記第1のデータを検出した場合、前記第2のデータの送信命令である第3の送信命令を前記第2の装置に送信する。
【発明の効果】
【0007】
本開示によれば、データを取得するタイミングが遅れることを防止することができる。
【図面の簡単な説明】
【0008】
実施の形態1のエレベータの例を示す図である。
実施の形態1の収集装置の機能を示すブロック図である。
実施の形態1の制御部の機能を示す図である。
比較例を示す図である。
実施の形態1の収集装置が実行する処理の概要を示す図である。
実施の形態1の送信命令の送信タイミングを説明するための図である。
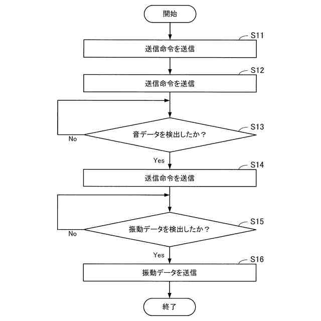
実施の形態1の収集装置が実行する処理のフローチャートの例を示す図である。
実施の形態1の送信命令の順番に関する説明を示す図(その1)である。
実施の形態1の送信命令の順番に関する説明を示す図(その2)である。
実施の形態2のエスカレータの例を示す図である。
実施の形態2の収集装置の機能を示すブロック図である。
実施の形態2の収集装置が実行する処理のフローチャートの例を示す図である。
【発明を実施するための形態】
【0009】
以下、図面を参照しながら実施の形態を説明する。以下の実施の形態は、例にすぎず、本開示の範囲内で種々の変更が可能である。なお、図面に描かれた物は、実際の寸法と異なる。そのため、実際の寸法は、以下の説明を参酌して判断される。
【0010】
実施の形態1.
図1は、実施の形態1のエレベータの例を示す図である。図1は、エレベータかご10、ガイドレール11,12、及び昇降路13を示している。エレベータかご10は、ガイドレール11,12をガイドとして、昇降路13を昇降する。
(【0011】以降は省略されています)
この特許をJ-PlatPat(特許庁公式サイト)で参照する
関連特許
三菱電機株式会社
危険警報装置、および危険解析装置
今日
個人
転落防止階段
1か月前
個人
小型クレーン
1か月前
岐阜工業株式会社
運搬台車
1か月前
個人
エアバック式レスキュー用品
2か月前
個人
アウトリガー用転倒防止ベース
1か月前
株式会社キトー
コンテナ吊り具
13日前
フジテック株式会社
乗客コンベア
1か月前
株式会社タダノ
3段ブーム伸縮機構
20日前
株式会社タダノ
クレーン装置
20日前
株式会社スギヤス
車両整備用リフト
1か月前
CKD株式会社
昇降助力装置
11日前
ライセン株式会社
飛行体用ウインチ吊フック
12日前
神鋼物流株式会社
吊具
27日前
イワフジ工業株式会社
架線集材システム
1か月前
CKD株式会社
アーム型助力装置
27日前
イワフジ工業株式会社
架線集材システム
1か月前
フジテック株式会社
マンコンベヤ
2か月前
フジテック株式会社
フック掛け器具
1か月前
日本リフト株式会社
移動式昇降台装置
19日前
富士電機株式会社
エレベータ用制御盤
4日前
株式会社豊田自動織機
障害物検出装置
4日前
有限会社三兄
フォークリフト用アタッチメント
1か月前
株式会社キトー
電気チェーンブロック
2か月前
株式会社日立産機システム
クレーン装置
5日前
株式会社豊田自動織機
荷役装置
1か月前
株式会社豊田自動織機
産業車両
6日前
イーグルクランプ株式会社
チェーン式バランス吊具
1か月前
株式会社たま建築
シンブルロッドとワイヤの緊結装置
1か月前
幸南工業株式会社
フォークリフト用裁置物滑り止め装置
11日前
ティフィル株式会社
昇降台装置
19日前
ティフィル株式会社
昇降台装置
19日前
東京電力ホールディングス株式会社
把持具および分割柱組立方法
2か月前
フジテック株式会社
エレベータのガイドレール芯出し装置
4日前
株式会社ピカコーポレイション
荷物昇降装置
5日前
株式会社大林組
昇降ラック、及び、昇降ラックセット
5日前
続きを見る
他の特許を見る