TOP
|
特許
|
意匠
|
商標
特許ウォッチ
Twitter
他の特許を見る
10個以上の画像は省略されています。
公開番号
2025151340
公報種別
公開特許公報(A)
公開日
2025-10-09
出願番号
2024052710
出願日
2024-03-28
発明の名称
空調装置
出願人
株式会社コロナ
代理人
主分類
F24F
11/30 20180101AFI20251002BHJP(加熱;レンジ;換気)
要約
【課題】貫流ファン21の清潔性を保持可能な空調装置を提供する。
【解決手段】清掃運転は、標準モードと、当該標準モードよりも塵埃の除去力が高い念入りモードと、が設定可能であり、清掃運転の実施時、室内側制御部100aは、冷房運転を直前に実施していたときは念入りモードを設定し、暖房運転を直前に実施していたときは標準モードを設定する。暖房運転と比較し、貫流ファン21に塵埃が多量に付着すると共に、塵埃がこびりつきやすい冷房運転の実施された直後に清掃運転を実施する場合は、念入りモードが設定されるので、清掃運転の実施による貫流ファン21の清掃性を高めることができるため、製品の清潔性が向上する。
【選択図】図10
特許請求の範囲
【請求項1】
外部からの空気を取り入れ可能な空気取入口及び取り入れられた空気を外部へ吹出し可能な空気吹出口が開けられているケースと、
当該ケースに回転可能に支持され、回転することにより送風を行なうファンと、
当該ファンを駆動させ室内を暖める暖房運転と、
前記ファンを駆動させ室内を冷却する冷房運転と、
前記ケース内に設置され、前記ファンに接触することで前記ファンの清掃が可能なブラシと、
当該ブラシで前記ファンの清掃を行う清掃運転を制御する制御部と、を備え、
前記清掃運転は、標準モードと、当該標準モードよりも塵埃の除去力が高い念入りモードと、が設定可能であり、
前記清掃運転の実施時、前記制御部は、前記冷房運転を直前に実施していたときは前記念入りモードを設定し、前記暖房運転を直前に実施していたときは前記標準モードを設定することを特徴とした空調装置。
続きを表示(約 360 文字)
【請求項2】
前記念入りモードは、前記清掃運転時における前記ファンの回転数が前記標準モードよりも高いことを特徴とした請求項1記載の空調装置。
【請求項3】
前記清掃運転の実施回数をカウントするカウント手段を有し、
前記清掃運転の実施時、前記制御部は、前記カウント手段でのカウント値が所定値以上であれば、前記カウント値が前記所定値未満であるときと比較して前記ファンの回転数を高く設定することを特徴とした請求項1記載の空調装置。
【請求項4】
前記ファンを駆動させ室内を除湿する除湿運転を有し、
前記清掃運転の実施時、前記制御部は、前記除湿運転を直前に実施していたときは前記念入りモードを設定することを特徴とした請求項1から3のいずれか1項に記載の空調装置。
発明の詳細な説明
【技術分野】
【0001】
この発明は、室内の温度を調節するための空調装置に関する。
続きを表示(約 2,100 文字)
【背景技術】
【0002】
従来、この種のものでは、回転駆動するファンにブラシが接触してファンの清掃を実施する清掃運転が可能な空調装置があり、清掃運転時におけるファンの回転数について変更可能としていた。
【先行技術文献】
【特許文献】
【0003】
特許第6701353号公報
【発明の概要】
【発明が解決しようとする課題】
【0004】
しかし、この従来のものでは、清掃運転時におけるファンの回転数変更について、変更可能なタイミング等の制限が特にされていない。一般的に、室内を冷却する冷房運転の実施時はケース内の湿度が高まるため、室内を暖める暖房運転の実施時よりもファンに対して塵埃が付着しやすく、更にファンに対して塵埃がこびりつきやすいことから、塵埃が除去し難い状態となる。よって、冷房運転の実施後に清掃運転を実施するとき、ファンの回転数について低下させる変更を行うと、ファンに付着した塵埃を除去しきれないことで製品の清潔性が低下する虞があることから、改善の余地があった。
【課題を解決するための手段】
【0005】
上記課題を解決するために、本発明の請求項1では、外部からの空気を取り入れ可能な空気取入口及び取り入れられた空気を外部へ吹出し可能な空気吹出口が開けられているケースと、
当該ケースに回転可能に支持され、回転することにより送風を行なうファンと、
当該ファンを駆動させ室内を暖める暖房運転と、
前記ファンを駆動させ室内を冷却する冷房運転と、
前記ケース内に設置され、前記ファンに接触することで前記ファンの清掃が可能なブラシと、
当該ブラシで前記ファンの清掃を行う清掃運転を制御する制御部と、を備え、
前記清掃運転は、標準モードと、当該標準モードよりも塵埃の除去力が高い念入りモードと、が設定可能であり、
前記清掃運転の実施時、前記制御部は、前記冷房運転を直前に実施していたときは前記念入りモードを設定し、前記暖房運転を直前に実施していたときは前記標準モードを設定することを特徴とした。
【0006】
また、請求項2では、前記念入りモードは、前記清掃運転時における前記ファンの回転数が前記標準モードよりも高いことを特徴とした。
【0007】
また、請求項3では、前記清掃運転の実施回数をカウントするカウント手段を有し、
前記清掃運転の実施時、前記制御部は、前記カウント手段でのカウント値が所定値以上であれば、前記カウント値が前記所定値未満であるときと比較して前記ファンの回転数を高く設定することを特徴とした。
【0008】
また、請求項4では、前記ファンを駆動させ室内を除湿する除湿運転を有し、
前記清掃運転の実施時、前記制御部は、前記除湿運転を直前に実施していたときは前記念入りモードを設定することを特徴とした。
【発明の効果】
【0009】
この発明によれば、清掃運転の実施時、制御部は、冷房運転を直前に実施していたときは念入りモードを設定し、暖房運転を直前に実施していたときは標準モードを設定するので、冷房運転の後に清掃運転を実施する場合であっても、ファンに付着した塵埃を確実に除去することができるため、製品の清潔性が向上する。
【図面の簡単な説明】
【0010】
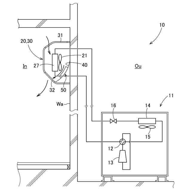
実施例1による空調装置の模式図である。
図1に示された空調装置の室内機の斜視図である。
図2に示された室内機のケースと、ケースに収納されているファンを説明する図である。
払拭機構の駆動機構を説明する図である。
ファンの軸線方向に沿った方向から見た払拭機構の断面図である。
図6Aは、ブラシ及びシートが取り付けられた移動体の斜視図である。図6Bは、移動体に対するブラシ及びシートの着脱を説明する図である。
払拭機構の動作を説明する図である。
図8Aは、格納位置にある移動体を説明する図である。図8Bは、格納位置にある移動体の断面図である。
実施例1の制御ブロック図である。
実施例1の清掃運転時における動作内容を説明するフローチャートである。
実施例1の清掃運転の各モードにおける貫流ファンの回転数を説明する図である。
実施例2の清掃運転時における動作内容を説明するフローチャートである。
実施例2の清掃運転の実施回数と各モードにおける貫流ファンの回転数の関係を説明する図である。
図14Aは、実施例3による空調装置の駆動力伝達部(ウォーム)を説明する図である。図14Bは、駆動力伝達部(ウォーム)の斜視図である。
図15Aは、モータケース及びモータを取り外した状態の格納位置にある移動体の斜視図である。図15Bは、駆動力伝達部に対する移動体の着脱を説明する図である。
【発明を実施するための形態】
(【0011】以降は省略されています)
この特許をJ-PlatPat(特許庁公式サイト)で参照する
関連特許
株式会社コロナ
空調装置
11日前
株式会社コロナ
空調装置
11日前
株式会社コロナ
空調装置
26日前
株式会社コロナ
温水暖房装置
11日前
株式会社コロナ
貯湯式給湯機
1か月前
株式会社コロナ
給水装置及びこれを用いた加湿装置
1か月前
株式会社コロナ
貯湯式給湯装置
11日前
株式会社トヨトミ
五徳
11日前
株式会社コロナ
給湯装置
3か月前
個人
油ハネ防止カーテン
今日
株式会社コロナ
空調装置
1か月前
株式会社コロナ
空調装置
26日前
株式会社コロナ
空調装置
11日前
株式会社コロナ
空調装置
11日前
株式会社コロナ
空調装置
4か月前
株式会社コロナ
加湿装置
1か月前
株式会社コロナ
空調装置
2か月前
株式会社コロナ
空調装置
1か月前
株式会社コロナ
風呂給湯機
1か月前
株式会社コロナ
空気調和機
2か月前
株式会社コロナ
空気調和機
3か月前
個人
住宅換気空調システム
2か月前
個人
太陽光パネル傾斜装置
21日前
株式会社パロマ
給湯器
3か月前
株式会社コロナ
貯湯式給湯機
1か月前
株式会社コロナ
温水暖房装置
11日前
株式会社コロナ
直圧式給湯機
3か月前
株式会社コロナ
直圧式給湯機
2か月前
個人
シンプルクーラー
19日前
株式会社コロナ
貯湯式給湯機
1か月前
ホーコス株式会社
排気フード
3か月前
株式会社コロナ
暖房システム
1か月前
ホーコス株式会社
換気扇取付枠
1か月前
株式会社コロナ
貯湯式給湯装置
4か月前
株式会社コロナ
輻射式冷房装置
2か月前
三菱電機株式会社
換気扇
20日前
続きを見る
他の特許を見る