TOP
|
特許
|
意匠
|
商標
特許ウォッチ
Twitter
他の特許を見る
公開番号
2025158290
公報種別
公開特許公報(A)
公開日
2025-10-17
出願番号
2024060684
出願日
2024-04-04
発明の名称
温水装置
出願人
株式会社ノーリツ
代理人
個人
主分類
F24H
1/14 20220101AFI20251009BHJP(加熱;レンジ;換気)
要約
【課題】湯水流量制御手段として、所定の温度調整域モードおよび流量調整域モードでの流量制御が可能な弁装置を用いながらも、高温出湯異常を適切に防止または抑制可能な温水装置を提供する。
【解決手段】温水装置WHの弁装置Aは、弁動作用のモータ駆動軸8の回転角度が、第1の角度α1から第2の角度α2の間で変化する過程において、バイパス湯水の流量Qbが漸減しつつ加熱湯水の流量Qaが漸増する温度調整域モードの流量制御、およびバイパス湯水の流量Qbが所定の最小流量以下に維持されつつ前記加熱湯水の流量Qaが漸減するように弁装置Aに流れる湯水の総流量が変更される流量調整域モードの流量制御を順次実行可能であり、高温出湯異常の発生またはその虞が検出されたときに、弁装置Aが温度調整域モードである場合にはモータ駆動軸8の回転角度を第1の角度α1に設定し、流量調整域モードである場合には第2の角度α2に設定する。
【選択図】 図1
特許請求の範囲
【請求項1】
湯水加熱用の熱交換器の入口側および出口側にそれぞれ接続されている入水路および出湯路と、
前記熱交換器をバイパスして前記入水路および前記出湯路を相互に接続し、前記入水路の湯水をバイパス湯水として、前記出湯路を流れる加熱湯水に混合させることが可能なバイパス流路と、
前記出湯路を流れる前記加熱湯水の流量および前記バイパス流路を流れる前記バイパス湯水の流量を変更可能な弁装置と、
前記出湯路から外部に所定以上の高温の湯水が出湯する高温出湯異常の発生またはその虞を検出可能な異常検出手段と、
を備えており、
前記弁装置は、弁動作用のモータ駆動軸の回転角度が、所定の第1の角度から第2の角度の間で変化する過程において、前記バイパス湯水の流量が漸減しつつ前記加熱湯水の流量が漸増する温度調整域モードの流量制御、および前記バイパス湯水の流量が所定の最小流量以下に維持されつつ前記加熱湯水の流量が漸減するように前記弁装置に流れる湯水の総流量が変更される流量調整域モードの流量制御を順次実行可能な構成とされている、温水装置であって、
前記高温出湯異常の発生またはその虞が前記異常検出手段により検出されたときに、前記弁装置が前記温度調整域モードである場合には、前記モータ駆動軸の回転角度を前記第1の角度に設定する制御が実行される一方、
前記弁装置が前記流量調整域モードである場合には、前記モータ駆動軸の回転角度を前記第2の角度に設定する制御が実行されるように構成されていることを特徴とする、温水装置。
続きを表示(約 190 文字)
【請求項2】
請求項1に記載の温水装置であって、
前記異常検出手段により前記高温出湯異常の発生またはその虞が検出されたときに、前記弁装置が前記温度調整域モードと前記流量調整域モードとの境界にある場合には、
前記モータ駆動軸の回転角度を、前記第1および第2の角度のうち、前記境界との角度差が小さい側の角度に設定する制御が実行されるように構成されている、温水装置。
発明の詳細な説明
【技術分野】
【0001】
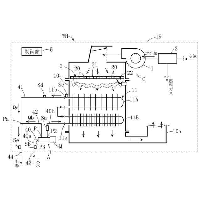
本発明は、給湯装置などの温水装置に関する。
続きを表示(約 2,800 文字)
【背景技術】
【0002】
温水装置の具体例として、特許文献1に記載のものがある。
同文献に記載された温水装置は、バーナを用いて湯水加熱が可能な熱交換器を備えており、かつこの熱交換器の入口側および出口側にそれぞれ接続された入水路および出湯路は、バイパス流路を介して相互に接続されている。このことにより、出湯路には熱交換器により加熱された加熱湯水を流れさせつつ、この加熱湯水にはバイパス流路を流れる非加熱のバイパス湯水を混合させることが可能である。これら加熱湯水およびバイパス湯水のそれぞれの流量は、たとえば2つの流量調整弁(熱交換器流量調整弁、バイパス流量調整弁)を用いて変更可能であり、このことによりそれらの混合湯水の温度を所望の目標給湯温度に設定し、または近づけることができる。
一方、前記した温水装置においては、出湯口から外部に所定以上の高温の湯水が出湯する高温出湯異常またはその虞が生じたときには、その旨が所定の手段により検出される。また、前記の旨の検出がなされると、2つの流量調整弁はいずれも全閉とされ、湯水の流れは阻止される。このことにより、高温出湯異常が発生することは適切に抑制される。
【0003】
しかしながら、前記従来技術においては、次に述べるように、解決すべき課題があった。
【0004】
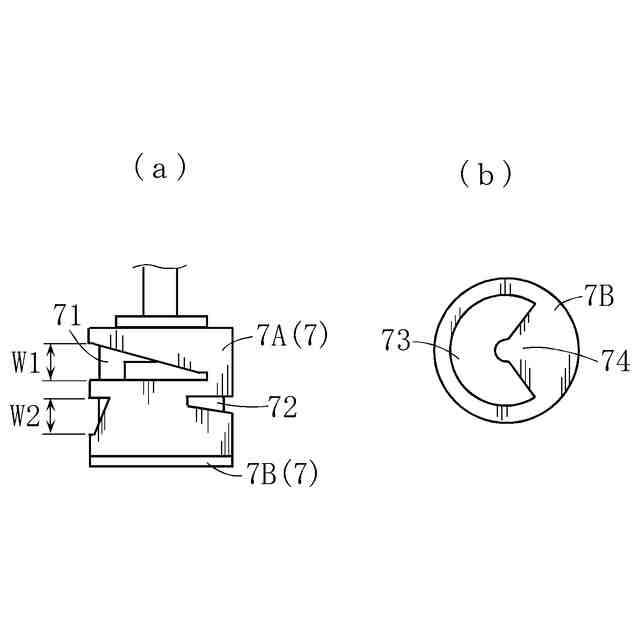
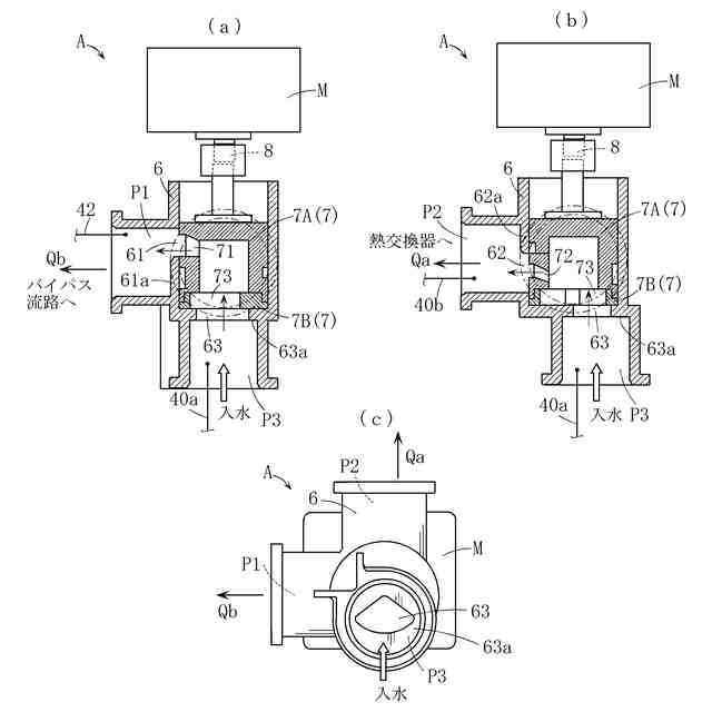
すなわち、弁装置の具体例として、たとえば特許文献2,3に記載の弁装置があり、この弁装置を、前記した温水装置の2つの流量調整弁に代えて用いたい場合がある。より具体的には、特許文献2,3に記載の弁装置は、いわゆる3方弁であり、この弁装置の第1および第2のポートには、熱交換器により加熱された加熱湯水および非加熱のバイパス湯水を流入させ、かつこれらの混合湯水を第3のポートから流出させる混合弁として用いることが可能である。この場合、弁動作用のモータ駆動軸の回転角度が所定の第1の角度から第2の角度に変化する過程において、バイパス湯水の流量が漸減しつつ加熱湯水の流量が漸増する温度調整域モードの流量制御、およびバイパス湯水の流量が所定の最小流量に維持されつつ加熱湯水の流量が漸減する流量調整域モードの流量制御を順次実行可能である。このような構成によれば、温水装置において用いられる弁装置(流量調整弁)の総数を少なくできるため、温水装置全体の構成の簡素化、および製造コストの低減を図ることが可能である。
【0005】
一方、前記した弁装置を用いた場合において、温水装置に高温出湯異常またはその虞が生じたときに、高温湯水の出湯を防止するための手段としては、弁装置のモータ駆動軸の回転角度を大きくし、弁装置を流量調整域モードにおける加熱湯水の流量ゼロおよびバイパス湯水の流量ゼロの状態にすることが考えられる。
ところが、このような手段を採用したのでは、弁装置がたとえば温度調整域モードから流量調整域モードに移行する段階で、加熱湯水の流量が増加する。これでは、高温出湯は即座に阻止されず、出湯が阻止される前の期間中に、バイパス湯水に対する加熱湯水の流量比が一時的に増加し、出湯温度が却って高くなってしまう虞がある。このような虞は適切に防止することが要請される。
【先行技術文献】
【特許文献】
【0006】
特許第3674014号公報
特許第5004674号公報
特許第3812614号公報
特開平10-300208号公報
【発明の概要】
【発明が解決しようとする課題】
【0007】
本発明は、前記したような事情のもとで考え出されたものであり、湯水流量制御手段として、所定の温度調整域モードおよび流量調整域モードでの流量制御が可能な弁装置を用いながらも、高温出湯異常の防止または抑制を適切に図ることが可能な温水装置を提供することを、その課題としている。
【課題を解決するための手段】
【0008】
上記の課題を解決するため、本発明では、次の技術的手段を講じている。
【0009】
本発明により提供される温水装置は、湯水加熱用の熱交換器の入口側および出口側にそれぞれ接続されている入水路および出湯路と、前記熱交換器をバイパスして前記入水路および前記出湯路を相互に接続し、前記入水路の湯水をバイパス湯水として、前記出湯路を流れる加熱湯水に混合させることが可能なバイパス流路と、前記出湯路を流れる前記加熱湯水の流量および前記バイパス流路を流れる前記バイパス湯水の流量を変更可能な弁装置と、前記出湯路から外部に所定以上の高温の湯水が出湯する高温出湯異常の発生またはその虞を検出可能な異常検出手段と、を備えており、前記弁装置は、弁動作用のモータ駆動軸の回転角度が、所定の第1の角度から第2の角度の間で変化する過程において、前記バイパス湯水の流量が漸減しつつ前記加熱湯水の流量が漸増する温度調整域モードの流量制御、および前記バイパス湯水の流量が所定の最小流量以下に維持されつつ前記加熱湯水の流量が漸減するように前記弁装置に流れる湯水の総流量が変更される流量調整域モードの流量制御を順次実行可能な構成とされている、温水装置であって、前記高温出湯異常の発生またはその虞が前記異常検出手段により検出されたときに、前記弁装置が前記温度調整域モードである場合には、前記モータ駆動軸の回転角度を前記第1の角度に設定する制御が実行される一方、前記弁装置が前記流量調整域モードである場合には、前記モータ駆動軸の回転角度を前記第2の角度に設定する制御が実行されるように構成されていることを特徴としている。
【0010】
このような構成によれば、次のような効果が得られる。
すなわち、高温出湯異常またはその虞が発生したときに、弁装置が温度調整域モードである場合には、モータ駆動軸の回転角度を第1の角度に設定する制御が実行される。この場合、バイパス湯水の流量が増加する一方、加熱湯水の流量は減少していく。一方、高温出湯異常またはその虞が発生したときに、弁装置が流量調整域モードである場合には、モータ駆動軸の回転角度を第2の角度に設定する制御が実行される。この場合、バイパス湯水の流量は所定の最小流量以下に維持されつつ加熱湯水の流量が漸減する。したがって、いずれの場合であっても、バイパス湯水に対する加熱湯水の流量比が一時的に増加することもなく、加熱湯水の流量を順次減少させてゼロとし、またはゼロに近づけることができる。したがって、出湯温度が一時的に上昇するような不具合を生じさせることなく、異常高温の出湯を適切に防止または抑制することが可能である。
(【0011】以降は省略されています)
この特許をJ-PlatPat(特許庁公式サイト)で参照する
関連特許
株式会社ノーリツ
浴室除菌システム
今日
株式会社ノーリツ
浴室除菌システム
今日
株式会社ノーリツ
浴室用の除菌水散布装置およびこれを備えた浴室システム
今日
個人
集熱器具
28日前
株式会社トヨトミ
五徳
1か月前
個人
油ハネ防止カーテン
1か月前
株式会社コロナ
空調装置
3か月前
株式会社コロナ
空調装置
2か月前
株式会社コロナ
空調装置
1か月前
個人
UFO型空気清浄機
16日前
株式会社コロナ
空調装置
1か月前
株式会社コロナ
加湿装置
2か月前
株式会社コロナ
空調装置
1か月前
株式会社コロナ
給湯装置
4か月前
株式会社コロナ
空調装置
2か月前
株式会社コロナ
空気調和機
4か月前
個人
住宅換気空調システム
3か月前
株式会社コロナ
風呂給湯機
2か月前
個人
太陽光パネル傾斜装置
1か月前
株式会社コロナ
空気調和機
3か月前
株式会社コロナ
温水暖房装置
1か月前
ホーコス株式会社
排気フード
4か月前
株式会社パロマ
給湯器
4か月前
株式会社コロナ
直圧式給湯機
3か月前
株式会社コロナ
貯湯式給湯機
2か月前
株式会社コロナ
暖房システム
2か月前
個人
シンプルクーラー
1か月前
株式会社コロナ
貯湯式給湯機
2か月前
ホーコス株式会社
換気扇取付枠
2か月前
三菱電機株式会社
換気扇
1か月前
三菱電機株式会社
換気扇
1か月前
三菱電機株式会社
換気扇
8日前
株式会社コロナ
輻射式冷房装置
3か月前
三菱電機株式会社
換気扇
1か月前
株式会社コロナ
開放式燃焼暖房機
4か月前
株式会社パロマ
給湯暖房機
4か月前
続きを見る
他の特許を見る