TOP
|
特許
|
意匠
|
商標
特許ウォッチ
Twitter
他の特許を見る
10個以上の画像は省略されています。
公開番号
2025159833
公報種別
公開特許公報(A)
公開日
2025-10-22
出願番号
2024062635
出願日
2024-04-09
発明の名称
温水装置
出願人
株式会社ノーリツ
代理人
個人
主分類
F24H
1/14 20220101AFI20251015BHJP(加熱;レンジ;換気)
要約
【課題】湯水流量制御手段として、所定の温度調整域モードおよび流量調整域モードでの流量制御が可能な弁装置を用いながらも、高温出湯異常を適切に防止または抑制可能な温水装置を提供する。
【解決手段】温水装置WHの弁装置Aは、制御モードとして、弁動作用のモータ駆動軸8の回転角度が、所定の第1の角度α1から第2の角度α2の間で変化する過程において、熱交換器11からの加熱湯水とバイパス湯水との混合流量比を変更して外部への出湯温度を調整可能な温度調整域モードと、バイパス湯水の流量を所定の最小流量以下に維持しつつ前記加熱湯水の流量が変更されるように前記弁装置に流れる湯水の総流量を調整可能な流量調整域モードと、の流量制御を順次実行可能であり、熱交換器11の出口側温度Toutが所定の基準温度Taよりも高温である第1の条件が成立しているときには、温度調整域モードおよび温度調整域モードと流量調整域モードの境界から流量調整域モードへの変更が禁止される。
【選択図】 図1
特許請求の範囲
【請求項1】
湯水加熱用の熱交換器の入口側および出口側にそれぞれ接続されている入水路および出湯路と、
前記熱交換器をバイパスして前記入水路および前記出湯路を相互に接続し、前記入水路の湯水をバイパス湯水として、前記出湯路を流れる加熱湯水に混合させることが可能なバイパス流路と、
前記出湯路を流れる前記加熱湯水の流量および前記バイパス流路を流れる前記バイパス湯水の流量を変更可能な弁装置と、
を備えており、
前記弁装置の制御モードとして、弁動作用のモータ駆動軸の回転角度が、所定の第1の角度から第2の角度の間で変化する過程において、前記加熱湯水と前記バイパス湯水との混合流量比を変更して外部への出湯温度を調整可能な温度調整域モードと、前記バイパス湯水の流量を所定の最小流量以下に維持しつつ前記加熱湯水の流量が変更されるように前記弁装置に流れる湯水の総流量を調整可能な流量調整域モードと、の流量制御を順次実行可能な温水装置であって、
第1の条件として、前記熱交換器の出口側温度が所定の基準温度よりも高温であることが定められており、
前記弁装置は、前記第1の条件が成立しているときには、前記温度調整域モードおよび前記温度調整域モードと前記流量調整域モードの境界から前記流量調整域モードへの変更が禁止される制御モード変更規制が図られる構成とされていることを特徴とする、温水装置。
続きを表示(約 770 文字)
【請求項2】
請求項1に記載の温水装置において、
前記所定の基準温度は、目標出湯温度、前記熱交換器の出口側目標温度、またはこれらの温度に基づいて定められた温度である、温水装置。
【請求項3】
請求項1に記載の温水装置において、
第2の条件として、直近の湯水流通開始から現時点までの前記出湯路における前記加熱湯水の積算流量が、所定の基準積算流量に達していないことが定められており、
前記第1の条件に代えて、または加えて、前記第2の条件が成立しているときに、前記制御モード変更規制が図られるとともに、
前記制御モード変更規制は、前記第1および第2の条件の双方が不成立になったときに、解除される構成とされている、温水装置。
【請求項4】
請求項1に記載の温水装置において、
第3の条件として、直近の湯水流通開始から現時点までの経過時間が、所定の基準時間に達していないことが定められており、
前記第1の条件に代えて、または加えて、前記第3の条件が成立しているときに、前記制御モード変更規制が図られるとともに、
前記制御モード変更規制は、前記第1および第3の条件の双方が不成立になったときに、解除される構成とされている、温水装置。
【請求項5】
請求項1に記載の温水装置において、
第4の条件として、前記熱交換器の出口側温度が所定の不安定状態にあることが定められており、
前記第1の条件に代えて、または加えて、前記第4の条件が成立しているときに、前記制御モード変更規制が図られるとともに、
前記制御モード変更規制は、前記第1および第4の条件の双方が不成立になったときに、解除される構成とされている、温水装置。
発明の詳細な説明
【技術分野】
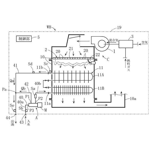
【0001】
本発明は、給湯装置などの温水装置に関する。
続きを表示(約 2,400 文字)
【背景技術】
【0002】
温水装置の具体例として、特許文献1に記載のものがある。
同文献に記載された温水装置は、バーナを用いて湯水加熱が可能な熱交換器を備えており、かつこの熱交換器の入口側および出口側にそれぞれ接続された入水路および出湯路は、バイパス流路を介して相互に接続されている。このことにより、出湯路には熱交換器により加熱された加熱湯水を流れさせつつ、この加熱湯水にはバイパス流路を流れる非加熱のバイパス湯水を混合させることが可能である。これら加熱湯水およびバイパス湯水のそれぞれの流量は、たとえば2つの流量調整弁(熱交換器流量調整弁、バイパス流量調整弁)を用いて変更可能であり、このことによりそれらの混合湯水の温度を所望の目標給湯温度(目標出湯温度)に設定し、または近づけることができる。
【0003】
しかしながら、前記従来技術においては、次に述べるように、解決すべき課題があった。
【0004】
すなわち、弁装置の具体例として、たとえば特許文献2,3に記載の弁装置があり、この弁装置を、前記した温水装置の2つの流量調整弁に代えて用いたい場合がある。より具体的には、特許文献2,3に記載の弁装置は、いわゆる3方弁であり、この弁装置の第1および第2のポートには、熱交換器により加熱された加熱湯水および非加熱のバイパス湯水を流入させ、かつこれらの混合湯水を第3のポートから流出させる混合弁として用いることが可能である。一方、弁装置の制御モードとしては、温度調整域モードと、流量調整域モードとがある。温度調整域モードは、加熱湯水とバイパス湯水との混合流量比を変更して外部への出湯温度を調整可能な制御モードである。流量調整域モードは、バイパス湯水の流量を所定の最小流量に維持しつつ加熱湯水の流量を変更して外部への出湯流量を調整可能な制御モードである。このような構成によれば、温水装置において用いられる弁装置(流量調整弁)の総数を少なくできるため、温水装置全体の構成の簡素化、および製造コストの低減を図ることが可能である。
【0005】
ところが、前記した弁装置は、湯水の温度調整と全体流量調整とを同時に実行することができない。このため、たとえば熱交換器における後沸き現象(温水装置の運転オフ後に熱交換器内の湯水が余熱により加熱されて高温になる現象)が発生し、熱交換器から出湯路に後沸きの高温の湯水が流出し、またはそのような虞がある際に、弁装置が流量調整域モードに設定されてしまうと、前記高温の湯水の温度を適切かつ迅速に低下させることは困難となる。これでは、給湯先に高温出湯を生じる虞がある。このような虞は適切に防止することが要請される。
【先行技術文献】
【特許文献】
【0006】
特許第3674014号公報
特許第5004674号公報
特許第3812614号公報
特開平10-300208号公報
【発明の概要】
【発明が解決しようとする課題】
【0007】
本発明は、前記したような事情のもとで考え出されたものであり、湯水流量制御手段として、所定の温度調整域モードおよび流量調整域モードでの流量制御が可能な弁装置を用いながらも、高温出湯を適切に防止または抑制することが可能な温水装置を提供することを、その課題としている。
【課題を解決するための手段】
【0008】
上記の課題を解決するため、本発明では、次の技術的手段を講じている。
【0009】
本発明により提供される温水装置は、湯水加熱用の熱交換器の入口側および出口側にそれぞれ接続されている入水路および出湯路と、前記熱交換器をバイパスして前記入水路および前記出湯路を相互に接続し、前記入水路の湯水をバイパス湯水として、前記出湯路を流れる加熱湯水に混合させることが可能なバイパス流路と、前記出湯路を流れる前記加熱湯水の流量および前記バイパス流路を流れる前記バイパス湯水の流量を変更可能な弁装置と、を備えており、前記弁装置の制御モードとして、弁動作用のモータ駆動軸の回転角度が、所定の第1の角度から第2の角度の間で変化する過程において、前記加熱湯水と前記バイパス湯水との混合流量比を変更して外部への出湯温度を調整可能な温度調整域モードと、前記バイパス湯水の流量を所定の最小流量以下に維持しつつ前記加熱湯水の流量が変更されるように前記弁装置に流れる湯水の総流量を調整可能な流量調整域モードと、の流量制御を順次実行可能な温水装置であって温水装置であって、第1の条件として、前記熱交換器の出口側温度が所定の基準温度よりも高温であることが定められており、前記弁装置は、前記第1の条件が成立しているときには、前記温度調整域モードおよび前記温度調整域モードと前記流量調整域モードの境界から前記流量調整域モードへの変更が禁止される制御モード変更規制が図られる構成とされていることを特徴としている。
【0010】
このような構成によれば、次のような効果が得られる。
すなわち、熱交換器の出口側温度が所定の基準温度よりも高温である第1の条件が成立し、熱交換器から高温の湯水が現に流出し、または流出する虞があるときには、弁装置の制御モードは流量調整域モードには変更されない。したがって、熱交換器から高温の湯水が流出しているにも拘わらず、弁装置が流量調整域モードにあることに起因して前記湯水の温度を低下させることが困難になることは回避される。弁装置の温度調整域モードにおいて、前記高温の湯水の温度を確実に低下させ、外部への不当な高温出湯を適切に防止することが可能である。
(【0011】以降は省略されています)
この特許をJ-PlatPat(特許庁公式サイト)で参照する
関連特許
株式会社ノーリツ
ふろ装置
28日前
株式会社ノーリツ
浴室除菌システム
今日
株式会社ノーリツ
浴室除菌システム
今日
株式会社ノーリツ
入浴システムおよびプログラム
28日前
株式会社ノーリツ
浴室用の除菌水散布装置およびこれを備えた浴室システム
今日
個人
集熱器具
28日前
株式会社トヨトミ
五徳
1か月前
個人
UFO型空気清浄機
16日前
株式会社コロナ
空調装置
3か月前
株式会社コロナ
空調装置
1か月前
株式会社コロナ
空調装置
1か月前
株式会社コロナ
空調装置
1か月前
株式会社コロナ
給湯装置
4か月前
株式会社コロナ
空調装置
2か月前
株式会社コロナ
加湿装置
2か月前
株式会社コロナ
空調装置
2か月前
個人
油ハネ防止カーテン
1か月前
株式会社コロナ
風呂給湯機
2か月前
個人
住宅換気空調システム
3か月前
個人
太陽光パネル傾斜装置
1か月前
株式会社コロナ
空気調和機
3か月前
株式会社コロナ
空気調和機
4か月前
株式会社コロナ
貯湯式給湯機
2か月前
ホーコス株式会社
排気フード
4か月前
個人
シンプルクーラー
1か月前
株式会社コロナ
温水暖房装置
1か月前
株式会社コロナ
直圧式給湯機
3か月前
株式会社パロマ
給湯器
4か月前
株式会社コロナ
暖房システム
2か月前
株式会社コロナ
貯湯式給湯機
2か月前
三菱電機株式会社
換気扇
8日前
株式会社コロナ
輻射式冷房装置
3か月前
三菱電機株式会社
換気扇
1か月前
三菱電機株式会社
換気扇
1か月前
三菱電機株式会社
換気扇
1か月前
ホーコス株式会社
換気扇取付枠
2か月前
続きを見る
他の特許を見る