TOP
|
特許
|
意匠
|
商標
特許ウォッチ
Twitter
他の特許を見る
公開番号
2025162668
公報種別
公開特許公報(A)
公開日
2025-10-28
出願番号
2024065999
出願日
2024-04-16
発明の名称
浴室除菌システム
出願人
株式会社ノーリツ
代理人
個人
主分類
F24H
15/196 20220101AFI20251021BHJP(加熱;レンジ;換気)
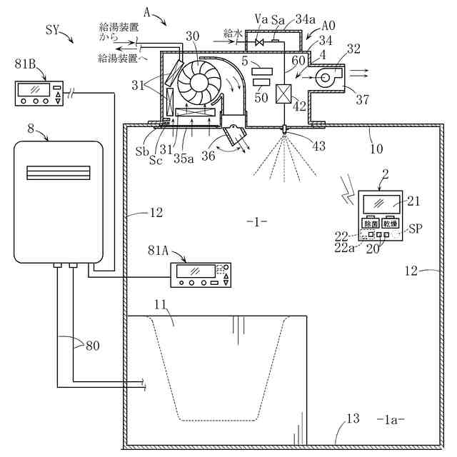
要約
【課題】浴室の除菌処理を行なう際に、除菌水からの遊離ガスなどのガス濃度が過度に高くなることを適切に抑制することが可能な浴室除菌システムを提供する。
【解決手段】浴室1の除菌処理を行なうべく浴室1への除菌水散布工程が可能な除菌水散布装置4と、除菌水散布工程を実行させるための運転オン操作が可能な操作手段22と、を備えている、浴室除菌システムSYであって、除菌水散布装置4による除菌水散布工程が終了した後の所定期間は、操作手段22による運転オン操作は無効とされ、除菌水散布工程の再実行が禁止される再除菌禁止期間Pとされる。
【選択図】 図1
特許請求の範囲
【請求項1】
浴室の除菌処理を行なうべく前記浴室への除菌水散布工程を実行可能な除菌水散布装置と、
前記除菌水散布工程を実行させるための運転オン操作が可能な操作手段と、
を備えている、浴室除菌システムであって、
前記除菌水散布装置による前記除菌水散布工程が終了した後の所定期間は、前記操作手段による前記運転オン操作は無効とされ、前記除菌水散布工程の再実行が禁止される再除菌禁止期間とされるように構成されていることを特徴とする、浴室除菌システム。
続きを表示(約 710 文字)
【請求項2】
請求項1に記載の浴室除菌システムであって、
前記再除菌禁止期間中において、ユーザによって前記運転オン操作がなされたときに、この操作が無効である旨を前記ユーザに察知させるための報知動作を実行可能な報知手段を、さらに備えている、浴室除菌システム。
【請求項3】
請求項1に記載の浴室除菌システムであって、
前記除菌水散布工程の開始時から終了時までの期間も前記再除菌禁止期間に含まれ、
前記除菌水散布工程が途中で中止された場合であっても、前記再除菌禁止期間が終了するまでは前記除菌水散布工程の再実行は禁止されるように構成されている、浴室除菌システム。
【請求項4】
請求項3に記載の浴室除菌システムであって、
前記再除菌禁止期間は、前記除菌水散布工程の終了後または途中での中止後において仮に前記除菌水散布工程が再実行されたならば、前記浴室内における前記除菌水の遊離ガスまたは揮発ガスの濃度が所定の安全基準濃度を超えると想定される期間である、浴室除菌システム。
【請求項5】
請求項1に記載の浴室除菌システムであって、
前記再除菌禁止期間の始期、終期、または長さの少なくともいずれかを変更可能な再除菌禁止期間変更手段を、さらに備えている、浴室除菌システム。
【請求項6】
請求項1に記載の浴室除菌システムであって、
前記再除菌禁止期間が設定オンであるときに、特定の操作または処理がなされることにより前記再除菌禁止期間を設定オフにすることが可能な制御手段を、さらに備えている、浴室除菌システム。
発明の詳細な説明
【技術分野】
【0001】
本発明は、オゾン水などの除菌水を浴室に散布する浴室除菌システムに関する。
続きを表示(約 1,700 文字)
【背景技術】
【0002】
浴室除菌システムの具体例として、たとえば特許文献1に記載されているように、除菌水であるオゾン水を浴室に散布可能なオゾン水散布装置を備えたものがある。
このような構成によれば、除菌作用を有するオゾン水が浴室に散布されることにより、浴室の壁面などの各部に除菌処理を施し、カビや雑菌類などの繁殖を抑制する作用が得られる。
【0003】
しかしながら、前記従来技術においては、次に述べるように、未だ改善すべき余地があった。
【0004】
すなわち、浴室にオゾン水を散布すると、このオゾン水からオゾンガスが遊離する。浴室におけるオゾンガス濃度が高くなると、オゾン特有の臭いが強くなってユーザが不快な思いをするばかりか、ユーザの健康に害が及ぶ虞もある。これに対し、一般的には、浴室の除菌処理を行なうべく浴室へのオゾン水散布工程を実行した後には、たとえば換気扇や浴室乾燥装置を利用した浴室の換気や乾燥が行なわれ、オゾン濃度が十分に低くされる。
ところが、たとえば浴室の換気時に浴室ドアのガラリが閉塞していたり、あるいは換気扇の排気口の一部に埃が詰まるなどして換気扇の能力が十分に発揮できない場合などには、浴室のオゾンガス濃度が長時間にわたって十分に低下しない状況が発生し得る。このような状況下において、ユーザにより所定のスイッチ操作がなされ、除菌水散布工程が再度開始されたのでは、浴室のオゾンガス濃度がかなり高くなってしまい(後述する図5の対比例も参照)、ユーザの健康に害が及ぶ虞が生じる。したがって、このような事態を適切に抑制することが望まれる。
【0005】
なお、除菌水としては、オゾン水以外として、たとえば次亜塩素酸水などがあるが、そのような他の種類の除菌水を用いる場合においても前記したのと同様な事態を生じ得る。
【先行技術文献】
【特許文献】
【0006】
特開2024-2058号公報
【発明の概要】
【発明が解決しようとする課題】
【0007】
本発明は、前記したような事情のもとで考え出されたものであり、浴室の除菌処理を行なう際に、除菌水からの遊離ガスなどのガス濃度が過度に高くなることを適切に抑制することが可能な浴室除菌システムを提供することを、その課題としている。
【課題を解決するための手段】
【0008】
上記の課題を解決するため、本発明では、次の技術的手段を講じている。
【0009】
本発明により提供される浴室除菌システムは、浴室の除菌処理を行なうべく前記浴室への除菌水散布工程を実行可能な除菌水散布装置と、前記除菌水散布工程を実行させるための運転オン操作が可能な操作手段と、を備えている、浴室除菌システムであって、前記除菌水散布装置による前記除菌水散布工程が終了した後の所定期間は、前記操作手段による前記運転オン操作は無効とされ、前記除菌水散布工程の再実行が禁止される再除菌禁止期
間とされるように構成されていることを特徴としている。
【0010】
このような構成によれば、次のような効果が得られる。
すなわち、浴室の除菌処理を行なうべく前記浴室への除菌水散布工程が実行された場合に、この除菌水散布工程を終了してから余り時間が経過しておらず、再除菌禁止期間中にある時点では、ユーザが除菌水散布工程を再実行しようとしても、その操作は無効とされ、除菌水散布工程は、再実行されない。したがって、従来技術とは異なり、除菌水散布工程を終了してから余り時間が経過しておらず、浴室内における除菌水の遊離ガスまたは揮発ガスの濃度が十分に低下していない段階で除菌水散布工程が再実行されることに起因して、遊離ガスまたは揮発ガスの濃度が過度に高くなることを防止することができる。その結果、除菌水の高濃度の遊離ガスあるいは揮発ガスによってユーザが不快になることや、ユーザの身体に害が及ぶことを適切に防止または抑制することが可能である。
(【0011】以降は省略されています)
この特許をJ-PlatPat(特許庁公式サイト)で参照する
関連特許
株式会社ノーリツ
分配弁
26日前
株式会社ノーリツ
温水装置
7日前
株式会社ノーリツ
温水装置
12日前
株式会社ノーリツ
給湯装置
19日前
株式会社ノーリツ
浴室除菌システム
1日前
株式会社ノーリツ
住設機器の取付構造
26日前
株式会社ノーリツ
住設機器の取付構造
26日前
株式会社ノーリツ
ヒートポンプ給湯装置
19日前
個人
空気調和機
4か月前
個人
エアコン室内機
4か月前
株式会社トヨトミ
五徳
5日前
株式会社コロナ
加湿装置
1か月前
株式会社コロナ
空調装置
5日前
株式会社コロナ
給湯装置
3か月前
株式会社コロナ
空調装置
1か月前
株式会社コロナ
空調装置
20日前
株式会社コロナ
空調装置
2か月前
株式会社コロナ
空調装置
5日前
株式会社コロナ
空調装置
4か月前
株式会社コロナ
空調装置
1か月前
個人
住宅換気空調システム
2か月前
株式会社コロナ
空気調和機
2か月前
株式会社コロナ
空気調和機
3か月前
株式会社コロナ
風呂給湯機
1か月前
個人
太陽光パネル傾斜装置
15日前
株式会社コロナ
貯湯式給湯機
1か月前
株式会社コロナ
直圧式給湯機
2か月前
個人
シンプルクーラー
13日前
株式会社コロナ
貯湯式給湯機
26日前
ホーコス株式会社
排気フード
2か月前
株式会社コロナ
暖房システム
1か月前
株式会社コロナ
温水暖房装置
5日前
株式会社パロマ
給湯器
3か月前
株式会社コロナ
直圧式給湯機
3か月前
三菱電機株式会社
換気扇
14日前
ホーコス株式会社
換気扇取付枠
1か月前
続きを見る
他の特許を見る