TOP
|
特許
|
意匠
|
商標
特許ウォッチ
Twitter
他の特許を見る
公開番号
2025156717
公報種別
公開特許公報(A)
公開日
2025-10-15
出願番号
2024059299
出願日
2024-04-02
発明の名称
空調装置
出願人
オリオン機械株式会社
代理人
個人
主分類
F24F
1/0067 20190101AFI20251007BHJP(加熱;レンジ;換気)
要約
【課題】温度や湿度を好適に調整する。
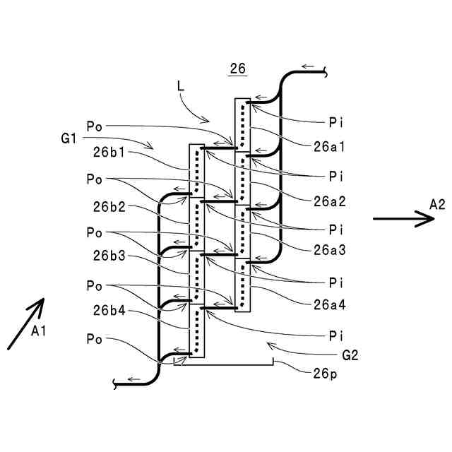
【解決手段】導風路Lの下流側部位に配設されたN=4個の蒸発器26a1~26a4および上流側部位に配設されたM=4個の蒸発器26b1~26b4を備えて冷却部26が構成され、各蒸発器26a,26bは、冷媒導入口Piが冷媒排出口Poよりも上方に位置するように立設された状態で上下方向に沿って並べられ、各蒸発器26aのうちのいずれかを通過させられた冷媒が各蒸発器26bのうちのいずれかを通過させられ、かつ各蒸発器26aのうちの他のいずれかを通過させられた冷媒が各蒸発器26bのうちの他のいずれかを通過させられるように接続されると共に、上記のいずれかの蒸発器26bの導入口Piが上記のいずれかの蒸発器26aの排出口Poよりも上方に位置せず、上記の他のいずれかの蒸発器26bの導入口Piが上記の他のいずれかの蒸発器26aの排出口Poよりも上方に位置しないように配置されている。
【選択図】図4
特許請求の範囲
【請求項1】
温度および湿度の少なくとも一方の調整対象である空気を圧送する送風機と、
前記送風機によって圧送される前記空気の通過が可能に配置されると共に当該空気を冷却して前記少なくとも一方を調整する冷却部とを備えた空調装置であって、
前記冷却部は、前記送風機によって圧送される前記空気を排気口に案内する導風路における下流側部位に配設されたN個(Nは、2以上の自然数)の第1蒸発器、および当該導風路における上流側部位に配設されたM個(Mは、2以上の自然数)の第2蒸発器を備え、
前記各第1蒸発器は、前記導風路内における前記空気の進行方向に対して当該空気の導入面が交差し、かつ冷媒導入口が冷媒排出口よりも上方に位置するようにそれぞれ立設された状態で上下方向に沿って並べられ、
前記各第2蒸発器は、前記導風路内における前記空気の進行方向に対して当該空気の導入面が交差し、かつ冷媒導入口が冷媒排出口よりも上方に位置するようにそれぞれ立設された状態で上下方向に沿って並べられ、
前記各第1蒸発器のうちのいずれかの当該第1蒸発器を通過させられた冷媒が前記各第2蒸発器のうちのいずれかの当該第2蒸発器を通過させられ、かつ当該各第1蒸発器のうちの他のいずれかの当該第1蒸発器を通過させられた冷媒が当該各第2蒸発器のうちの他のいずれかの当該第2蒸発器を通過させられるように冷媒配管が接続されると共に、
前記いずれかの第2蒸発器における冷媒導入口が前記いずれかの第1蒸発器における冷媒排出口よりも上方に位置せず、かつ前記他のいずれかの第2蒸発器における冷媒導入口が前記他のいずれかの第1蒸発器における冷媒排出口よりも上方に位置しないように当該各第1蒸発器および当該各第2蒸発器が配置されている空調装置。
続きを表示(約 170 文字)
【請求項2】
前記導風路における前記冷却部の下流側に配設されて当該冷却部によって冷却された前記空気を加熱する加熱部を備え、
前記加熱部は、前記各第1蒸発器に供給する前記冷媒の少なくとも一部を凝縮させる凝縮器を備え、当該凝縮器における当該冷媒と前記空気との熱交換によって当該空気を加熱可能に構成されている請求項1記載の空調装置。
発明の詳細な説明
【技術分野】
【0001】
本発明は、蒸発器によって調整対象の空気を冷却することで温度および湿度の少なくとも一方を調整可能に構成された空調装置に関するものである。
続きを表示(約 2,700 文字)
【背景技術】
【0002】
この種の空調装置として、外気(空気)の温度および湿度を調整して室内に供給可能に構成された外気処理機の発明が下記の特許文献に開示されている。この外気処理機は、ヒートポンプユニットおよびボイラーユニットを備え、両ユニットが一体化されている。また、この外気処理機は、下段ケーシング、中段ケーシングおよび上段ケーシング(以下、「下段収容部」、「中段収容部」および「上段収容部」)の3つに区画された金属製のケーシング内に上記の各ユニットの構成要素が収容されている。
【0003】
具体的には、下段収容部には、ボイラーユニットのボイラや貯湯槽、およびヒートポンプユニットの圧縮機などが収容されている。また、中段収容部には、ヒートポンプユニットの凝縮器(再熱器)や蒸発器、ボイラーユニットの貯湯槽から供給される熱媒水(湯)によって空気を加熱する2つの熱媒水コイル、および加湿器などが収容されると共に、外気を導入するための開口部(以下、「導入口」ともいう)が左右側面の一方に開口され、かつ温度および湿度を調整した空気を排気(室内等へ供給)するための開口部(以下、「排気口」ともいう)が左右側面の他方に開口されている。また、上段収容部には、ヒートポンプユニットの凝縮器や排気ファン(凝縮器ファン)が収容されると共に、外気を導入するための開口部が左右側面に開口され、かつ凝縮器との熱交換によって温度上昇した空気を排気するための開口部が上部(天部)に開口されている。
【0004】
この場合、この外気処理機では、中段収容部に開口された導入口から排気口に向かって移動させられる外気(空気)が、一方の熱媒水コイル、蒸発器、凝縮器、加湿器、および他方の熱媒水コイルをこの順で通過するように、これらの構成要素が横並びの状態で中段収容部に収容されている。これにより、この外気処理機では、蒸発器による冷却および除湿、加湿器による加湿、並びに両熱媒水コイルや凝縮器による加熱の度合いを適宜調整することで、排気口から導入した空気の温度および湿度を任意に調整して排気口から室内に排気(供給)することが可能となっている。
【先行技術文献】
【特許文献】
【0005】
特開2022-109494号公報(第3-7頁、第1-4図)
【発明の概要】
【発明が解決しようとする課題】
【0006】
ところが、上記特許文献に開示の外気処理機には、以下のような解決すべき課題が存在する。
【0007】
具体的には、前述したように、上記の外気処理機では、導入口から導入された空気が排気口に向かって、一方の熱媒水コイル、蒸発器、凝縮器、加湿器、および他方の熱媒水コイルをこの順で通過させられる際に、蒸発器による冷却および除湿、加湿器による加湿、および両熱媒水コイルや凝縮器による加熱によって空気の温度や湿度が調整される構成が採用されている。なお、上記の外気処理機における両熱媒水コイルによる空気の加熱については、本願発明に係る空調装置の発明とは直接的には関係がないため、以下、ボイラーユニットの構成および動作など(両熱媒水コイルの存在、および両熱媒水コイルによる空気の加熱など)に関する説明を省略する。
【0008】
この場合、この種の空調装置では、導入口から排気口に空気を案内する導風路が筐体内に設けられており、この導風路内に蒸発器や凝縮器などが配設されている。また、この種の空調装置では、排気口に向かって導風路内を移動する空気が蒸発器を通過させられる際に、蒸発器内の冷媒との熱交換によって空気の温度が低下させられると共に、温度低下による相対湿度の上昇に伴う結露によって空気中の水分が分離されて絶対湿度が低下させられることで空気の温度および湿度が調整される構成が採用されている。このため、蒸発器を通過せずに排気口に到達する空気の量が多いときには、排気口から供給対象に供給される空気に、温度や湿度が調整されていない多量の空気が含まれた状態となり、所望の温度や湿度に調整された空気を供給対象に供給するのが困難となる。したがって、この種の空調装置では、蒸発器における空気の導入面が導風路内における空気の進行方向に対して交差するように配置すると共に、導風路を塞ぐようにして蒸発器を配置することにより、排気口に向かって導風路内を移動する空気の大半が蒸発器を通過させられるように構成されている。
【0009】
一方、蒸発器には、膨張弁を通過させられた冷媒を器内に導入する冷媒導入口、および器内において空気との熱交換(空気からの吸熱)によって温度上昇させられた冷媒を器外に排出する冷媒排出口が設けられている。また、冷媒導入口の近傍に位置している冷媒が十分な吸熱力を有しているのに対し、冷媒排出口の近傍まで器内を移動させられた冷媒は、器内の移動中に空気との熱交換が行われたことで、冷媒導入口の近傍に位置していたときよりも吸熱力が低下した状態となっている。したがって、蒸発器における冷媒導入口の近傍を通過させられた空気(冷媒導入口の近傍に位置している冷媒と熱交換された空気)よりも、冷媒排出口の近傍を通過させられた空気(冷媒排出口の近傍に位置している冷媒と熱交換された空気)の方が、温度低下の度合いや絶対湿度の低下の度合いが低くなる傾向がある。このような傾向は、大型の蒸発器、すなわち、冷媒導入口から冷媒排出口までの距離が長いほど大きくなる。
【0010】
ここで、上記特許文献に開示されている外気処理機では、同文献の図1に示されているように、1枚の大きな蒸発器が配設されている。また、この外気処理機では、蒸発器における上方部位に冷媒導入口が設けられると共に、蒸発器における下方部位に冷媒排出口が設けられている。したがって、この外気処理機では、蒸発器における上方部位を通過させられる空気については、その温度や絶対湿度を十分に低下させることができたとしても、蒸発器における下方部位を通過させられる空気については、その温度や絶対湿度を十分に低下させることが困難となるおそれがある。このため、蒸発器の上方部位を通過させられた空気と蒸発器の下方部位を通過させられた空気との混合気が供給対象に供給されるこの外気処理機では、供給対象に対して所望の温度および湿度に調整された空気を供給するのが困難となる。
(【0011】以降は省略されています)
この特許をJ-PlatPat(特許庁公式サイト)で参照する
関連特許
オリオン機械株式会社
空調装置
2日前
株式会社コロナ
空調装置
3か月前
株式会社コロナ
空調装置
8日前
株式会社コロナ
空調装置
18日前
株式会社コロナ
加湿装置
28日前
株式会社コロナ
空調装置
2か月前
株式会社コロナ
給湯装置
2か月前
株式会社コロナ
空調装置
1か月前
個人
住宅換気空調システム
1か月前
株式会社コロナ
空気調和機
2か月前
株式会社コロナ
空気調和機
1か月前
個人
太陽光パネル傾斜装置
3日前
株式会社コロナ
風呂給湯機
1か月前
個人
シンプルクーラー
1日前
株式会社コロナ
直圧式給湯機
1か月前
株式会社コロナ
貯湯式給湯機
22日前
株式会社パロマ
給湯器
3か月前
株式会社コロナ
貯湯式給湯機
14日前
株式会社コロナ
暖房システム
18日前
株式会社コロナ
直圧式給湯機
3か月前
ホーコス株式会社
排気フード
2か月前
株式会社コロナ
貯湯式給湯装置
3か月前
三菱電機株式会社
換気扇
2日前
三菱電機株式会社
換気扇
2日前
三菱電機株式会社
換気扇
2日前
株式会社コロナ
輻射式冷房装置
1か月前
ホーコス株式会社
換気扇取付枠
1か月前
株式会社パロマ
給湯暖房機
3か月前
株式会社パロマ
給湯暖房機
3か月前
株式会社パロマ
給湯暖房機
3か月前
株式会社パロマ
給湯暖房機
3か月前
株式会社パロマ
給湯暖房機
3か月前
株式会社パロマ
給湯暖房機
3か月前
個人
籾殻(そば殻)燃焼ストーブ
1か月前
株式会社パロマ
給湯暖房機
3か月前
株式会社パロマ
給湯暖房機
3か月前
続きを見る
他の特許を見る