TOP
|
特許
|
意匠
|
商標
特許ウォッチ
Twitter
他の特許を見る
公開番号
2025156718
公報種別
公開特許公報(A)
公開日
2025-10-15
出願番号
2024059302
出願日
2024-04-02
発明の名称
空調装置
出願人
オリオン機械株式会社
代理人
個人
主分類
F24F
13/20 20060101AFI20251007BHJP(加熱;レンジ;換気)
要約
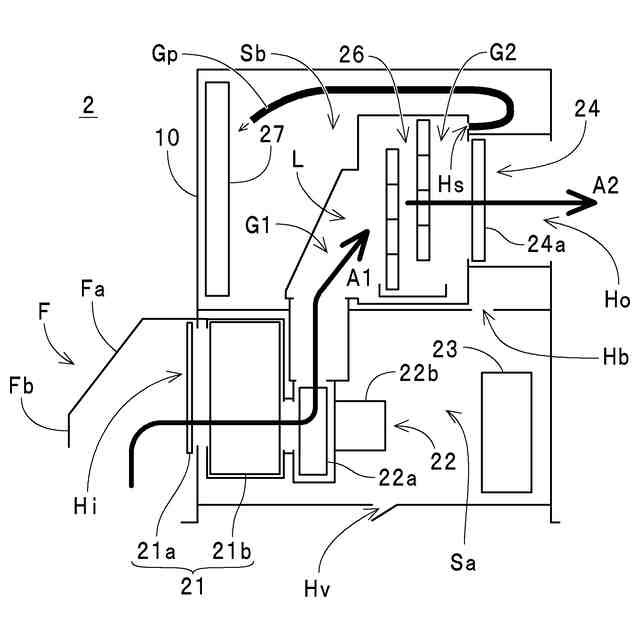
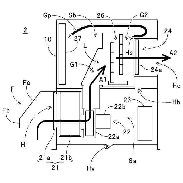
【課題】筐体内への異物の侵入を招くことなく、配電盤を十分に冷却して長時間に亘って安定動作させる。
【解決手段】送風機22と、空気を冷却して温度や湿度を調整する蒸発器26a,26bを有する冷却部26、冷媒を凝縮する凝縮器24aおよび冷媒を圧送する圧縮機23を有する冷凍サイクルと、送風機22および圧縮機23に電源を供給する電源部27aを有する配電盤27と、送風機22、冷却部26、圧縮機23および配電盤27を収容する筐体10とを備え、筐体10は、空気の導入口Hiが設けられると共に、送風機22および圧縮機23が収容される下方収容部Saと、空気の排気口Hoが設けられると共に下方収容部Saに対して区画され、蒸発器26a,26bおよび配電盤27が収容される上方収容部Sbとを形成可能に構成され、冷却部26を通過させられた空気の一部を上方収容部Sb内に給気する給気口Hsが導風路Lに設けられている。
【選択図】図3
特許請求の範囲
【請求項1】
温度および湿度の少なくとも一方の調整対象である空気を圧送する送風機と、
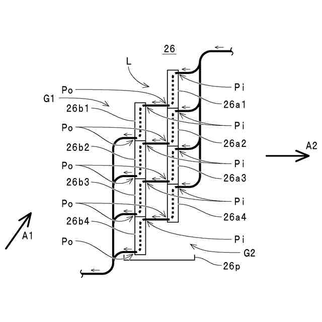
前記送風機によって圧送される前記空気の通過が可能に配置されると共に当該空気を冷却して前記少なくとも一方を調整する蒸発器を有する冷却部、当該蒸発器に供給する冷媒を凝縮する凝縮器、および当該冷媒を圧送する圧縮機を有する冷凍サイクルと、
前記送風機および前記圧縮機に電源を供給する電源部を有する配電盤と、
少なくとも、前記送風機、前記蒸発器、前記圧縮機および前記配電盤を収容する筐体とを備えた空調装置であって、
前記筐体は、前記空気の導入口が設けられると共に、少なくとも、前記送風機および前記圧縮機が収容される下方収容部と、前記空気の排気口が設けられると共に前記下方収容部の上方に配置されて当該下方収容部に対して区画され、少なくとも、前記蒸発器および前記配電盤が収容される上方収容部とを形成可能に構成され、
前記送風機によって圧送される前記空気を前記排気口に案内する導風路に、前記蒸発器を通過させられた前記空気の一部を前記上方収容部内に給気する給気部が配設されている空調装置。
続きを表示(約 560 文字)
【請求項2】
前記給気部は、前記蒸発器を通過させられた前記空気の一部を前記導風路から前記配電盤の近傍まで案内する案内用配管を備えている請求項1記載の空調装置。
【請求項3】
前記導入口が前記下方収容部の側面に開口されると共に、前記排気口が前記上方収容部の側面に開口され、
前記送風機は、遠心式ファンで構成されると共に、前記導入口から吸気した前記空気を上方に向かって排気可能に前記下方収容部内に収容され、
前記導風路は、前記送風機から排気される前記空気を前記蒸発器における当該空気の導入面に対して斜め上向きに案内する第1案内部と、前記蒸発器を通過させられた前記空気を側方の前記排気口に向かって案内する第2案内部とを備え、
前記導入口から前記送風機への前記空気の進行方向と前記蒸発器から前記排気口への前記空気の進行方向とが平面視において同一方向となるように構成されている請求項1記載の空調装置。
【請求項4】
前記蒸発器に供給する前記冷媒の少なくとも一部を凝縮させる前記凝縮器を有し、前記導風路における前記蒸発器の下流側に配設されて当該凝縮器における当該冷媒と前記空気との熱交換によって当該空気を加熱可能に構成された加熱部を備えている請求項1記載の空調装置。
発明の詳細な説明
【技術分野】
【0001】
本発明は、蒸発器によって調整対象の空気を冷却することで温度および湿度の少なくとも一方を調整可能に構成された空調装置に関するものである。
続きを表示(約 2,400 文字)
【背景技術】
【0002】
この種の空調装置として、外気(空気)の温度および湿度を調整して室内に供給可能に構成された外気処理機の発明が下記の特許文献に開示されている。この外気処理機は、ヒートポンプユニットおよびボイラーユニットを備え、両ユニットが一体化されている。また、この外気処理機は、下段ケーシング、中段ケーシングおよび上段ケーシング(以下、「下段収容部」、「中段収容部」および「上段収容部」)の3つに区画された金属製のケーシング内に上記の各ユニットの構成要素が収容されている。
【0003】
具体的には、下段収容部には、ボイラーユニットのボイラや貯湯槽、およびヒートポンプユニットの圧縮機などが収容されている。また、中段収容部には、ヒートポンプユニットの凝縮器(再熱器)や蒸発器、ボイラーユニットの貯湯槽から供給される熱媒水(湯)によって空気を加熱する2つの熱媒水コイル、および加湿器などが収容されると共に、外気を導入するための開口部(以下、「導入口」ともいう)が左右側面の一方に開口され、かつ温度および湿度を調整した空気を排気(室内等へ供給)するための開口部(以下、「排気口」ともいう)が左右側面の他方に開口されている。また、上段収容部には、ヒートポンプユニットの凝縮器や排気ファン(凝縮器ファン)が収容されると共に、外気を導入するための開口部が左右側面に開口され、かつ凝縮器との熱交換によって温度上昇した空気を排気するための開口部が上部(天部)に開口されている。
【0004】
この場合、この外気処理機では、中段収容部に開口された導入口から排気口に向かって移動させられる外気(空気)が、一方の熱媒水コイル、蒸発器、凝縮器、加湿器、および他方の熱媒水コイルをこの順で通過するように、これらの構成要素が横並びの状態で中段収容部に収容されている。これにより、この外気処理機では、蒸発器による冷却および除湿、加湿器による加湿、並びに両熱媒水コイルや凝縮器による加熱の度合いを適宜調整することで、排気口から導入した空気の温度および湿度を任意に調整して排気口から室内に排気(供給)することが可能となっている。
【先行技術文献】
【特許文献】
【0005】
特開2022-109494号公報(第3-7頁、第1-4図)
【発明の概要】
【発明が解決しようとする課題】
【0006】
ところが、上記特許文献に開示の外気処理機には、以下のような解決すべき課題が存在する。
【0007】
具体的には、前述したように、上記の外気処理機では、導入口から導入された空気が排気口に向かって、一方の熱媒水コイル、蒸発器、凝縮器、加湿器、および他方の熱媒水コイルをこの順で通過させられる際に、蒸発器による冷却および除湿、加湿器による加湿、および両熱媒水コイルや凝縮器による加熱によって空気の温度や湿度が調整される構成が採用されている。なお、上記の外気処理機における両熱媒水コイルによる空気の加熱については、本願発明に係る空調装置の発明とは直接的には関係がないため、以下、ボイラーユニットの構成および動作など(両熱媒水コイルの存在、および両熱媒水コイルによる空気の加熱など)に関する説明を省略する。
【0008】
この場合、この種の空調装置では、圧縮機や送風機における電動機(モータ)の回転数を変化させることで冷媒の圧送量や空気の供給量を変化させる構成が採用されており、これらの電動機などに電源を供給する電源部を備えた配電盤が、冷凍サイクルの各構成要素などと共に筐体(ケーシング)内に収容されている。また、上記特許文献の段落[0031]以降において説明されているように、この種の空調装置では、温度や湿度を調整するために各部の動作を制御する制御部を備えている。この場合、上記の電源部は、インバータなどの発熱部品を備えており、電源供給時に非常に高い温度まで温度上昇する。また、近年の空調装置では、使用環境の変化や、供給対象の負荷の変動に応じて、空調装置による温度や湿度の調整の度合いを逐次変化させる必要から、制御部に掛かる負荷が増大して発熱量が増加する傾向がある。このため、空調装置の動作時には、電源部等と共に配電盤に配設されている制御部も非常に高い温度まで温度上昇する。
【0009】
ここで、この種の空調装置は、屋外に設置されることが多く、屋外に設置された状態においては、配電盤(電源部や制御部)の発熱に加え、太陽光を受けて筐体(ケーシング)内が非常に高い温度となる。このため、太陽光が強く、日射時間も長い夏季などにおいては、電源部が過剰に高温となって各部に対する電源の供給効率が低下したり、制御部が過剰に高温となって正常な制御が困難となったりするおそれがある。一方、送風機を配設して筐体内の空気を循環させることで配電盤を冷却する構成も存在するが、配電盤のみならず、冷凍サイクルにおける圧縮機の電動機(モータ)や、調整対象の空気を送風する送風機の電動機(モータ)の発熱によって温度上昇している空気を循環させたとしても、配電盤を十分に冷却するのが困難となっている。また、筐体内に外気を導入して配電盤を冷却する構成を採用した場合には、導入した外気と共に水分や塵埃などの異物が侵入し、これらの侵入に起因して各部の動作不良を招くおそれがある。
【0010】
本発明は、かかる解決すべき課題に鑑みてなされたものであり、筐体内への異物の侵入を招くことなく、配電盤を十分に冷却して長時間に亘って安定動作を継続させ得る空調装置を提供することを主目的とする。
【課題を解決するための手段】
(【0011】以降は省略されています)
この特許をJ-PlatPat(特許庁公式サイト)で参照する
関連特許
オリオン機械株式会社
空調装置
2日前
オリオン機械株式会社
空調装置
2日前
オリオン機械株式会社
ヒータおよびこれを有する液体温調装置
3日前
株式会社コロナ
空調装置
1か月前
株式会社コロナ
空調装置
3か月前
株式会社コロナ
空調装置
8日前
株式会社コロナ
空調装置
2か月前
株式会社コロナ
空調装置
18日前
株式会社コロナ
給湯装置
2か月前
株式会社コロナ
加湿装置
28日前
個人
太陽光パネル傾斜装置
3日前
個人
住宅換気空調システム
1か月前
株式会社コロナ
空気調和機
2か月前
株式会社コロナ
風呂給湯機
1か月前
株式会社コロナ
空気調和機
1か月前
株式会社コロナ
直圧式給湯機
3か月前
個人
シンプルクーラー
1日前
ホーコス株式会社
排気フード
2か月前
株式会社パロマ
給湯器
3か月前
株式会社コロナ
直圧式給湯機
1か月前
株式会社コロナ
暖房システム
18日前
株式会社コロナ
貯湯式給湯機
14日前
株式会社コロナ
貯湯式給湯機
22日前
株式会社コロナ
貯湯式給湯装置
3か月前
三菱電機株式会社
換気扇
2日前
三菱電機株式会社
換気扇
2日前
三菱電機株式会社
換気扇
2日前
株式会社コロナ
輻射式冷房装置
1か月前
ホーコス株式会社
換気扇取付枠
1か月前
株式会社ノーリツ
給湯装置
7日前
株式会社ノーリツ
温水装置
3か月前
三菱電機株式会社
送風装置
2か月前
株式会社ノーリツ
温水装置
3か月前
株式会社パロマ
給湯暖房機
3か月前
株式会社パロマ
給湯暖房機
3か月前
株式会社コロナ
開放式燃焼暖房機
2か月前
続きを見る
他の特許を見る