TOP
|
特許
|
意匠
|
商標
特許ウォッチ
Twitter
他の特許を見る
10個以上の画像は省略されています。
公開番号
2025140953
公報種別
公開特許公報(A)
公開日
2025-09-29
出願番号
2024040623
出願日
2024-03-15
発明の名称
湯沸器
出願人
株式会社パロマ
代理人
個人
,
個人
主分類
F24H
9/00 20220101AFI20250919BHJP(加熱;レンジ;換気)
要約
【課題】非使用時において、シャワーヘッドから大量の残水が吐出されるのを抑制できる湯沸器を提供する。
【解決手段】シャワーヘッド4は切替本体部60、シャワー筒部10、流路形成体20を備える。流路形成体20は仕切壁21を備える。仕切壁21の先端部11側の面には、覆い部37が設けられる。覆い部37は、シャワーヘッド4を垂下姿勢にした状態で、連通口43の周囲を覆う。覆い部37には開口部370が設けられる。開口部370は覆い部37の内部空間と環状空間90とを連通させる。開口部370は、シャワーヘッド4を垂下姿勢にした状態で、後方に向けて開口する。シャワーヘッド4が前振り姿勢になると、覆い部37に設けられた開口部370は下向きになる。
【選択図】図12
特許請求の範囲
【請求項1】
上水を加熱して出湯可能な本体と、可動性を有し、前記本体から出湯された湯水を下流側に流す出湯管と、前記出湯管の先端に固定されたシャワーヘッドとを備え、前記出湯管を可動させることにより、前記シャワーヘッドを下方に向けた垂下姿勢と前記垂下姿勢よりも上側に振って傾けた傾き姿勢とに変位可能な湯沸器であって、
前記シャワーヘッドは、
前記出湯管から出湯された湯水を受け入れる受入部と、
前記湯水を吐出する吐出部と、
前記受入部と前記吐出部との間に設けられる仕切部と
を備え、
前記吐出部は、
外筒と、
前記外筒の一端側を塞ぐ先端部に設けられたストレート用吐出口と、
前記先端部において、前記ストレート用吐出口の周囲を取り囲むようにして設けられた複数のシャワー用吐出口と
を備え、
前記仕切部は、
前記受入部と前記吐出部との間を仕切る仕切壁と、
前記仕切壁に設けられたストレート用吐出流路及びシャワー用吐出流路と、
切替スイッチの操作により、前記ストレート用吐出流路及び前記シャワー用吐出流路の夫々の入口を開閉する開閉弁と、
前記外筒の内側において、前記仕切壁側から前記先端部側に延び、前記ストレート用吐出口と内側が連通する内筒と、
前記仕切壁と前記内筒との間に設けられ、前記ストレート用吐出流路と前記内筒の内側との間を連通させる連通路を有する連通部と
を備え、
前記外筒、前記内筒、及び前記連通部の間には、前記内筒及び前記連通部の周囲を取り囲み、前記複数のシャワー用吐出口と連通する環状空間が形成され、
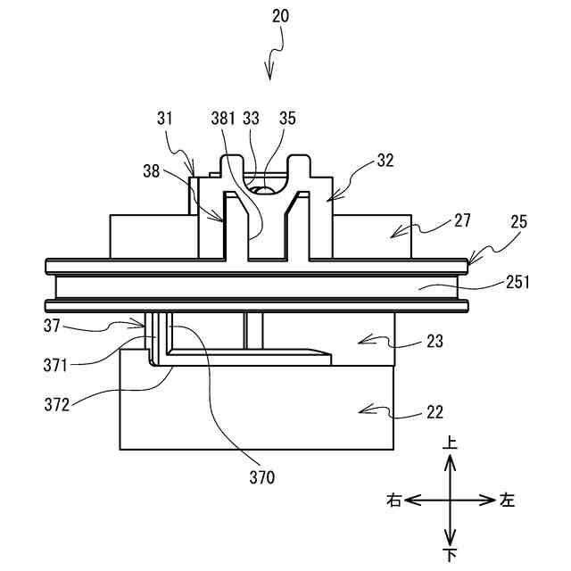
前記仕切壁の前記吐出部側の一面には、前記シャワー用吐出流路の出口であって、前記環状空間と連通する連通口が設けられ、
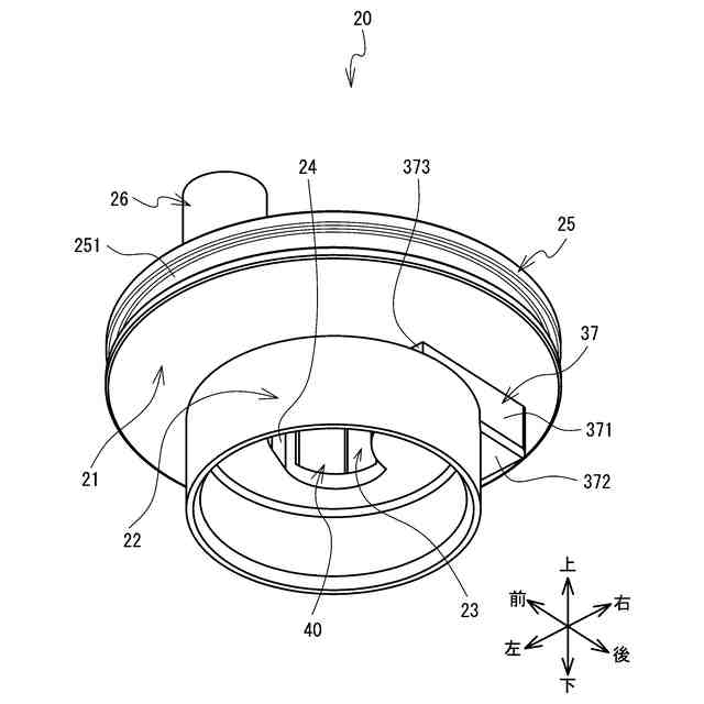
前記仕切壁の前記一面には、前記シャワーヘッドを前記垂下姿勢にした状態で、前記連通口の周囲を覆う覆い部が設けられ、
前記覆い部には、前記覆い部の内部空間と前記環状空間とを連通させる開口部が設けられ、
前記開口部は、前記シャワーヘッドを前記垂下姿勢にした状態で、後方に向けて開口すること
を特徴とする湯沸器。
続きを表示(約 81 文字)
【請求項2】
前記シャワーヘッドを前記垂下姿勢にした状態で、前記覆い部は後方に向けて延びていること
を特徴とする請求項1に記載の湯沸器。
発明の詳細な説明
【技術分野】
【0001】
本発明は、湯沸器に関する。
続きを表示(約 2,100 文字)
【背景技術】
【0002】
従来、湯沸器の出湯管の先端に装着され、湯の吐出状態をストレートとシャワーとに切り換える切換操作釦を前面に有する湯沸器の出湯具が知られている(例えば特許文献1参照)。
【0003】
例えば図13に示すように、従来のシャワーヘッド140の先端部にはシャワー筒部10が設けられる。シャワー筒部10の先端部の中心部にはストレート用吐出口15が設けられ、先端部の外周部には、ストレート用吐出口15を取り囲むようにして複数のシャワー用吐出口16が設けられる。
【0004】
シャワー筒部10の内部には流路形成体120が装着される。流路形成体120の内部にはストレート用吐出流路28とシャワー用吐出流路29が設けられる。流路形成体120には開閉弁(図示略)が設けられる。開閉弁は切替スイッチ7の操作によって、ストレート用吐出流路28及びシャワー用吐出流路29の何れか一方を閉じて流路を切り換える。ストレート用吐出流路28はストレート用吐出口15に連通する。シャワー筒部10と流路形成体120の間には、流路形成体120の周囲を取り囲む環状空間90が形成される。流路形成体120にはシャワー用吐出流路29の出口である連通口43が設けられる。連通口43は、環状空間90を介して複数のシャワー用吐出口16に連通する。
【0005】
ところで、シャワー用吐出口16から湯水が吐出された状態で湯沸器が停止されるとシャワーヘッド140の先端内部に湯水が溜まった状態となる。シャワーヘッド140の先端部11が下方に向けられた状態では、表面張力の作用によりシャワー用吐出口16からの滴下が最小限に抑えられる。
【先行技術文献】
【特許文献】
【0006】
実開平6-78758号公報
【発明の概要】
【発明が解決しようとする課題】
【0007】
その反面、シャワーヘッド140が前振りされると、複数のシャワー用吐出口16が傾くため、表面張力の作用が低下し、各シャワー用吐出口16において湯水の表面が壊れる。それ故、外気がシャワーヘッド140内に入り込み、シャワーヘッド140内の水位が低くなり易い状態となる。そして、シャワーヘッド140内の水位が連通口43に達するまで湯沸器が使用されない状態が続いた場合、その連通口43から水面上側の空気が出湯管3の内部に勢いよく入り込む。これにより非使用時であるにも関わらず、出湯管3及びシャワーヘッド140内の残水が勢いよく外部に吐出されて使用者に違和感を与えるという問題点があった。
【0008】
本発明の目的は、非使用時において、シャワーヘッドから大量の残水が吐出されるのを抑制できる湯沸器を提供することである。
【課題を解決するための手段】
【0009】
請求項1の湯沸器は、上水を加熱して出湯可能な本体と、可動性を有し、前記本体から出湯された湯水を下流側に流す出湯管と、前記出湯管の先端に固定されたシャワーヘッドとを備え、前記出湯管を可動させることにより、前記シャワーヘッドを下方に向けた垂下姿勢と前記垂下姿勢よりも上側に振って傾けた傾き姿勢とに変位可能な湯沸器であって、前記シャワーヘッドは、前記出湯管から出湯された湯水を受け入れる受入部と、前記湯水を吐出する吐出部と、前記受入部と前記吐出部との間に設けられる仕切部とを備え、前記吐出部は、外筒と、前記外筒の一端側を塞ぐ先端部に設けられたストレート用吐出口と、前記先端部において、前記ストレート用吐出口の周囲を取り囲むようにして設けられた複数のシャワー用吐出口とを備え、前記仕切部は、前記受入部と前記吐出部との間を仕切る仕切壁と、前記仕切壁に設けられたストレート用吐出流路及びシャワー用吐出流路と、切替スイッチの操作により、前記ストレート用吐出流路及び前記シャワー用吐出流路の夫々の入口を開閉する開閉弁と、前記外筒の内側において、前記仕切壁側から前記先端部側に延び、前記ストレート用吐出口と内側が連通する内筒と、前記仕切壁と前記内筒との間に設けられ、前記ストレート用吐出流路と前記内筒の内側との間を連通させる連通路を有する連通部とを備え、前記外筒、前記内筒、及び前記連通部の間には、前記内筒及び前記連通部の周囲を取り囲み、前記複数のシャワー用吐出口と連通する環状空間が形成され、前記仕切壁の前記吐出部側の一面には、前記シャワー用吐出流路の出口であって、前記環状空間と連通する連通口が設けられ、前記仕切壁の前記一面には、前記シャワーヘッドを前記垂下姿勢にした状態で、前記連通口の周囲を覆う覆い部が設けられ、前記覆い部には、前記覆い部の内部空間と前記環状空間とを連通させる開口部が設けられ、前記開口部は、前記シャワーヘッドを前記垂下姿勢にした状態で、後方に向けて開口することを特徴とする。
【0010】
請求項2の湯沸器によれば、前記シャワーヘッドを前記垂下姿勢にした状態で、前記覆い部は後方に向けて延びていてもよい。
【発明の効果】
(【0011】以降は省略されています)
特許ウォッチbot のツイートを見る
この特許をJ-PlatPat(特許庁公式サイト)で参照する
関連特許
株式会社パロマ
給湯器
2か月前
株式会社パロマ
給湯器
3か月前
株式会社パロマ
湯沸器
1か月前
株式会社パロマ
燃焼装置
3か月前
株式会社パロマ
給湯暖房機
3か月前
株式会社パロマ
給湯暖房機
3か月前
株式会社パロマ
ガスコンロ
4日前
株式会社パロマ
給湯暖房機
3か月前
株式会社パロマ
給湯暖房機
3か月前
株式会社パロマ
給湯暖房機
3か月前
株式会社パロマ
給湯暖房機
3か月前
株式会社パロマ
給湯暖房機
3か月前
株式会社パロマ
給湯暖房機
3か月前
株式会社パロマ
ガスコンロ
4日前
株式会社パロマ
ガスコンロ
4日前
株式会社パロマ
給湯暖房機
3か月前
株式会社パロマ
加熱調理装置
8日前
株式会社パロマ
加熱調理装置
5日前
株式会社パロマ
加熱調理装置
1か月前
株式会社パロマ
加熱調理装置
1か月前
株式会社パロマ
加熱調理装置
1か月前
株式会社パロマ
食器洗浄機用ブースター
1か月前
株式会社パロマ
食器洗浄機用ブースター
1か月前
株式会社パロマ
食器洗浄機用ブースター
1か月前
株式会社パロマ
食器洗浄機用ブースター
1か月前
株式会社パロマ
食器洗浄機用ブースター
1か月前
株式会社パロマ
食器洗浄機用ブースター
25日前
株式会社パロマ
食器洗浄機用ブースター
12日前
株式会社パロマ
加熱調理装置及び製造方法
28日前
株式会社パロマ
給湯器の製造方法及び給湯器
1か月前
株式会社パロマ
アフターバーナ及び加熱調理装置
5日前
株式会社パロマ
ヒートポンプ熱源機及び給湯システム
5日前
株式会社パロマ
ヒートポンプ熱源機及び給湯システム
5日前
株式会社パロマ
給湯暖房機の製造方法、及び給湯暖房機
3か月前
株式会社パロマ
ガスコンロの製造方法およびガスコンロ
4日前
株式会社パロマ
食器洗浄機用ブースター及び食器洗浄システム
1か月前
続きを見る
他の特許を見る