TOP
|
特許
|
意匠
|
商標
特許ウォッチ
Twitter
他の特許を見る
10個以上の画像は省略されています。
公開番号
2025164105
公報種別
公開特許公報(A)
公開日
2025-10-30
出願番号
2024067877
出願日
2024-04-19
発明の名称
加熱調理装置
出願人
株式会社パロマ
代理人
個人
,
個人
主分類
A47J
37/06 20060101AFI20251023BHJP(家具;家庭用品または家庭用設備;コーヒーひき;香辛料ひき;真空掃除機一般)
要約
【課題】触媒プレートへの固定部材の装着の容易化を図ることができる加熱調理装置を提供する。
【解決手段】第1フレーム5の上面に触媒プレート8を位置決めする。そして、第1フレーム5の右支持壁51及び左支持壁52の夫々に設けられたバーリング穴57,58のバーリング部を、第2フレーム6の対応する右突出壁61及び左突出壁62の夫々に設けられたスリット67,68に差し入れる。その状態で、第2フレーム6が第1フレーム5側に押圧されることで、第2フレーム6がスリット67,68及びバーリング部により第1フレーム5側にガイドされる。そして、一対の係止部612が一対の被係止穴512に嵌り込み、一対の係止部622が一対の被係止穴522に嵌り込む。
【選択図】図7
特許請求の範囲
【請求項1】
グリル庫内から流れる燃焼排気を前記グリル庫外に排出する排気ダクトを備え、前記排気ダクト内に、触媒プレートが固定部材で固定される加熱調理装置において、
前記触媒プレートの厚み方向を上下方向と仮定した場合に、
前記固定部材は、
前記触媒プレートの下側から装着される第1フレームと、
前記触媒プレートの上側から装着される第2フレームと
を備え、
前記第1フレームと前記第2フレームを相互に組み合わせた状態で、前記触媒プレートを内側に支持するものであって、
前記第1フレームは、
前記触媒プレートを下側から支持し、前記触媒プレートと相対する第1開口部を有する第1本体部と、
前記第1本体部の左右両端部から前記触媒プレートの上面よりも上方に突出し、前記触媒プレートの右面及び左面を左右方向の両側から夫々支持する右支持壁及び左支持壁と
を備え、
前記第2フレームは、
前記触媒プレートを上側から支持し、前記触媒プレートを介して前記第1開口部と相対する第2開口部を有する第2本体部と、
前記第2本体部の左右両端部から上方に突出し、前記触媒プレートの前記上面よりも上側で前記右支持壁及び前記左支持壁の夫々の内面と重合する右突出壁及び左突出壁と
を備え、
前記右突出壁及び前記左突出壁は、
前記上下方向に延びるスリットと、
前記スリットの前後両側で前記第2開口部とは反対側に突出する一対の係止部と
を備え、
前記右支持壁及び前記左支持壁は、
前記排気ダクトに設けられたダクト側固定穴に重合してビスで締結されるビス穴と、前記ビス穴の内周縁から前記左右方向の中央に向けて突出するバーリング部とを有するバーリング穴と、
前記バーリング穴の前後両側で且つ前記係止部に対応する位置に設けられた一対の被係止穴と
を備え、
前記右支持壁及び前記左支持壁の夫々に設けられた前記バーリング穴の前記バーリング部を、対応する前記右突出壁及び前記左突出壁の夫々に設けられた前記スリットに差し入れた状態で、前記第2フレームが前記第1フレーム側に押圧されることで、前記第2フレームが前記スリット及び前記バーリング部により前記第1フレーム側にガイドされ、前記係止部が前記被係止穴に嵌り込むこと
を特徴とする加熱調理装置。
続きを表示(約 140 文字)
【請求項2】
前記第2本体部は、前記第2開口部を中央に備える枠部を備え、
前記スリットは、前記枠部まで延び、
前記バーリング部の突出する幅は、前記右突出壁及び前記左突出壁の夫々の厚み幅よりも大きいこと
を特徴とする請求項1に記載の加熱調理装置。
発明の詳細な説明
【技術分野】
【0001】
本発明は、加熱調理装置に関する。
続きを表示(約 2,200 文字)
【背景技術】
【0002】
従来、排気ダクト内に、被調理物から発生した油煙を焼いて消失させるアフターバーナと、上記アフターバーナの燃焼により加熱されて活性化する触媒プレートとを備えたグリルが知られている(例えば特許文献1参照)。
【先行技術文献】
【特許文献】
【0003】
特開2006-55185号公報
【発明の概要】
【発明が解決しようとする課題】
【0004】
通常、触媒プレートは固定部材を装着した状態で排気ダクト内に固定される。グリルの生産効率を上げる為には、触媒プレートに対する固定部材の装着の容易化が求められていた。
【0005】
本発明の目的は、触媒プレートへの固定部材の装着の容易化を図ることができる加熱調理装置を提供することである。
【課題を解決するための手段】
【0006】
請求項1の加熱調理装置は、グリル庫内から流れる燃焼排気を前記グリル庫外に排出する排気ダクトを備え、前記排気ダクト内に触媒プレートが固定部材で固定される加熱調理装置において、前記触媒プレートの厚み方向を上下方向と仮定した場合に、前記固定部材は、前記触媒プレートの下側から装着される第1フレームと、前記触媒プレートの上側から装着される第2フレームとを備え、前記第1フレームと前記第2フレームを相互に組み合わせた状態で、前記触媒プレートを内側に支持するものであって、前記第1フレームは、前記触媒プレートを下側から支持し、前記触媒プレートと相対する第1開口部を有する第1本体部と、前記第1本体部の左右両端部から前記触媒プレートの上面よりも上方に突出し、前記触媒プレートの右面及び左面を左右方向の両側から夫々支持する右支持壁及び左支持壁とを備え、前記第2フレームは、前記触媒プレートを上側から支持し、前記触媒プレートを介して前記第1開口部と相対する第2開口部を有する第2本体部と、前記第2本体部の左右両端部から上方に突出し、前記触媒プレートの前記上面よりも上側で前記右支持壁及び前記左支持壁の夫々の内面と重合する右突出壁及び左突出壁とを備え、前記右突出壁及び前記左突出壁は、前記上下方向に延びるスリットと、前記スリットの前後両側で前記第2開口部とは反対側に突出する一対の係止部とを備え、前記右支持壁及び前記左支持壁は、前記排気ダクトに設けられたダクト側固定穴に重合してビスで締結されるビス穴と、前記ビス穴の内周縁から前記左右方向の中央に向けて突出するバーリング部とを有するバーリング穴と、前記バーリング穴の前後両側で且つ前記係止部に対応する位置に設けられた一対の被係止穴とを備え、前記右支持壁及び前記左支持壁の夫々に設けられた前記バーリング穴の前記バーリング部を、対応する前記右突出壁及び前記左突出壁の夫々に設けられた前記スリットに差し入れた状態で、前記第2フレームが前記第1フレーム側に押圧されることで、前記第2フレームが前記スリット及び前記バーリング部により前記第1フレーム側にガイドされ、前記係止部が前記被係止穴に嵌り込むことを特徴とする。
【0007】
請求項2の加熱調理装置の前記第2本体部は、前記第2開口部を中央に備える枠部を備え、前記スリットは、前記枠部まで延び、前記バーリング部の突出する幅は、前記右突出壁及び前記左突出壁の夫々の厚み幅よりも大きくてもよい。
【発明の効果】
【0008】
請求項1の加熱調理装置によれば、スリットが枠部まで延びているので、第2フレームを落とし込む際にバーリング部が第2フレームに引っ掛かるのを防止できる。また右突出壁及び左突出壁の厚み幅よりも突出するバーリング部を受け入れることができるので、バーリング部のスリットからの脱落を防止できる。よって、加熱調理器は排気ダクト内においてより安定的に触媒プレートを支持できる。
【0009】
請求項2の加熱調理装置によれば、スリットが第2本体部の枠部まで延びているので、第2フレームを落とし込む際にバーリング部が第2フレームに引っ掛かるのを防止できる。また右突出壁及び左突出壁の厚み幅よりも突出するバーリング部を受け入れることができるので、バーリング部の案内溝からの脱落を防止できる。よって、加熱調理器は排気ダクト内においてより安定的に触媒プレートを支持できる。
【図面の簡単な説明】
【0010】
グリル装置1の斜視図である。
グリル装置1の断面斜視図である。
グリル装置1の分解斜視図である。
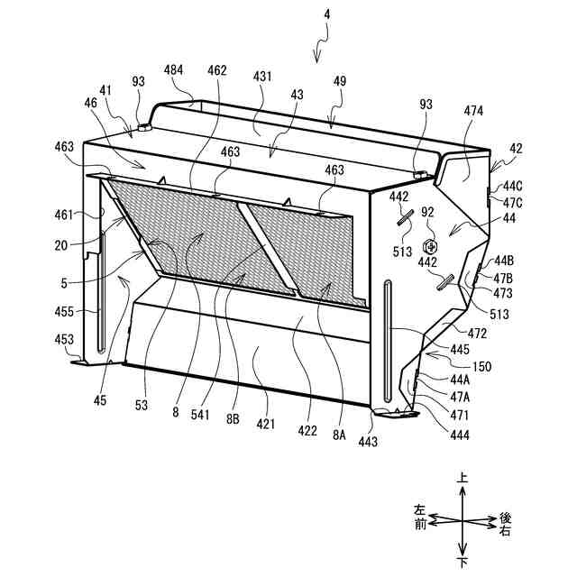
ダクト本体4の斜視図である。
ダクト本体4の分解斜視図である。
図5とは別角度から見たダクト本体4の分解斜視図である。
固定部材20が装着された触媒プレート8の斜視図である。
固定部材20及び触媒プレート8の分解斜視図である。
第1フレーム5の斜視図である。
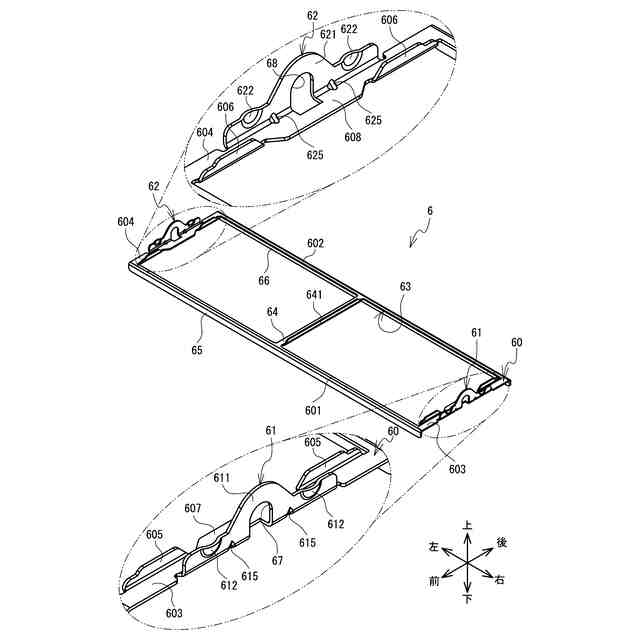
第2フレーム6の斜視図である。
第1フレーム5の上に触媒プレート8が位置決めされた状態の斜視図である。
排気ダクト10内における燃焼排気の流れを示す図である。
【発明を実施するための形態】
(【0011】以降は省略されています)
この特許をJ-PlatPat(特許庁公式サイト)で参照する
関連特許
株式会社パロマ
給湯器
2か月前
株式会社パロマ
湯沸器
1か月前
株式会社パロマ
ガスコンロ
4日前
株式会社パロマ
ガスコンロ
4日前
株式会社パロマ
ガスコンロ
4日前
株式会社パロマ
加熱調理装置
1か月前
株式会社パロマ
加熱調理装置
1か月前
株式会社パロマ
加熱調理装置
1か月前
株式会社パロマ
加熱調理装置
5日前
株式会社パロマ
加熱調理装置
8日前
株式会社パロマ
食器洗浄機用ブースター
12日前
株式会社パロマ
食器洗浄機用ブースター
25日前
株式会社パロマ
食器洗浄機用ブースター
1か月前
株式会社パロマ
食器洗浄機用ブースター
1か月前
株式会社パロマ
食器洗浄機用ブースター
1か月前
株式会社パロマ
食器洗浄機用ブースター
1か月前
株式会社パロマ
食器洗浄機用ブースター
1か月前
株式会社パロマ
加熱調理装置及び製造方法
28日前
株式会社パロマ
給湯器の製造方法及び給湯器
1か月前
株式会社パロマ
アフターバーナ及び加熱調理装置
5日前
株式会社パロマ
ヒートポンプ熱源機及び給湯システム
5日前
株式会社パロマ
ヒートポンプ熱源機及び給湯システム
5日前
株式会社パロマ
ガスコンロの製造方法およびガスコンロ
4日前
株式会社パロマ
食器洗浄機用ブースター及び食器洗浄システム
1か月前
個人
箸
21日前
個人
家具
3か月前
個人
椅子
2か月前
個人
掃除機
8か月前
個人
自助箸
6か月前
個人
耳拭き棒
10か月前
個人
掃除道具
8か月前
個人
枕
8か月前
個人
ソファー
1か月前
個人
枕
4か月前
個人
体洗い具
9か月前
個人
屋外用箒
6か月前
続きを見る
他の特許を見る