TOP
|
特許
|
意匠
|
商標
特許ウォッチ
Twitter
他の特許を見る
10個以上の画像は省略されています。
公開番号
2025147289
公報種別
公開特許公報(A)
公開日
2025-10-07
出願番号
2024047496
出願日
2024-03-25
発明の名称
加熱調理装置及び製造方法
出願人
株式会社パロマ
代理人
個人
,
個人
主分類
A47J
37/06 20060101AFI20250930BHJP(家具;家庭用品または家庭用設備;コーヒーひき;香辛料ひき;真空掃除機一般)
要約
【課題】排気ダクトにアフターバーナと触媒プレートを容易に取り付けることができる加熱調理装置及び製造方法を提供する。
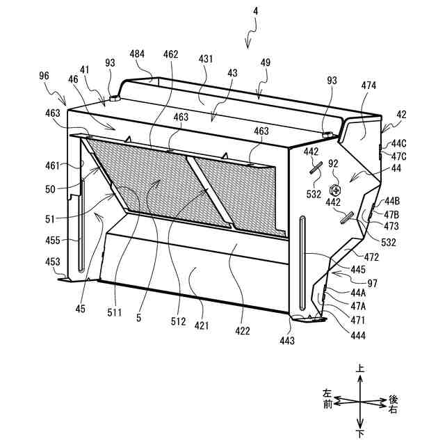
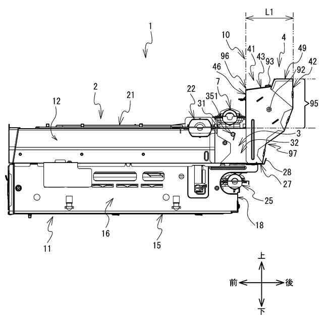
【解決手段】バーナ支持台3はグリル庫2の後部に固定される。バーナ支持台3には、アフターバーナ7が下向きに取り付けられる。ダクト底板27はグリル庫2の後部から後方に延び、バーナ支持台3に対して下側から対向する。ダクト本体4はバーナ支持台3の後部及びダクト底板27に連結される。触媒プレートはダクト本体4の内部に取り付けられる。箱型のダクト本体4の下部は開放され、上部には排出口49が形成される。ダクト本体4の前壁46には開口部461が形成される。バーナ支持台3の後部には塞ぎ板34が設けられる。ダクト本体4は、バーナ支持台3とダクト底板27に連結した状態で、ダクト底板27でダクト本体4の下部が閉塞され、塞ぎ板34で開口部461が閉塞される。
【選択図】図5
特許請求の範囲
【請求項1】
グリルバーナを備えるグリル庫と、
前記グリル庫の後部と連通し、前記グリル庫内から流れる燃焼排気を前記グリル庫外に排出する排気ダクトと、
前記排気ダクトの前記燃焼排気が流れる上流側に取り付けられたアフターバーナと、
前記排気ダクトの前記アフターバーナよりも下流側に取り付けられ、前記アフターバーナの燃焼熱で加熱されて活性化する触媒プレートと
を備えた加熱調理装置において、
前記排気ダクトは、
前記グリル庫の前記後部に固定され、前記アフターバーナが燃焼面を下向きにした姿勢で取り付けられるバーナ支持台と、
前記グリル庫の前記後部から後方に延び、前記バーナ支持台に対して下側から対向する底板と、
前記バーナ支持台の後部及び前記底板に連結され、その内部に前記触媒プレートが取り付けられる箱型のダクト本体と
を備え、
前記ダクト本体は、上壁、前壁、左右一対の側壁、後壁を備えると共に下部が開放され、
前記ダクト本体の上部には排気口が形成され、前記前壁には開口部が形成され、
前記バーナ支持台の前記後部には、上下方向に延びる塞ぎ板が設けられ、
前記ダクト本体は、前記バーナ支持台の前記後部及び前記底板に連結した状態で、前記底板により前記ダクト本体の前記下部が閉塞され、前記塞ぎ板により前記開口部が閉塞されること
を特徴とする加熱調理装置。
続きを表示(約 1,300 文字)
【請求項2】
前記ダクト本体は、
前記触媒プレートが、上端部が前方に位置し且つ下端部が後方に位置することにより前斜め前方に傾斜した姿勢で内部に取り付けられる第1ダクト本体と、
前記第1ダクト本体よりも前後幅が狭く形成される第2ダクト本体と
のうち何れかであって、
前記バーナ支持台の前記後部に対して、前記第1ダクト本体及び前記第2ダクト本体が付替え可能に連結されること
を特徴とする請求項1に記載の加熱調理装置。
【請求項3】
前記第2ダクト本体において、前記触媒プレートは、前記第1ダクト本体における前記触媒プレートの傾斜角度よりも急な角度で傾斜した姿勢で内部に取り付けられること
を特徴とする請求項2に記載の加熱調理装置。
【請求項4】
グリルバーナを備えるグリル庫と、前記グリル庫の後部と連通し、前記グリル庫内から流れる燃焼排気を前記グリル庫外に排出する排気ダクトと、前記排気ダクトの前記燃焼排気が流れる上流側に取り付けられたアフターバーナと、前記排気ダクトの前記アフターバーナよりも下流側に取り付けられ、前記アフターバーナの燃焼熱で加熱されて活性化する触媒プレートとを備え、前記排気ダクトは、前記グリル庫の前記後部に固定され、前記アフターバーナが燃焼面を下向きにした姿勢で取り付けられるバーナ支持台と、前記グリル庫の前記後部から後方に延び、前記バーナ支持台に対して下側から対向する底板と、前記バーナ支持台の後部及び前記底板に連結され、その内部に前記触媒プレートが取り付けられる箱型のダクト本体とを備え、前記ダクト本体は、上壁、前壁、左右一対の側壁、後壁を備えると共に下部が開放され、前記ダクト本体の上部には排気口が形成され、前記前壁には開口部が形成され、前記バーナ支持台の前記後部には、上下方向に延びる塞ぎ板が設けられ、前記ダクト本体は、前記バーナ支持台の前記後部及び前記底板に連結した状態で、前記底板により前記ダクト本体の前記下部が閉塞され、前記塞ぎ板により前記開口部が閉塞されるものであって、キッチンカウンタに設置可能な加熱調理装置の製造方法において、
前記ダクト本体は、
前記触媒プレートが、上端部が前方に位置し且つ下端部が後方に位置することにより前斜め前方に傾斜した姿勢で内部に取り付けられる第1ダクト本体と、
前記第1ダクト本体よりも前後幅が狭く形成され、前記キッチンカウンタにガスオーブンが設置された場合に前記ガスオーブンのオーブン排気筒を後ろ側に並べて配置可能な第2ダクト本体と
のうち何れかであって、
前記グリル庫の前記後部に前記バーナ支持台を取り付ける第1工程と、
前記バーナ支持台の前記後部及び前記底板に前記ダクト本体を連結する第2工程と
を備え、
前記第2工程において、
前記加熱調理装置を前記ガスオーブン非対応品とする場合は、前記バーナ支持台の前記後部及び前記底板に対して前記第1ダクト本体を連結し、
前記加熱調理装置を前記ガスオーブン対応品とする場合は、前記バーナ支持台の前記後部及び前記底板に対して前記第2ダクト本体を連結すること
を特徴とする製造方法。
発明の詳細な説明
【技術分野】
【0001】
本発明は、加熱調理装置及び製造方法に関する。
続きを表示(約 2,400 文字)
【背景技術】
【0002】
従来、排気ダクト内に、被調理物から発生した油煙を焼いて消失させるアフターバーナと、上記アフターバーナの燃焼により加熱されて活性化する触媒フィルタとを備えたグリルが知られている(例えば特許文献1参照)。
【先行技術文献】
【特許文献】
【0003】
特開2006-55185号公報
【発明の概要】
【発明が解決しようとする課題】
【0004】
特許文献1に記載の構成では、排気ダクト内にアフターバーナと触媒フィルタを取り付ける必要があるため、グリルの組み立てが難しいという問題点があった。
【0005】
本発明の目的は、排気ダクトにアフターバーナと触媒プレートを容易に取り付けることができる加熱調理装置及び製造方法を提供することである。
【課題を解決するための手段】
【0006】
請求項1の加熱調理装置は、グリルバーナを備えるグリル庫と、前記グリル庫の後部と連通し、前記グリル庫内から流れる燃焼排気を前記グリル庫外に排出する排気ダクトと、前記排気ダクトの前記燃焼排気が流れる上流側に取り付けられたアフターバーナと、前記排気ダクトの前記アフターバーナよりも下流側に取り付けられ、前記アフターバーナの燃焼熱で加熱されて活性化する触媒プレートとを備えた加熱調理装置において、前記排気ダクトは、前記グリル庫の前記後部に固定され、前記アフターバーナが燃焼面を下向きにした姿勢で取り付けられるバーナ支持台と、前記グリル庫の前記後部から後方に延び、前記バーナ支持台に対して下側から対向する底板と、前記バーナ支持台の後部及び前記底板に連結され、その内部に前記触媒プレートが取り付けられる箱型のダクト本体とを備え、前記ダクト本体は、上壁、前壁、左右一対の側壁、後壁を備えると共に下部が開放され、前記ダクト本体の上部には排出口が形成され、前記前壁には開口部が形成され、前記バーナ支持台の前記後部には、上下方向に延びる塞ぎ板が設けられ、前記ダクト本体は、前記バーナ支持台の前記後部及び前記底板に連結した状態で、前記底板により前記ダクト本体の前記下部が閉塞され、前記塞ぎ板により前記開口部が閉塞されることを特徴とする。
【0007】
請求項2の加熱調理装置の前記ダクト本体は、前記触媒プレートが、上端部が前方に位置し且つ下端部が後方に位置することにより前斜め前方に傾斜した姿勢で内部に取り付けられる第1ダクト本体と、前記第1ダクト本体よりも前後幅が狭く形成される第2ダクト本体とのうち何れかであって、前記バーナ支持台の前記後部に対して、前記第1ダクト本体及び前記第2ダクト本体が付替え可能に連結されてもよい。
【0008】
請求項3の加熱調理装置の前記第2ダクト本体において、前記触媒プレートは、前記第1ダクト本体における前記触媒プレートの傾斜角度よりも急な角度で傾斜した姿勢で内部に取り付けられてもよい。
【0009】
請求項4の製造方法は、グリルバーナを備えるグリル庫と、前記グリル庫の後部と連通し、前記グリル庫内から流れる燃焼排気を前記グリル庫外に排出する排気ダクトと、前記排気ダクトの前記燃焼排気が流れる上流側に取り付けられたアフターバーナと、前記排気ダクトの前記アフターバーナよりも下流側に取り付けられ、前記アフターバーナの燃焼熱で加熱されて活性化する触媒プレートとを備え、前記排気ダクトは、前記グリル庫の前記後部に固定され、前記アフターバーナが燃焼面を下向きにした姿勢で取り付けられるバーナ支持台と、前記グリル庫の前記後部から後方に延び、前記バーナ支持台に対して下側から対向する底板と、前記バーナ支持台の後部及び前記底板に連結され、その内部に前記触媒プレートが取り付けられる箱型のダクト本体とを備え、前記ダクト本体は、上壁、前壁、左右一対の側壁、後壁を備えると共に下部が開放され、前記ダクト本体の上部には排気口が形成され、前記前壁には開口部が形成され、前記バーナ支持台の前記後部には、上下方向に延びる塞ぎ板が設けられ、前記ダクト本体は、前記バーナ支持台の前記後部及び前記底板に連結した状態で、前記底板により前記ダクト本体の前記下部が閉塞され、前記塞ぎ板により前記開口部が閉塞されるものであって、キッチンカウンタに設置可能な加熱調理装置の製造方法において、前記ダクト本体は、前記触媒プレートが、上端部が前方に位置し且つ下端部が後方に位置することにより前斜め前方に傾斜した姿勢で内部に取り付けられる第1ダクト本体と、前記第1ダクト本体よりも前後幅が狭く形成され、前記キッチンカウンタにガスオーブンが設置された場合に前記ガスオーブンのオーブン排気筒を後ろ側に並べて配置可能な第2ダクト本体とのうち何れかであって、前記グリル庫の前記後部に前記バーナ支持台を取り付ける第1工程と、前記バーナ支持台の前記後部及び前記底板に前記ダクト本体を連結する第2工程とを備え、前記第2工程において、前記加熱調理装置を前記ガスオーブン非対応品とする場合は、前記バーナ支持台の前記後部及び前記底板に対して前記第1ダクト本体を連結し、前記加熱調理装置を前記ガスオーブン対応品とする場合は、前記バーナ支持台の前記後部及び前記底板に対して前記第2ダクト本体を連結することを特徴とする。
【発明の効果】
【0010】
請求項1の加熱調理装置によれば、ダクト本体の前壁には開口部が形成され、ダクト本体の下部が開放されているので、ダクト本体に対して触媒プレートを容易に取り付けることができる。よって加熱調理装置は生産性を向上できる。
(【0011】以降は省略されています)
この特許をJ-PlatPat(特許庁公式サイト)で参照する
関連特許
株式会社パロマ
給湯器
4か月前
株式会社パロマ
給湯器
5か月前
株式会社パロマ
給湯器
4か月前
株式会社パロマ
給湯器
3か月前
株式会社パロマ
給湯器
2か月前
株式会社パロマ
給湯器
4か月前
株式会社パロマ
給湯器
5か月前
株式会社パロマ
湯沸器
1か月前
株式会社パロマ
給湯器
5か月前
株式会社パロマ
給湯器
6か月前
株式会社パロマ
燃焼装置
3か月前
株式会社パロマ
給湯暖房機
5か月前
株式会社パロマ
給湯暖房機
3か月前
株式会社パロマ
ガスコンロ
3日前
株式会社パロマ
給湯暖房機
3か月前
株式会社パロマ
ガスコンロ
3日前
株式会社パロマ
給湯暖房機
3か月前
株式会社パロマ
ガスコンロ
3日前
株式会社パロマ
給湯暖房機
3か月前
株式会社パロマ
給湯暖房機
3か月前
株式会社パロマ
給湯暖房機
3か月前
株式会社パロマ
給湯暖房機
3か月前
株式会社パロマ
給湯暖房機
3か月前
株式会社パロマ
給湯暖房機
6か月前
株式会社パロマ
給湯暖房機
4か月前
株式会社パロマ
給湯暖房機
4か月前
株式会社パロマ
給湯暖房機
5か月前
株式会社パロマ
給湯暖房機
5か月前
株式会社パロマ
給湯暖房機
5か月前
株式会社パロマ
給湯暖房機
3か月前
株式会社パロマ
熱源ユニット
5か月前
株式会社パロマ
加熱調理装置
1か月前
株式会社パロマ
加熱調理装置
1か月前
株式会社パロマ
加熱調理装置
1か月前
株式会社パロマ
加熱調理装置
4日前
株式会社パロマ
加熱調理装置
7日前
続きを見る
他の特許を見る