TOP
|
特許
|
意匠
|
商標
特許ウォッチ
Twitter
他の特許を見る
公開番号
2025162015
公報種別
公開特許公報(A)
公開日
2025-10-27
出願番号
2024065091
出願日
2024-04-15
発明の名称
加熱調理装置
出願人
株式会社パロマ
代理人
個人
,
個人
主分類
F24C
3/08 20060101AFI20251020BHJP(加熱;レンジ;換気)
要約
【課題】アフターバーナのガスの浪費を抑制できる加熱調理装置を提供する。
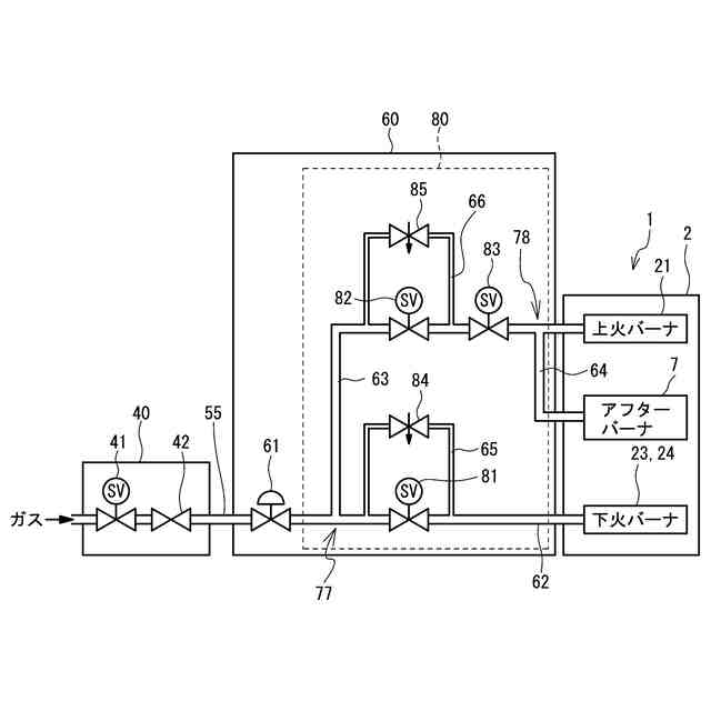
【解決手段】ガスコンロはグリル装置と分配装置80を備える。グリル装置はグリル庫、排気ダクト、アフターバーナ7を備える。グリル庫は上火バーナ21及び下火バーナ23,24を備える。排気ダクトはグリル庫の後部と連通し、グリル庫内から流れる燃焼排気をグリル庫外に排出する。アフターバーナ7は排気ダクト内に取り付けられる。分配装置80は上火バーナ21、下火バーナ23,24、及びアフターバーナ7にガスを分配すると共に、上火バーナ21の火力にアフターバーナ7の火力を連動させる。
【選択図】図5
特許請求の範囲
【請求項1】
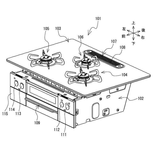
グリルバーナを備えるグリル庫と、
前記グリル庫の後部と連通し、前記グリル庫内から流れる燃焼排気を前記グリル庫外に排出する排気ダクトと、
前記排気ダクト内に取り付けられたアフターバーナと、
前記グリルバーナの火力に前記アフターバーナの火力を連動させる火力連動部と
を備えたこと
を特徴とする加熱調理装置。
続きを表示(約 610 文字)
【請求項2】
前記グリルバーナは上火バーナと下火バーナを備え、
前記火力連動部は、前記上火バーナと前記下火バーナの夫々にガスを分配して供給する分配装置を備え、
前記分配装置は、
前記上火バーナにガスを供給する為の上火バーナ側供給路と、
前記下火バーナにガスを供給する為の下火バーナ側供給路と、
前記上火バーナ側供給路から分岐して前記アフターバーナにガスを供給する為の分岐路と、
前記上火バーナ側供給路の前記分岐路よりも上流側に設けられ、前記上火バーナ側供給路を流れるガスの流量を調節する調節部と
を備えたこと
を特徴とする請求項1に記載の加熱調理装置。
【請求項3】
前記排気ダクト内の前記アフターバーナよりも下流側には、前記アフターバーナの燃焼熱で加熱されて活性化する触媒が取り付けられ、
前記調節部の動作を制御する制御部を備え、
前記制御部は、
前記上火バーナの火力を制限する第1条件を満たした場合、前記調節部によって前記上火バーナ側供給路を流れるガスの流量を制限し、
前記触媒が前記アフターバーナの前記燃焼熱で活性化する第2条件を満たさない場合、前記第1条件を満たしている場合であっても前記調節部によって前記ガスの流量を制限しないこと
を特徴とする請求項2に記載の加熱調理装置。
発明の詳細な説明
【技術分野】
【0001】
本発明は、加熱調理装置に関する。
続きを表示(約 1,400 文字)
【背景技術】
【0002】
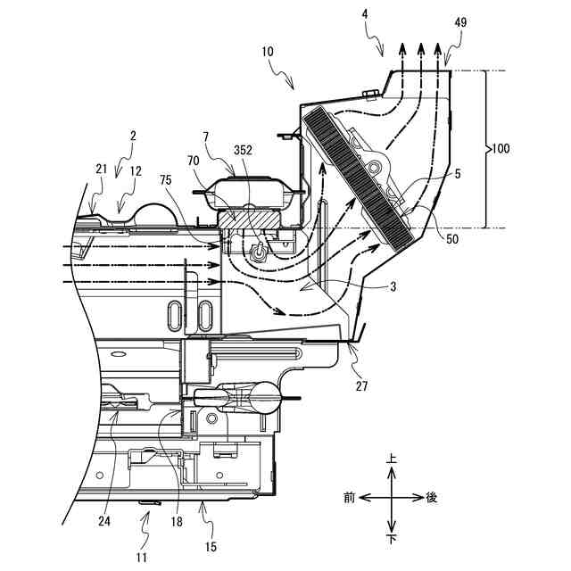
特許文献1に記載のグリルは、食材を収容するグリル庫と、グリル庫に設置されて食材を加熱調理する上下のグリルバーナと、グリル庫の後側から上方の外部へ通じる排気通路と、排気通路内の入口付近に設置されて食材から発生した油煙を焼き切るためのアフターバーナとを備える。
【先行技術文献】
【特許文献】
【0003】
特開2012-13326号公報
【発明の概要】
【発明が解決しようとする課題】
【0004】
特許文献1に記載のグリルでは、グリルバーナの火力が小さくなり、燃焼排気の発生量が小さくなった場合であっても、アフターバーナの火力は変化しないので、ガスの浪費につながる可能性があった。
【0005】
本発明の目的は、アフターバーナのガスの浪費を抑制できる加熱調理装置を提供することである。
【課題を解決するための手段】
【0006】
請求項1の加熱調理装置は、グリルバーナを備えるグリル庫と、前記グリル庫の後部と連通し、前記グリル庫内から流れる燃焼排気を前記グリル庫外に排出する排気ダクトと、前記排気ダクト内に取り付けられたアフターバーナと、前記グリルバーナの火力に前記アフターバーナの火力を連動させる火力連動部とを備えたことを特徴とする。
【0007】
請求項2の加熱調理装置の前記グリルバーナは上火バーナと下火バーナを備え、前記火力連動部は、前記上火バーナと前記下火バーナの夫々にガスを分配して供給する分配装置を備え、前記分配装置は、前記上火バーナにガスを供給する為の上火バーナ側供給路と、前記下火バーナにガスを供給する為の下火バーナ側供給路と、前記上火バーナ側供給路から分岐して前記アフターバーナにガスを供給する為の分岐路と、前記上火バーナ側供給路の前記分岐路よりも上流側に設けられ、前記上火バーナ側供給路を流れるガスの流量を調節する調節部とを備えてもよい。
【0008】
請求項3の加熱調理装置の前記排気ダクト内の前記アフターバーナよりも下流側には、前記アフターバーナの燃焼熱で加熱されて活性化する触媒が取り付けられ、前記火力制御部は、前記調節部の動作を制御する制御部を備え、前記制御部は、前記上火バーナの火力を制限する第1条件を満たした場合、前記調節部において前記上火バーナ側供給路を流れるガスの流量を制限し、前記触媒が前記アフターバーナの燃焼熱で活性化する第2条件を満たさない場合、前記第1条件を満たしている場合であっても前記調節部において前記ガスの流量を制限しないようにしてもよい。
【発明の効果】
【0009】
請求項1の加熱調理装置によれば、例えばグリルの火力が絞られると、グリルバーナからの燃焼排気及びそれに含まれる油煙及び臭気成分が減少する。それに連動してアフターバーナへのガスの供給量が制限されるので、発生する燃焼排気等の量に応じてアフターバーナを適切に燃焼させることができる。故に加熱調理装置はガスの浪費を抑制できる。
【0010】
請求項2の加熱調理装置によれば、簡単な構成でアフターバーナの火力を上火バーナの火力に連動させることができるので、製造コストの上昇を抑制できる。
(【0011】以降は省略されています)
この特許をJ-PlatPat(特許庁公式サイト)で参照する
関連特許
株式会社パロマ
湯沸器
1か月前
株式会社パロマ
給湯器
2か月前
株式会社パロマ
加熱調理装置
2日前
株式会社パロマ
加熱調理装置
1か月前
株式会社パロマ
加熱調理装置
1か月前
株式会社パロマ
加熱調理装置
1か月前
株式会社パロマ
食器洗浄機用ブースター
6日前
株式会社パロマ
食器洗浄機用ブースター
19日前
株式会社パロマ
食器洗浄機用ブースター
1か月前
株式会社パロマ
食器洗浄機用ブースター
1か月前
株式会社パロマ
食器洗浄機用ブースター
1か月前
株式会社パロマ
食器洗浄機用ブースター
1か月前
株式会社パロマ
食器洗浄機用ブースター
1か月前
株式会社パロマ
加熱調理装置及び製造方法
22日前
株式会社パロマ
給湯器の製造方法及び給湯器
26日前
株式会社パロマ
食器洗浄機用ブースター及び食器洗浄システム
1か月前
個人
空気調和機
4か月前
個人
エアコン室内機
4か月前
株式会社トヨトミ
五徳
5日前
株式会社コロナ
空調装置
20日前
株式会社コロナ
空調装置
1か月前
株式会社コロナ
空調装置
1か月前
株式会社コロナ
給湯装置
3か月前
株式会社コロナ
加湿装置
1か月前
株式会社コロナ
空調装置
5日前
株式会社コロナ
空調装置
4か月前
株式会社コロナ
空調装置
2か月前
株式会社コロナ
加湿装置
5か月前
株式会社コロナ
空調装置
5日前
個人
太陽光パネル傾斜装置
15日前
株式会社コロナ
空気調和機
3か月前
株式会社コロナ
空気調和機
2か月前
個人
住宅換気空調システム
2か月前
株式会社コロナ
風呂給湯機
1か月前
株式会社コロナ
暖房システム
1か月前
株式会社コロナ
貯湯式給湯機
1か月前
続きを見る
他の特許を見る