TOP
|
特許
|
意匠
|
商標
特許ウォッチ
Twitter
他の特許を見る
10個以上の画像は省略されています。
公開番号
2025139259
公報種別
公開特許公報(A)
公開日
2025-09-26
出願番号
2024038094
出願日
2024-03-12
発明の名称
加熱調理装置
出願人
株式会社パロマ
代理人
個人
,
個人
主分類
A47J
37/06 20060101AFI20250918BHJP(家具;家庭用品または家庭用設備;コーヒーひき;香辛料ひき;真空掃除機一般)
要約
【課題】排気ダクト内に触媒プレートを設けてもグリルバーナの燃焼性に影響を及ぼすのを軽減できる加熱調理装置を提供する。
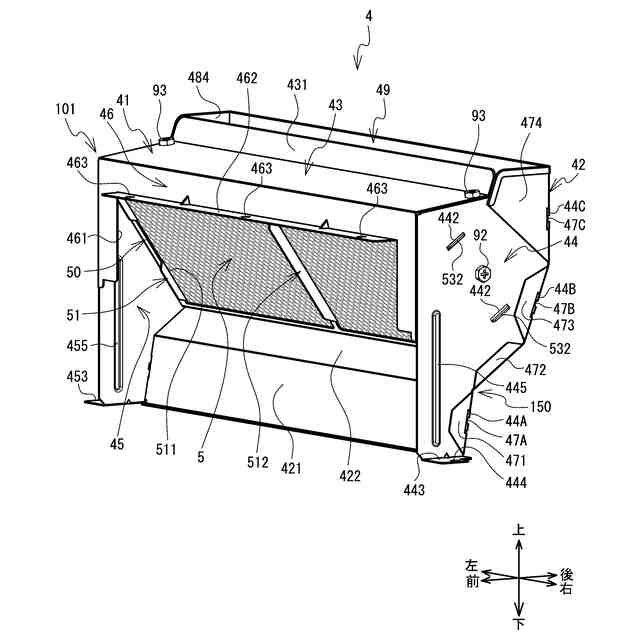
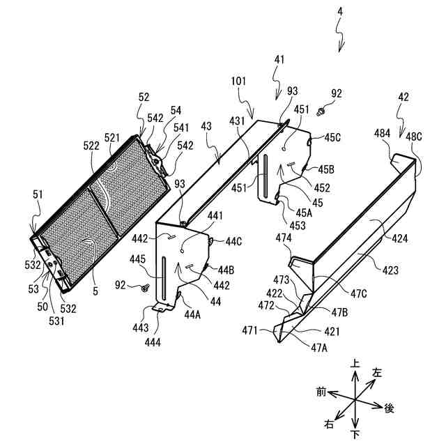
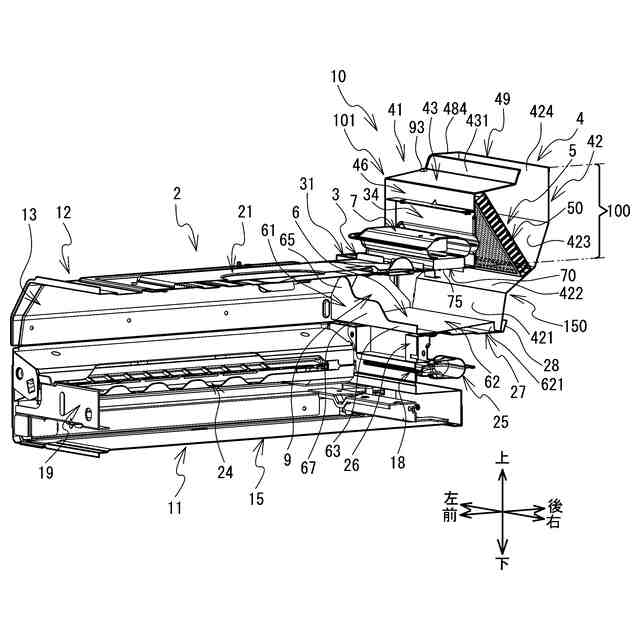
【解決手段】アフターバーナ7は排気ダクト10の上流側に取り付けられる。触媒プレート5はアフターバーナ7よりも下流側に取り付けられる。排気ダクト10はバーナ支持台3とダクト本体4を備える。バーナ支持台3はグリル庫2の後部から後方に延び、その内部の上面には、アフターバーナ7が燃焼面75を下方に向けた姿勢で取り付けられる。ダクト本体4はバーナ支持台3の後部から上方に延び、排出口49を上部に有する。ダクト本体4の前側には、排出口49よりも前方に張り出す張出部101が設けられる。触媒プレート5は、自身の前面をアフターバーナ7側に向け、自身の上端部が張出部101内に位置する傾斜姿勢でダクト本体4内に取り付けられる。
【選択図】図3
特許請求の範囲
【請求項1】
グリルバーナを備えるグリル庫と、
前記グリル庫の後部と連通し、前記グリル庫内から流れる燃焼排気を前記グリル庫外に排出する排気ダクトと、
前記排気ダクトの前記燃焼排気が流れる上流側に取り付けられたアフターバーナと、
前記排気ダクトの前記アフターバーナよりも下流側に取り付けられ、前記アフターバーナの燃焼熱で加熱されて活性化する板状の触媒プレートと
を備えた加熱調理装置において、
前記排気ダクトは、
前記グリル庫の前記後部から後方に延び、その内部の上面に前記アフターバーナが燃焼面を下方に向けた姿勢で取り付けられるバーナ支持台と、
前記バーナ支持台の後部から上方に延び、前記燃焼排気を排出する排出口を上部に有するダクト本体と
を備え、
前記ダクト本体の前側には前記排出口よりも前方に張り出す張出部が設けられ、
前記触媒プレートは、自身の厚み方向一方側の面を前記アフターバーナ側に向け、自身の上端部が前記張出部内に位置する傾斜姿勢で前記ダクト本体内に取り付けられたこと
を特徴とする加熱調理装置。
続きを表示(約 410 文字)
【請求項2】
前記張出部は、
前記バーナ支持台における前記アフターバーナの取付位置の後端部に寄せた位置から上方向に延びる縦壁と、
前記縦壁の上端部から後方へ延び、前記排出口の前側に位置する上壁と
を備え、
前記触媒プレートは、自身の下端部が前記ダクト本体の後側に位置する後壁に近接し、前記自身の上端部が前記張出部内であって前記縦壁と前記上壁とのコーナ部に位置する前記傾斜姿勢で前記ダクト本体内に取り付けられたこと
を特徴とする請求項1に記載の加熱調理装置。
【請求項3】
前記排気ダクトの後面の底部側であって前記縦壁を後方に過ぎた位置には、水平面に対して後ろ斜め上方に傾斜する第1傾斜部と、前記第1傾斜部の後端部から前記第1傾斜部よりも小さい角度で水平面に対して後ろ斜め上方に傾斜する第2傾斜部とが設けられたこと
を特徴とする請求項2に記載の加熱調理装置。
発明の詳細な説明
【技術分野】
【0001】
本発明は、加熱調理装置に関する。
続きを表示(約 1,600 文字)
【背景技術】
【0002】
従来、排気ダクト内に、被調理物から発生した油煙を焼いて消失させるアフターバーナと、上記アフターバーナの燃焼により加熱されて活性化する触媒プレートとを備えたグリルが知られている(例えば特許文献1参照)。
【先行技術文献】
【特許文献】
【0003】
特開2006-55185号公報
【発明の概要】
【発明が解決しようとする課題】
【0004】
特許文献1に記載の構成では、排気ダクト内に触媒プレートを設けているので、排気ダクト内に圧損が生じ、グリルバーナの燃焼性に影響を及ぼす可能性があった。
【0005】
本発明の目的は、排気ダクト内に触媒プレートを設けてもグリルバーナの燃焼性に影響を及ぼすのを軽減できる加熱調理装置を提供することである。
【課題を解決するための手段】
【0006】
請求項1の加熱調理装置は、グリルバーナを備えるグリル庫と、前記グリル庫の後部と連通し、前記グリル庫内から流れる燃焼排気を前記グリル庫外に排出する排気ダクトと、前記排気ダクトの前記燃焼排気が流れる上流側に取り付けられたアフターバーナと、前記排気ダクトの前記アフターバーナよりも下流側に取り付けられ、前記アフターバーナの燃焼熱で加熱されて活性化する触媒プレートとを備えた加熱調理装置において、前記排気ダクトは、前記グリル庫の前記後部から後方に延び、その内部の上面に前記アフターバーナが燃焼面を下方に向けた姿勢で取り付けられるバーナ支持台と、前記バーナ支持台の後部から上方に延び、前記燃焼排気を排出する排出口を上部に有するダクト本体とを備え、前記ダクト本体の前側には前記排出口よりも前方に張り出す張出部が設けられ、前記触媒プレートは、自身の厚み方向一方側の面を前記アフターバーナ側に向け、自身の上端部が前記張出部内に位置する傾斜姿勢で前記ダクト本体内に取り付けられたことを特徴とする。
【0007】
請求項2の加熱調理装置の前記張出部は、前記バーナ支持台内における前記アフターバーナの取付位置の後端部に寄せた位置から上方向に延びる縦壁と、前記縦壁の上端部から後方へ延び、前記排出口の前側に位置する上壁とを備え、前記触媒プレートは、自身の下端部が前記ダクト本体の後側に位置する後壁に近接し、前記自身の上端部が前記張出部内であって前記縦壁と前記上壁とのコーナ部に位置する前記傾斜姿勢で前記ダクト本体内に取り付けられてもよい。
【0008】
請求項3の加熱調理装置の前記排気ダクトの後面の底部側であって前記縦壁を後方に過ぎた位置には、水平面に対して後ろ斜め上方に傾斜する第1傾斜部と、前記第1傾斜部の後端部から前記第1傾斜部よりも小さい角度で前記水平面に対して後ろ斜め上方に傾斜する第2傾斜部とが設けられてもよい。
【発明の効果】
【0009】
請求項1の加熱調理装置によれば、触媒プレートが排気ダクトの張出部内に自身の上端部が入り込む態様で取り付けられる。これにより触媒プレートを取り付ける位置においては広い通過断面積を確保できるので、排気ダクト内において燃焼排気の圧損が生じるのを抑制できる。よって、加熱調理装置はグリルバーナの燃焼性を良好に保持できる。
【0010】
請求項2の加熱調理装置によれば、触媒プレートをアフターバーナの燃焼面に寄せて配置できる。さらに触媒プレートの厚み方向の一方側の面をアフターバーナ側に向けた傾斜姿勢としているので、アフターバーナの燃焼熱を触媒プレートに効率的に伝熱できる。よって触媒プレートにより燃焼排気中の油煙を効率的に消失させることができる。
(【0011】以降は省略されています)
この特許をJ-PlatPat(特許庁公式サイト)で参照する
関連特許
株式会社パロマ
給湯装置
15日前
株式会社パロマ
ガスコンロ
22日前
株式会社パロマ
ガスコンロ
22日前
株式会社パロマ
ガスコンロ
22日前
株式会社パロマ
加熱調理装置
23日前
株式会社パロマ
加熱調理装置
26日前
株式会社パロマ
食器洗浄機用ブースター
1か月前
株式会社パロマ
食器洗浄機用ブースター
1か月前
株式会社パロマ
アフターバーナ及び加熱調理装置
23日前
株式会社パロマ
ヒートポンプ熱源機及び給湯システム
23日前
株式会社パロマ
ヒートポンプ熱源機及び給湯システム
23日前
株式会社パロマ
ガスコンロの製造方法およびガスコンロ
22日前
株式会社パロマ
給湯暖房機
15日前
個人
箸
1か月前
個人
家具
4か月前
個人
椅子
3か月前
個人
自助箸
7か月前
個人
掃除機
8か月前
個人
体洗い具
10か月前
個人
ソファー
2か月前
個人
屋外用箒
7か月前
個人
ハンガー
7か月前
個人
耳拭き棒
11か月前
個人
多用途紐
1か月前
個人
枕
8か月前
個人
掃除道具
8か月前
個人
掃除用具
3か月前
個人
枕
5か月前
個人
省煙消臭器
8か月前
個人
開閉トング
6か月前
個人
物品
3か月前
個人
掃除シート
9か月前
個人
片手代替具
11か月前
個人
組立式棚板
7か月前
個人
シャワー装置
6か月前
個人
中身のない枕
7か月前
続きを見る
他の特許を見る