TOP
|
特許
|
意匠
|
商標
特許ウォッチ
Twitter
他の特許を見る
公開番号
2025173361
公報種別
公開特許公報(A)
公開日
2025-11-27
出願番号
2024078916
出願日
2024-05-14
発明の名称
食器洗浄機用ブースター
出願人
株式会社パロマ
代理人
個人
,
個人
主分類
A47L
15/42 20060101AFI20251119BHJP(家具;家庭用品または家庭用設備;コーヒーひき;香辛料ひき;真空掃除機一般)
要約
【課題】筐体内での熱源ユニット及びタンクの固定構造を合理化して生産性を高め、低コスト化及び軽量化を図る。
【解決手段】食器洗浄機用ブースター1において、熱源ユニット3とタンク4と内部循環路5とを収容する筐体2は、平面視が矩形の底板10と、底板10の四隅に立設される4本の縦フレーム13,13・・とを含み、タンク4は、縦フレーム13Aとの間に介在されるタンク用固定板36によって縦フレーム13Aに連結されると共に、タンク4には、熱源ユニット3を固定するための熱源用固定板40が取り付けられている。
【選択図】図3
特許請求の範囲
【請求項1】
筐体内に、
熱源ユニットと、
水を貯留するタンクと、
循環ポンプを備えて前記タンク内の水を前記熱源ユニットとの間で循環させる内部循環路と、が収容され、
前記循環ポンプを作動させて前記タンク内の水を前記内部循環路を介して前記熱源ユニットとの間で循環させながら前記熱源ユニットで加熱し、加熱した湯水を外部の食器洗浄機へ供給可能な食器洗浄機用ブースターであって、
前記筐体は、平面視が矩形又は正方形の底板と、前記底板の四隅に立設される4本の縦フレームとを少なくとも含み、
前記タンクは、1の前記縦フレームとの間に介在されるタンク用固定板によって前記1の縦フレームに連結されると共に、前記タンクには、前記熱源ユニットを固定するための熱源用固定板が取り付けられていることを特徴とする食器洗浄機用ブースター。
続きを表示(約 160 文字)
【請求項2】
前記タンクは、前記熱源ユニットの後側で前記筐体の後側の前記1の縦フレームに前記タンク用固定板により連結されると共に、前記タンクの前面に前記熱源用固定板が取り付けられて、前記熱源ユニットは、前記タンクの前側で前記熱源用固定板に固定されていることを特徴とする請求項1に記載の食器洗浄機用ブースター。
発明の詳細な説明
【技術分野】
【0001】
本開示は、業務用の食器洗浄機に高温の湯を供給するために設置される食器洗浄機用ブースターに関する。
続きを表示(約 2,800 文字)
【背景技術】
【0002】
業務用の食器洗浄システムは、例えば特許文献1に開示されるように、洗浄室に搬入された食器を洗浄する食器洗浄機と、食器洗浄機に並設されて食器洗浄機に濯ぎ用の湯を供給するための食器洗浄機用ブースターとを備えたものが知られている。食器洗浄機用ブースターは、例えば特許文献2に開示されるように、バーナ及び熱交換器を備えて供給された水をバーナの燃焼排気によって加熱する瞬間加熱式の熱源ユニットと、熱源ユニットで加熱された湯を貯湯するタンクユニット(タンク)とを備えて、タンク内の湯を外部の給湯用配管を介して食器洗浄機へ供給可能となっている。この食器洗浄機用ブースターでは、タンク内の水位が下がると水道水が補給され、タンク内の湯水の温度が所定温度から低下すると、熱源ユニットが作動してタンク内の湯水を循環させながら加熱して、湯水の量及び温度が維持されるようになっている。
【先行技術文献】
【特許文献】
【0003】
特開2006-239024号公報
特開2019-141253号公報
【発明の概要】
【発明が解決しようとする課題】
【0004】
上記従来の食器洗浄機用ブースターの筐体内において、熱源ユニットは、筐体の壁板(外パネル)と内側のカバーとで囲まれる格好で固定され、タンクは、前後に設けた係止板や取付金具を、筐体内に設けた支持バーに係止させて固定されている。
しかし、このように熱源ユニットとタンクとが別々の部材を介して筐体内に固定されると、組み付けに係る部品点数や組み付け工数が多くなり、生産性が低下してコストアップに繋がる。また、重量が大きくなるため、運搬や移動の負担も増すことになる。
【0005】
そこで、本開示は、筐体内での熱源ユニット及びタンクの固定構造を合理化して生産性を高め、低コスト化及び軽量化を図ることができる食器洗浄機用ブースターを提供することを目的としたものである。
【課題を解決するための手段】
【0006】
上記目的を達成するために、本開示は、筐体内に、
熱源ユニットと、
水を貯留するタンクと、
循環ポンプを備えて前記タンク内の水を前記熱源ユニットとの間で循環させる内部循環路と、が収容され、
前記循環ポンプを作動させて前記タンク内の水を前記内部循環路を介して前記熱源ユニットとの間で循環させながら前記熱源ユニットで加熱し、加熱した湯水を外部の食器洗浄機へ供給可能な食器洗浄機用ブースターであって、
前記筐体は、平面視が矩形又は正方形の底板と、前記底板の四隅に立設される4本の縦フレームとを少なくとも含み、
前記タンクは、1の前記縦フレームとの間に介在されるタンク用固定板によって前記1の縦フレームに連結されると共に、前記タンクには、前記熱源ユニットを固定するための熱源用固定板が取り付けられていることを特徴とする。
本開示の別の態様は、上記構成において、前記タンクは、前記熱源ユニットの後側で前記筐体の後側の前記1の縦フレームに前記タンク用固定板により連結されると共に、前記タンクの前面に前記熱源用固定板が取り付けられて、前記熱源ユニットは、前記タンクの前側で前記熱源用固定板に固定されていることを特徴とする。
【発明の効果】
【0007】
本開示によれば、タンク用固定板を介して1の縦フレームに連結されたタンクに対し、熱源用固定板を介して熱源ユニットを固定するので、筐体内での熱源ユニット及びタンクの固定をタンク用固定板及び熱源用固定板のみで簡単に行うことができる。よって、筐体内での熱源ユニット及びタンクの固定構造を合理化して生産性を高め、低コスト化及び軽量化を図ることができる。
本開示の別の態様によれば、上記効果に加えて、熱源ユニットは、タンクの前側で熱源用固定板に固定されるので、熱源ユニットの前側や横側に熱源用固定板が位置することがない。よって、内部循環路の組み付けやメンテナンスを行う際に熱源用固定板が邪魔になることがなく、組み付け作業及びメンテナンス作業に係る作業性を良好とすることができる。
【図面の簡単な説明】
【0008】
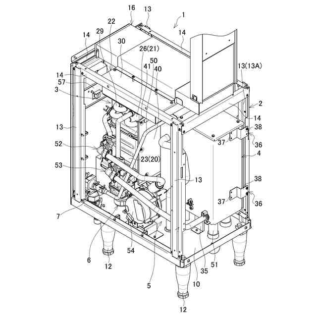
食器洗浄機用ブースターの斜視図である。
食器洗浄機用ブースターの中央縦断面図である。
天板と前後左右の外パネルとを省略した状態を右後ろ上方から示す斜視図である。
図2のA-A線部分の拡大断面図である。
熱源用固定板の取付部分を右側前方から見た斜視図である。
図4のB-B線部分の拡大断面図である。
【発明を実施するための形態】
【0009】
以下、本開示の実施の形態を図面に基づいて説明する。
図1は、第1の構成に係る食器洗浄機用ブースター(以下単に「ブースター」と略称する。)1の一例を示す斜視図、図2は中央縦断面図、図3は、天板と前後左右の外パネルとを省略した状態を右後ろ上方から示す斜視図である。図4は図2のA-A線部分の拡大断面図である。なお、本形態のブースター1では、後述する操作部17及び給気部18が設けられる外パネル15を正面(前面)として説明する。
【0010】
ブースター1は、筐体2と、熱源ユニット3と、タンク4と、内部循環路5と、ガス供給部6と、注水部7と、コントローラ8とを備えている。
筐体2は、底板10と、天板11と、4本の脚12,12・・と、4本の縦フレーム13,13・・と、4本の横フレーム14,14・・と、4枚の外パネル15,15・・とを含んでなる。底板10は、平面視矩形状で、四辺がそれぞれ上向きに折り返されている。各脚12は、底板10の下面四隅で下向きに取り付けられて底板10を水平に支持している。各縦フレーム13は、底板10の折り返し部に固定されて底板10の四隅に立設されている。各横フレーム14は、前後左右に隣接する縦フレーム13,13の上端間に架設されている。天板11は、横フレーム14,14・・に取り付けられて筐体2の上面を閉塞している。天板11の上面には、熱源ユニット3の後述する排気部22に接続される排気ダクト16が設けられている。
各外パネル15は、底板10及び天板11と各縦フレーム13及び各横フレーム14とで囲まれる筐体2の前後面及び左右の側面に取り付けられて各面を閉塞している。正面の外パネル15には、上側に操作部17が、下側に給気部18がそれぞれ設けられている。
(【0011】以降は省略されています)
この特許をJ-PlatPat(特許庁公式サイト)で参照する
関連特許
他の特許を見る