TOP
|
特許
|
意匠
|
商標
特許ウォッチ
Twitter
他の特許を見る
10個以上の画像は省略されています。
公開番号
2025172339
公報種別
公開特許公報(A)
公開日
2025-11-26
出願番号
2024077798
出願日
2024-05-13
発明の名称
ガスコンロ
出願人
株式会社パロマ
代理人
弁理士法人暁合同特許事務所
主分類
F24C
15/08 20060101AFI20251118BHJP(加熱;レンジ;換気)
要約
【課題】低コスト化しつつ、左右両領域の構成部品の強度を担保する。
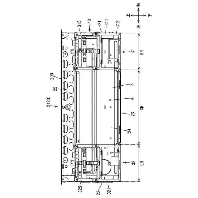
【解決手段】本開示のガスコンロ1は、領域画定部40を備え、領域画定部40は、底壁部23に固定される底板部41と、底板部41の左右両端部にそれぞれ立設される左固定柱80および右固定柱70と、を備え、左固定柱80の上端と右固定柱70の上端とは上梁部25にそれぞれ固定されており、左右両固定柱70,80により、筐体2の右壁部21から左壁部22までの領域を、グリル庫8が配設される中領域CRと、左右のパネルユニット31,32がそれぞれ配設される左領域LRおよび右領域RRと、に区画され、固定柱70,80および左右両壁部21,22のうち固定柱70,80に隣り合う壁部の前端部には、面方向が前端部を向いた前枠部90が固定され、この前枠部90にパネルユニット31,32が固定される。
【選択図】図3
特許請求の範囲
【請求項1】
ガスバーナと、
前記ガスバーナを収容する筐体と、を備えたガスコンロであって、
前記筐体は、底壁部と、前記底壁部の左右両端部に立設された左壁部及び右壁部と、前記底壁部の前端部に固定される領域画定部と、左右方向に長く前記筐体の左右幅に対応する長さ寸法を有し前記左壁部の前上端と前記右壁部の前上端とに固定される上梁部と、を備え、
前記領域画定部は、前記底壁部に固定される底板部と、前記底板部の左右両端部にそれぞれ立設される左固定柱および右固定柱と、を備え、前記左固定柱の上端と前記右固定柱の上端とは前記上梁部にそれぞれ固定されており、
前記左右両固定柱により、前記筐体の前記右壁部から前記左壁部までの領域を、グリル庫が配設される中領域と、左右のパネルユニットがそれぞれ配設される左領域および右領域と、に区画され、
前記固定柱および前記左右両壁部のうち前記固定柱に隣り合う壁部の前端部には、面方向が前端部を向いた前枠部が固定され、この前枠部に前記パネルユニットが固定される、ガスコンロ。
続きを表示(約 270 文字)
【請求項2】
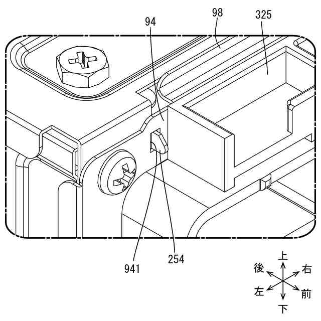
前記前枠部の少なくとも左右両縁部には、後方に折り返されて前記固定柱および前記筐体の左右両壁部に外接する折り返しが設けられる、請求項1に記載のガスコンロ。
【請求項3】
前記固定柱または前記筐体の前端部には、前記前枠部を位置決めするための位置決め部材が設けられる、請求項1または請求項2に記載のガスコンロ。
【請求項4】
前記前枠部の前端部には、少なくとも前記上梁部と同じ高さ位置にまでのびる侵入防止壁が左右方向にのびて形成されている、請求項1または請求項2に記載のガスコンロ。
発明の詳細な説明
【技術分野】
【0001】
本開示は、ガスコンロに関する。
続きを表示(約 2,400 文字)
【背景技術】
【0002】
特開2020-85369号公報(下記特許文献1)に記載のコンロの筐体は、左右のパネルユニットを筐体本体部の前面に固定するためのパネル固定部材を備える。このパネル固定部材は、底板部と、底板部の左右両端部から上方に折り曲げ形成され、筐体の左壁部および右壁部の内側に接するように配置される左板部および右板部と、を備える。また、底板部の中寄りの位置には、左固定柱および右固定柱がそれぞれ立設され、左右両固定柱の上端には、上梁部が固定されている。これにより、左板部前部と右板部前部との間の領域が、グリル庫が配設される中領域と、操作パネルが配設される左領域および右領域と、に区画される。
【先行技術文献】
【特許文献】
【0003】
特開2020-85369号公報
【発明の概要】
【発明が解決しようとする課題】
【0004】
しかし、底板部および左右両板部は、筐体の全幅と両板部の高さを足し合わせた長さの板材を一体的に加工したものであるため、歩留まりが悪く、管理工程で歪みが生じることも懸念される。このため、左右両板部と底板部のうち、固定柱の取り付け部間よりも外側の部分を削除して小部品化することが検討されるが、この場合、左領域と右領域の底面および外側面を構成する部材が二重壁から一枚壁になってしまい、強度面での不安がある。
【課題を解決するための手段】
【0005】
本開示のガスコンロは、ガスバーナと、前記ガスバーナを収容する筐体と、を備えたガスコンロであって、前記筐体は、底壁部と、前記底壁部の左右両端部に立設された左壁部及び右壁部と、前記底壁部の前端部に固定される領域画定部と、左右方向に長く前記筐体の左右幅に対応する長さ寸法を有し前記左壁部の前上端と前記右壁部の前上端とに固定される上梁部と、を備え、前記領域画定部は、前記底壁部に固定される底板部と、前記底板部の左右両端部にそれぞれ立設される左固定柱および右固定柱と、を備え、前記左固定柱の上端と前記右固定柱の上端とは前記上梁部にそれぞれ固定されており、前記左右両固定柱により、前記筐体の前記右壁部から前記左壁部までの領域を、グリル庫が配設される中領域と、左右のパネルユニットがそれぞれ配設される左領域および右領域と、に区画され、前記固定柱および前記左右両壁部のうち前記固定柱に隣り合う壁部の前端部には、面方向が前端部を向いた前枠部が固定され、この前枠部に前記パネルユニットが固定される、ガスコンロである。
【発明の効果】
【0006】
本開示によれば、パネルユニットが配設される左右両領域の構成部品を、前枠部により補強することで、低コスト化しつつ、左右両領域の構成部品の強度を担保できる。
【図面の簡単な説明】
【0007】
図1は、ガスコンロの正面図である。
図2は、筐体および左右パネルユニットの正面図である。
図3は、筐体および左右パネルユニットの分解斜視図である。
図4は、筐体および左右パネルユニットを右前方から見た斜視図である。
図5は、筐体および左右パネルユニットを左前方から見た斜視図である。
図6は、図4における左パネルユニットの周辺部を拡大して示す斜視図である。
図7は、図5における右パネルユニットの周辺部を拡大して示す斜視図である。
図8は、図7の差込片を拡大して示す斜視図である。
図9は、図6の差込片を拡大して示す斜視図である。
図10は、図6の侵入防止壁を拡大して示す斜視図である。
図11は、前枠部の斜視図である。
図12は、左パネルユニットを後方から見た斜視図である。
図13は、底板部の平面図である。
図14は、左固定柱および右固定柱の斜視図である。
【発明を実施するための形態】
【0008】
[本開示の実施形態の説明]
最初に本開示の実施態様を列挙して説明する。
(1)本開示のガスコンロは、ガスバーナと、前記ガスバーナを収容する筐体と、を備えたガスコンロであって、前記筐体は、底壁部と、前記底壁部の左右両端部に立設された左壁部及び右壁部と、前記底壁部の前端部に固定される領域画定部と、左右方向に長く前記筐体の左右幅に対応する長さ寸法を有し前記左壁部の前上端と前記右壁部の前上端とに固定される上梁部と、を備え、前記領域画定部は、前記底壁部に固定される底板部と、前記底板部の左右両端部にそれぞれ立設される左固定柱および右固定柱と、を備え、前記左固定柱の上端と前記右固定柱の上端とは前記上梁部にそれぞれ固定されており、前記左右両固定柱により、前記筐体の前記右壁部から前記左壁部までの領域を、グリル庫が配設される中領域と、左右のパネルユニットがそれぞれ配設される左領域および右領域と、に区画され、前記固定柱および前記左右両壁部のうち前記固定柱に隣り合う壁部の前端部には、面方向が前端部を向いた前枠部が固定され、この前枠部に前記パネルユニットが固定される。
【0009】
パネルユニットが配設される左右両領域の構成部品を、前枠部により補強するため、底板部における左右両固定柱の取り付け部の外側を削除し低コスト化した場合でも、左右両領域の構成部品の強度を担保することができる。
【0010】
(2)(1)に記載のガスコンロにおいて、前記前枠部の少なくとも左右両縁部には、後方に折り返されて前記固定柱および前記筐体の左右両壁部に外接する折り返しが設けられることが好ましい。
左右両領域の構成部品の強度をさらに担保することができる。
(【0011】以降は省略されています)
この特許をJ-PlatPat(特許庁公式サイト)で参照する
関連特許
株式会社パロマ
湯沸器
1か月前
株式会社パロマ
給湯装置
19日前
株式会社パロマ
ガスコンロ
今日
株式会社パロマ
ガスコンロ
今日
株式会社パロマ
ガスコンロ
26日前
株式会社パロマ
ガスコンロ
26日前
株式会社パロマ
ガスコンロ
26日前
株式会社パロマ
加熱調理装置
2か月前
株式会社パロマ
加熱調理装置
2か月前
株式会社パロマ
加熱調理装置
2か月前
株式会社パロマ
加熱調理装置
1か月前
株式会社パロマ
加熱調理装置
27日前
株式会社パロマ
食器洗浄機用ブースター
1か月前
株式会社パロマ
食器洗浄機用ブースター
1か月前
株式会社パロマ
食器洗浄機用ブースター
2か月前
株式会社パロマ
加熱調理装置及び製造方法
1か月前
株式会社パロマ
給湯器の製造方法及び給湯器
1か月前
株式会社パロマ
アフターバーナ及び加熱調理装置
27日前
株式会社パロマ
ヒートポンプ熱源機及び給湯システム
27日前
株式会社パロマ
ヒートポンプ熱源機及び給湯システム
27日前
株式会社パロマ
ガスコンロの製造方法およびガスコンロ
26日前
株式会社パロマ
給湯暖房機
19日前
個人
集熱器具
19日前
株式会社トヨトミ
五徳
1か月前
株式会社コロナ
給湯装置
3か月前
株式会社コロナ
空調装置
3か月前
個人
油ハネ防止カーテン
22日前
株式会社コロナ
空調装置
1か月前
株式会社コロナ
空調装置
1か月前
株式会社コロナ
加湿装置
2か月前
個人
UFO型空気清浄機
7日前
株式会社コロナ
空調装置
1か月前
株式会社コロナ
空調装置
2か月前
株式会社コロナ
空調装置
1か月前
株式会社コロナ
空気調和機
3か月前
個人
太陽光パネル傾斜装置
1か月前
続きを見る
他の特許を見る