TOP
|
特許
|
意匠
|
商標
特許ウォッチ
Twitter
他の特許を見る
公開番号
2025172338
公報種別
公開特許公報(A)
公開日
2025-11-26
出願番号
2024077797
出願日
2024-05-13
発明の名称
ガスコンロ
出願人
株式会社パロマ
代理人
弁理士法人暁合同特許事務所
主分類
F24C
15/06 20060101AFI20251118BHJP(加熱;レンジ;換気)
要約
【課題】赤外線発信部のカバー体の脱落を抑制する。
【解決手段】ガスコンロ1は、複数のガスバーナと、前パネル30と、前パネル30の前側に装着される化粧パネル40と、2つの点火ボタン11,12と、2つの操作レバー15A,15Bと、赤外線発信部50と、を備える。前パネル30は、2つの操作レバー15A,15Bがそれぞれ挿通される2つの長孔33,34と、2つの長孔33,34の間に配される支持孔35Aと、を有し、化粧パネル40は板金のプレス成型品であり、2つの点火ボタン11,12がそれぞれ挿通されるボタン孔41Aと、2つの長孔33,34及び支持孔35Aの前側に配されるスリット孔41Bと、を有し、赤外線発信部50は、支持孔35A内に支持される赤外線発信素子51と、支持孔35Aを前側から覆うように前パネル30に装着されるカバー体60と、を備え、カバー体60の上下方向の寸法は、スリット孔41Bの上下方向の寸法より大きく設定されている。
【選択図】図4
特許請求の範囲
【請求項1】
複数のガスバーナと、
前記複数のガスバーナを収容する筐体部と、
前記筐体部の前部に取り付けられる前パネルと、
前記前パネルの前側に装着される化粧パネルと、
前記複数のガスバーナのうちの2つのガスバーナのそれぞれの点火・消火操作を行うための2つの点火ボタンと、
前記2つのガスバーナのそれぞれの火力調節を行うための2つの操作レバーと、
前記2つのガスバーナの少なくとも1つが燃焼している場合に外部に赤外線信号を発信する赤外線発信部と、を備えるガスコンロであって、
前記2つの点火ボタンは、左右方向に並んで前記前パネルに配置され、
前記前パネルは、前記2つの点火ボタンの上方に左右方向に並んで配され且つ前記2つの操作レバーがそれぞれ挿通される2つの長孔と、前記2つの長孔の間に配される支持孔と、を有し、
前記化粧パネルは板金のプレス成型品であり、
前記化粧パネルは、前記2つの点火ボタンがそれぞれ挿通されるボタン孔と、前記2つの長孔及び前記支持孔の前側に配されるスリット孔と、を有し、
前記赤外線発信部は、前方に前記赤外線信号を発信可能に前記支持孔内に支持される赤外線発信素子と、前記支持孔を前側から覆うように前記前パネルに装着されるカバー体と、を備え、
前記カバー体の上下方向の寸法は、前記スリット孔の上下方向の寸法より大きく設定されている、ガスコンロ。
続きを表示(約 66 文字)
【請求項2】
前記化粧パネルは、前記スリット孔の孔縁部から後方に延びる延出部を備える、請求項1に記載のガスコンロ。
発明の詳細な説明
【技術分野】
【0001】
本開示は、ガスコンロに関する。
続きを表示(約 2,100 文字)
【背景技術】
【0002】
従来、特許第5465214号公報(下記特許文献1)に記載のガスコンロが知られている。このガスコンロは、バーナの燃焼時に換気装置の運転を制御するための赤外線信号を発光する赤外線発光部を備える。赤外線発光部は、赤外線発光素子と、赤外線発光素子を前方から覆うカバーと、を備える。赤外線発光部のカバーは、ガスコンロ前面の操作パネルに設けられたレバー用スライド孔の左右中央部に嵌め込まれている。
【先行技術文献】
【特許文献】
【0003】
特許第5465214号公報
【発明の概要】
【発明が解決しようとする課題】
【0004】
上記の構成において、操作パネルが板金のプレス成型品である場合、レバー用スライド孔の公差が大きくなりやすい。このため、カバーに対してレバー用スライド孔が大きく形成され、カバーがレバー用スライド孔から前方に脱落することがありうる。
【課題を解決するための手段】
【0005】
本開示のガスコンロは、複数のガスバーナと、前記複数のガスバーナを収容する筐体部と、前記筐体部の前部に取り付けられる前パネルと、前記前パネルの前側に装着される化粧パネルと、前記複数のガスバーナのうちの2つのガスバーナのそれぞれの点火・消火操作を行うための2つの点火ボタンと、前記2つのガスバーナのそれぞれの火力調節を行うための2つの操作レバーと、前記2つのガスバーナの少なくとも1つが燃焼している場合に外部に赤外線信号を発信する赤外線発信部と、を備えるガスコンロであって、前記2つの点火ボタンは、左右方向に並んで前記前パネルに配置され、前記前パネルは、前記2つの点火ボタンの上方に左右方向に並んで配され且つ前記2つの操作レバーがそれぞれ挿通される2つの長孔と、前記2つの長孔の間に配される支持孔と、を有し、前記化粧パネルは板金のプレス成型品であり、前記化粧パネルは、前記2つの点火ボタンがそれぞれ挿通されるボタン孔と、前記2つの長孔及び前記支持孔の前側に配されるスリット孔と、を有し、前記赤外線発信部は、前方に前記赤外線信号を発信可能に前記支持孔内に支持される赤外線発信素子と、前記支持孔を前側から覆うように前記前パネルに装着されるカバー体と、を備え、前記カバー体の上下方向の寸法は、前記スリット孔の上下方向の寸法より大きく設定されている、ガスコンロである。
【発明の効果】
【0006】
本開示によれば、赤外線発信部のカバー体の脱落を抑制することができる。
【図面の簡単な説明】
【0007】
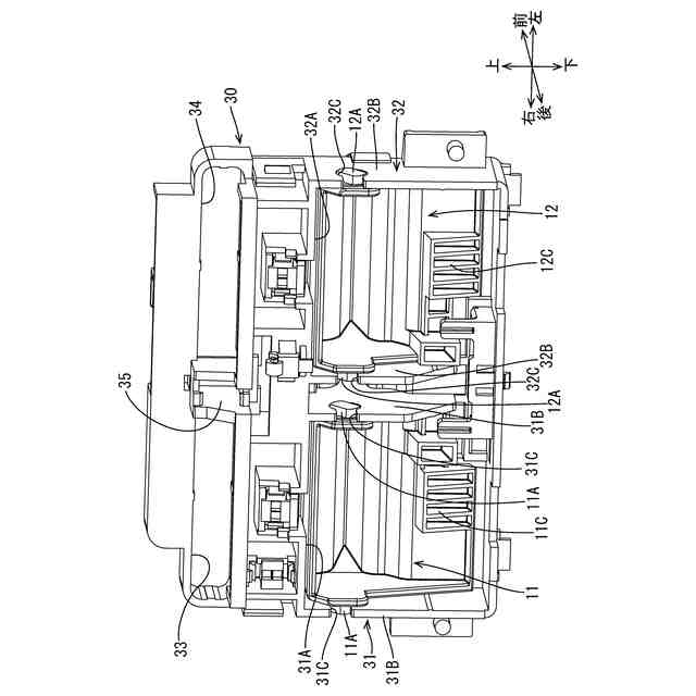
図1は、実施形態にかかるガスコンロの正面図である。
図2は、ガスコンロの分解斜視図である。
図3は、フロント部材の分解斜視図である。
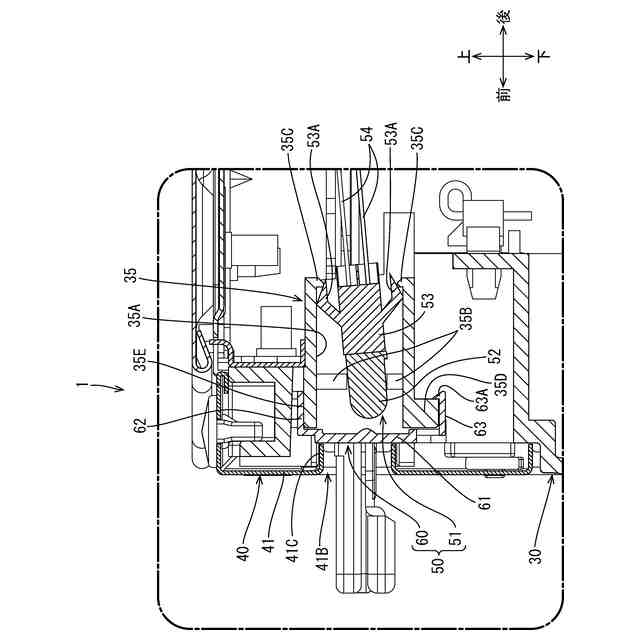
図4は、図1のA-A断面図である。
図5は、前パネルの前方斜視図である。
図6は、前パネルの後方斜視図である。
図7は、カバー体の斜視図である。
図8は、化粧パネルの斜視図である。
【発明を実施するための形態】
【0008】
[本開示の実施形態の説明]
最初に本開示の実施態様を列挙して説明する。
【0009】
(1)本開示のガスコンロは、複数のガスバーナと、前記複数のガスバーナを収容する筐体部と、前記筐体部の前部に取り付けられる前パネルと、前記前パネルの前側に装着される化粧パネルと、前記複数のガスバーナのうちの2つのガスバーナのそれぞれの点火・消火操作を行うための2つの点火ボタンと、前記2つのガスバーナのそれぞれの火力調節を行うための2つの操作レバーと、前記2つのガスバーナの少なくとも1つが燃焼している場合に外部に赤外線信号を発信する赤外線発信部と、を備えるガスコンロであって、前記2つの点火ボタンは、左右方向に並んで前記前パネルに配置され、前記前パネルは、前記2つの点火ボタンの上方に左右方向に並んで配され且つ前記2つの操作レバーがそれぞれ挿通される2つの長孔と、前記2つの長孔の間に配される支持孔と、を有し、前記化粧パネルは板金のプレス成型品であり、前記化粧パネルは、前記2つの点火ボタンがそれぞれ挿通されるボタン孔と、前記2つの長孔及び前記支持孔の前側に配されるスリット孔と、を有し、前記赤外線発信部は、前方に前記赤外線信号を発信可能に前記支持孔内に支持される赤外線発信素子と、前記支持孔を前側から覆うように前記前パネルに装着されるカバー体と、を備え、前記カバー体の上下方向の寸法は、前記スリット孔の上下方向の寸法より大きく設定されている。
【0010】
このような構成によると、カバー体は支持孔を前側から覆うように前パネルに装着され、カバー体の上下方向の寸法はスリット孔の上下方向の寸法より大きく設定されている。このため、スリット孔の孔縁部がカバー体に接触することで、カバー体が前方に脱落することを抑制することができる。
(【0011】以降は省略されています)
この特許をJ-PlatPat(特許庁公式サイト)で参照する
関連特許
株式会社パロマ
湯沸器
1か月前
株式会社パロマ
給湯装置
19日前
株式会社パロマ
ガスコンロ
26日前
株式会社パロマ
ガスコンロ
今日
株式会社パロマ
ガスコンロ
26日前
株式会社パロマ
ガスコンロ
今日
株式会社パロマ
ガスコンロ
26日前
株式会社パロマ
加熱調理装置
27日前
株式会社パロマ
加熱調理装置
1か月前
株式会社パロマ
食器洗浄機用ブースター
1か月前
株式会社パロマ
食器洗浄機用ブースター
1か月前
株式会社パロマ
加熱調理装置及び製造方法
1か月前
株式会社パロマ
給湯器の製造方法及び給湯器
1か月前
株式会社パロマ
アフターバーナ及び加熱調理装置
27日前
株式会社パロマ
ヒートポンプ熱源機及び給湯システム
27日前
株式会社パロマ
ヒートポンプ熱源機及び給湯システム
27日前
株式会社パロマ
ガスコンロの製造方法およびガスコンロ
26日前
株式会社パロマ
給湯暖房機
19日前
個人
集熱器具
19日前
株式会社トヨトミ
五徳
1か月前
株式会社コロナ
空調装置
1か月前
株式会社コロナ
加湿装置
2か月前
個人
油ハネ防止カーテン
22日前
株式会社コロナ
空調装置
2か月前
株式会社コロナ
給湯装置
3か月前
株式会社コロナ
空調装置
3か月前
株式会社コロナ
空調装置
1か月前
株式会社コロナ
空調装置
1か月前
個人
UFO型空気清浄機
7日前
株式会社コロナ
空調装置
1か月前
株式会社コロナ
風呂給湯機
2か月前
株式会社コロナ
空気調和機
3か月前
株式会社コロナ
空気調和機
3か月前
個人
太陽光パネル傾斜装置
1か月前
個人
住宅換気空調システム
3か月前
株式会社コロナ
暖房システム
1か月前
続きを見る
他の特許を見る