TOP
|
特許
|
意匠
|
商標
特許ウォッチ
Twitter
他の特許を見る
10個以上の画像は省略されています。
公開番号
2025173190
公報種別
公開特許公報(A)
公開日
2025-11-27
出願番号
2024078653
出願日
2024-05-14
発明の名称
ガスコンロ
出願人
株式会社パロマ
代理人
弁理士法人暁合同特許事務所
主分類
F24C
3/10 20060101AFI20251119BHJP(加熱;レンジ;換気)
要約
【課題】部品点数を減らしつつ点火ボタンの後方への抜けを抑制する。
【解決手段】ガスコンロは、前パネル30と、揺動式の点火ボタン11と、前パネルの前側に装着される化粧パネル40と、を備える。点火ボタンは揺動軸11Aを備え、前パネル30は、点火ボタンが挿通される挿通孔32と、揺動軸を受ける軸受孔34と、軸受孔から後方に延び且つ後方に開口するスリット35と、を有し、化粧パネルは、点火ボタンが挿通される操作窓41Aを有し、揺動軸は、側方から見た場合に第1方向に長い略長円形状をなし、化粧パネルが前パネルに装着されていない状態では、スリットの延び方向と第1方向とが一致する第1位置に到達可能であり、化粧パネルが前パネルに装着された状態では、点火ボタンは操作窓の下縁と干渉することで第1位置に到達不可とされている。
【選択図】図15
特許請求の範囲
【請求項1】
ガスバーナと、
前記ガスバーナを収容する筐体部と、
前記筐体部の内部に設けられ前記ガスバーナの点火・消火を行う点火スイッチと、
前記筐体部の前部に取り付けられる前パネルと、
前記点火スイッチの前側に配され且つ前記点火スイッチの操作のために押圧される揺動式の点火ボタンと、
前記前パネルの前側に装着される化粧パネルと、を備えるガスコンロであって、
前記点火ボタンは、前端部に配される押圧部と、後端部に配され且つ左右方向に張り出す揺動軸と、を備え、
前記前パネルは、前板と、前記前板に形成され且つ前記点火ボタンが挿通される挿通孔と、前記挿通孔の左右の孔縁部から後方に延びる複数の支持板と、前記複数の支持板のそれぞれに形成され且つ前記揺動軸を受ける軸受孔と、前記軸受孔から後方に延び且つ後方に開口するスリットと、を有し、
前記化粧パネルは、前記押圧部が前方に露出した状態で前記点火ボタンが挿通される操作窓を有し、
前記揺動軸は、側方から見た場合に第1方向に長い略長円形状をなし、
前記スリットの延び方向と前記第1方向とが一致した場合に前記揺動軸が前記スリットを通過することが許容され、前記スリットの延び方向と前記第1方向とが交差する場合に前記揺動軸が前記スリットを通過することが規制され、
前記化粧パネルが前記前パネルに装着されていない状態では、前記点火ボタンは上方への揺動が規制される上側規制位置を基準として第1角度だけ下方に揺動して第1位置に到達可能であり、
前記点火ボタンが前記第1位置にある状態では、前記スリットの延び方向と前記第1方向とが一致し、
前記化粧パネルが前記前パネルに装着された状態では、前記点火ボタンは前記上側規制位置を基準として前記第1角度よりも小さい第2角度だけ下方に揺動して前記操作窓の下縁と干渉することで前記第1位置に到達不可とされている、ガスコンロ。
続きを表示(約 150 文字)
【請求項2】
前記点火ボタンは、前記操作窓の下縁と干渉する干渉部と、前記点火ボタンが前記上側規制位置にある状態で前記干渉部と前記操作窓の下縁との隙間を埋める保護部と、を備え、
前記保護部は、側方から見て前記揺動軸を中心とする略円弧状をなす外面を有する、請求項1に記載のガスコンロ。
発明の詳細な説明
【技術分野】
【0001】
本開示は、ガスコンロに関する。
続きを表示(約 2,900 文字)
【背景技術】
【0002】
従来、特開2014-40979号公報(下記特許文献1)に記載のガスコンロが知られている。このガスコンロの前面には揺動式の点消火ボタンが設けられ、点消火ボタンを後方に押し込むことでバーナが点火されるようになっている。ガスコンロは、点消火ボタン周りの部品として、点消火ボタンを揺動可能に軸支する操作部装着枠の上方側部分と、上方側部分の軸支部に挿入した点消火ボタンの軸状部が軸支部から離脱するのを阻止するための受止部材と、上方側部分を前側から覆う上側操作部カバーと、を含む。点消火ボタンは上方側部分のボタン挿通口及び上側操作部カバーのボタン挿通用開口に挿通され、その一部が前方に突出している。受止部材は、点消火ボタンを軸支する上方側部分の背面部に固定されている。
【先行技術文献】
【特許文献】
【0003】
特開2014-40979号公報
【発明の概要】
【発明が解決しようとする課題】
【0004】
上記の構成では、軸状部の軸支部からの離脱を阻止するために受止部材を設けている。しかし、部品点数及び組付工数の削減の観点から、受止部材を省略して、他の点消火ボタン周りの部品によって軸状部の軸支部からの離脱を阻止することが好ましい。
【課題を解決するための手段】
【0005】
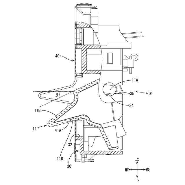
本開示のガスコンロは、ガスバーナと、前記ガスバーナを収容する筐体部と、前記筐体部の内部に設けられ前記ガスバーナの点火・消火を行う点火スイッチと、前記筐体部の前部に取り付けられる前パネルと、前記点火スイッチの前側に配され且つ前記点火スイッチの操作のために押圧される揺動式の点火ボタンと、前記前パネルの前側に装着される化粧パネルと、を備えるガスコンロであって、前記点火ボタンは、前端部に配される押圧部と、後端部に配され且つ左右方向に張り出す揺動軸と、を備え、前記前パネルは、前板と、前記前板に形成され且つ前記点火ボタンが挿通される挿通孔と、前記挿通孔の左右の孔縁部から後方に延びる複数の支持板と、前記複数の支持板のそれぞれに形成され且つ前記揺動軸を受ける軸受孔と、前記軸受孔から後方に延び且つ後方に開口するスリットと、を有し、前記化粧パネルは、前記押圧部が前方に露出した状態で前記点火ボタンが挿通される操作窓を有し、前記揺動軸は、側方から見た場合に第1方向に長い略長円形状をなし、前記スリットの延び方向と前記第1方向とが一致した場合に前記揺動軸が前記スリットを通過することが許容され、前記スリットの延び方向と前記第1方向とが交差する場合に前記揺動軸が前記スリットを通過することが規制され、前記化粧パネルが前記前パネルに装着されていない状態では、前記点火ボタンは上方への揺動が規制される上側規制位置を基準として第1角度だけ下方に揺動して第1位置に到達可能であり、前記点火ボタンが前記第1位置にある状態では、前記スリットの延び方向と前記第1方向とが一致し、前記化粧パネルが前記前パネルに装着された状態では、前記点火ボタンは前記上側規制位置を基準として前記第1角度よりも小さい第2角度だけ下方に揺動して前記操作窓の下縁と干渉することで前記第1位置に到達不可とされている、ガスコンロである。
【発明の効果】
【0006】
本開示によれば、部品点数を減らしつつ点火ボタンの後方への抜けを抑制することができる。
【図面の簡単な説明】
【0007】
図1は、実施形態にかかるガスコンロの正面図である。
図2は、ガスコンロの分解斜視図である。
図3は、フロント部材の分解斜視図である。
図4は、ボタンユニットの斜視図である。
図5は、ボタンユニットの正面図である。
図6は、ボタンユニットの側面図である。
図7は、ボタンユニットの分解斜視図である。
図8は、点火ボタンの斜視図である。
図9は、化粧パネルを取り付けたボタンユニットの斜視図である。
図10は、化粧パネルの斜視図である。
図11は、図5のA-A断面図である。
図12は、図5のA-A断面において点火ボタンが第1位置にある状態を示す図である。
図13は、図5のA-A断面において前パネルに対する点火ボタンの組み付けについて示す図である。
図14は、図5のA-A断面において化粧パネルを取り付けたボタンユニットを示す図である。
図15は、図5のA-A断面において点火ボタンが第2位置にある状態を示す図である。
【発明を実施するための形態】
【0008】
[本開示の実施形態の説明]
最初に本開示の実施態様を列挙して説明する。
【0009】
(1)本開示のガスコンロは、ガスバーナと、前記ガスバーナを収容する筐体部と、前記筐体部の内部に設けられ前記ガスバーナの点火・消火を行う点火スイッチと、前記筐体部の前部に取り付けられる前パネルと、前記点火スイッチの前側に配され且つ前記点火スイッチの操作のために押圧される揺動式の点火ボタンと、前記前パネルの前側に装着される化粧パネルと、を備えるガスコンロであって、前記点火ボタンは、前端部に配される押圧部と、後端部に配され且つ左右方向に張り出す揺動軸と、を備え、前記前パネルは、前板と、前記前板に形成され且つ前記点火ボタンが挿通される挿通孔と、前記挿通孔の左右の孔縁部から後方に延びる複数の支持板と、前記複数の支持板のそれぞれに形成され且つ前記揺動軸を受ける軸受孔と、前記軸受孔から後方に延び且つ後方に開口するスリットと、を有し、前記化粧パネルは、前記押圧部が前方に露出した状態で前記点火ボタンが挿通される操作窓を有し、前記揺動軸は、側方から見た場合に第1方向に長い略長円形状をなし、前記スリットの延び方向と前記第1方向とが一致した場合に前記揺動軸が前記スリットを通過することが許容され、前記スリットの延び方向と前記第1方向とが交差する場合に前記揺動軸が前記スリットを通過することが規制され、前記化粧パネルが前記前パネルに装着されていない状態では、前記点火ボタンは上方への揺動が規制される上側規制位置を基準として第1角度だけ下方に揺動して第1位置に到達可能であり、前記点火ボタンが前記第1位置にある状態では、前記スリットの延び方向と前記第1方向とが一致し、前記化粧パネルが前記前パネルに装着された状態では、前記点火ボタンは前記上側規制位置を基準として前記第1角度よりも小さい第2角度だけ下方に揺動して前記操作窓の下縁と干渉することで前記第1位置に到達不可とされている。
【0010】
このような構成によると、化粧パネルと干渉することにより点火ボタンは第1位置に到達不可とされるから、別途部品を設けなくても、揺動軸が軸受孔から外れて点火ボタンが後方へ抜けることを抑制することができる。
(【0011】以降は省略されています)
この特許をJ-PlatPat(特許庁公式サイト)で参照する
関連特許
株式会社パロマ
湯沸器
2か月前
株式会社パロマ
給湯装置
21日前
株式会社パロマ
融雪装置
今日
株式会社パロマ
ガスコンロ
28日前
株式会社パロマ
ガスコンロ
28日前
株式会社パロマ
ガスコンロ
28日前
株式会社パロマ
ガスコンロ
2日前
株式会社パロマ
ガスコンロ
2日前
株式会社パロマ
ガスコンロ
1日前
株式会社パロマ
加熱調理装置
29日前
株式会社パロマ
加熱調理装置
1か月前
株式会社パロマ
監視システム
今日
株式会社パロマ
食器洗浄機用ブースター
1日前
株式会社パロマ
食器洗浄機用ブースター
1か月前
株式会社パロマ
食器洗浄機用ブースター
1か月前
株式会社パロマ
加熱調理装置及び製造方法
1か月前
株式会社パロマ
給湯器の製造方法及び給湯器
1か月前
株式会社パロマ
アフターバーナ及び加熱調理装置
29日前
株式会社パロマ
ヒートポンプ熱源機及び給湯システム
29日前
株式会社パロマ
ヒートポンプ熱源機及び給湯システム
29日前
株式会社パロマ
ガスコンロの製造方法およびガスコンロ
28日前
株式会社パロマ
給湯暖房機
21日前
個人
集熱器具
21日前
株式会社トヨトミ
五徳
1か月前
個人
UFO型空気清浄機
9日前
株式会社コロナ
空調装置
1か月前
株式会社コロナ
空調装置
2か月前
株式会社コロナ
空調装置
1か月前
株式会社コロナ
空調装置
3か月前
個人
油ハネ防止カーテン
24日前
株式会社コロナ
空調装置
1か月前
株式会社コロナ
給湯装置
4か月前
株式会社コロナ
空調装置
2か月前
株式会社コロナ
加湿装置
2か月前
株式会社コロナ
風呂給湯機
2か月前
株式会社コロナ
空気調和機
4か月前
続きを見る
他の特許を見る