TOP
|
特許
|
意匠
|
商標
特許ウォッチ
Twitter
他の特許を見る
公開番号
2025162242
公報種別
公開特許公報(A)
公開日
2025-10-27
出願番号
2024065388
出願日
2024-04-15
発明の名称
ガスコンロ
出願人
大阪瓦斯株式会社
代理人
個人
主分類
F24C
3/12 20060101AFI20251020BHJP(加熱;レンジ;換気)
要約
【課題】バーナが自動的に点火する場合の着衣着火や可燃物への着火を十分に低減することができるガスコンロを提供する。
【解決手段】バーナ3の火炎Fの側周囲を囲う状態で天板1の上面の所定の設置位置に設置可能なカバー体14と、カバー体14が設置位置に設置されていることを検知するカバー体検知手段16とが備えられ、制御手段20は、カバー体検知手段16によりカバー体14が設置位置に設置されていると検知されているときに自動点火運転の実行を許可し、カバー体検知手段16によりカバー体14が設置位置に設置されていると検知されていないときに自動点火運転の実行を禁止する自動点火運転可否判定処理を実行する。
【選択図】図1
特許請求の範囲
【請求項1】
平板状の天板と、
前記天板の上面に載置された被加熱物を加熱するバーナと、
前記バーナの作動を制御する制御手段とが備えられ、
前記制御手段が、前記バーナを自動的に点火させて前記被加熱物を加熱する自動点火運転を実行可能に構成されているガスコンロであって、
前記バーナの火炎の側周囲を囲う状態で前記天板の上面の所定の設置位置に設置可能なカバー体と、
前記カバー体が前記設置位置に設置されていることを検知するカバー体検知手段とが備えられ、
前記制御手段は、前記カバー体検知手段により前記カバー体が前記設置位置に設置されていると検知されているときに前記自動点火運転の実行を許可し、前記カバー体検知手段により前記カバー体が前記設置位置に設置されていると検知されていないときに前記自動点火運転の実行を禁止する自動点火運転可否判定処理を実行するガスコンロ。
続きを表示(約 200 文字)
【請求項2】
前記自動点火運転が実行されていることを使用者に報知する報知手段が備えられている請求項1に記載のガスコンロ。
【請求項3】
前記カバー体の前記設置位置への設置をガイドするガイド手段を備え、
前記ガイド手段が、前記天板の上面と前記カバー体の下端とを磁着させる磁着部を、周方向に沿った複数個所に分散配置して構成されている請求項1又は2に記載のガスコンロ。
発明の詳細な説明
【技術分野】
【0001】
本発明は、平板状の天板と、前記天板の上面に載置された被加熱物を加熱するバーナと、前記バーナの作動を制御する制御手段とが備えられているガスコンロに関する。
続きを表示(約 1,700 文字)
【背景技術】
【0002】
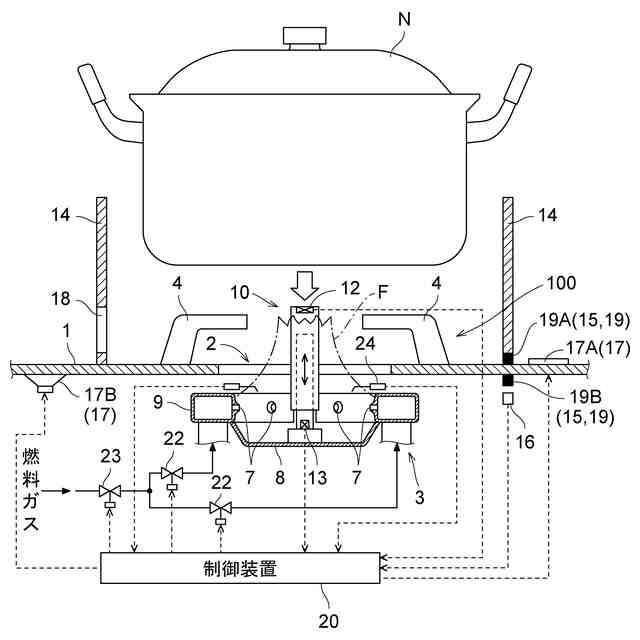
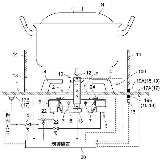
特許文献1には、平板状の天板(1)と、天板の上面に載置された被加熱物(N)を加熱するバーナ(3)と、バーナの作動を制御する制御手段(制御装置20)とを備え、制御手段が、バーナを自動的に点火させて被加熱物を加熱する自動点火運転(保温モード)を実行可能に構成されているガスコンロが示されている。
【0003】
このガスコンロの自動点火運転では、バーナの点火と消火とを自動的に繰り返し行うことで、被加熱物を間欠的に加熱して保温するようになっている。
【先行技術文献】
【特許文献】
【0004】
特開2005-201598号公報
【発明の概要】
【発明が解決しようとする課題】
【0005】
しかし、このようなガスコンロでは、使用者による点火操作を伴うことなく自動的にバーナが点火されるので、このようなバーナの自動点火時において、使用者の着衣や周囲の可燃物への着火(以下「着衣着火等」と呼ぶ場合がある。)を防止する必要がある。上記特許文献1記載のガスコンロでは、バーナの自動点火時における着衣着火等を防止するために、天板上に被加熱物がない場合には点火を行わないという工夫はされている。しかしながら、そのような工夫だけではバーナの自動点火時における着衣着火等を確実に防止することが難しい場合があった。
【0006】
この実情に鑑み、本発明の主たる課題は、バーナの自動点火時における着衣着火等を確実に防止することができるガスコンロを提供する点にある。
【課題を解決するための手段】
【0007】
本発明の第1特徴構成は、平板状の天板と、
前記天板の上面に載置された被加熱物を加熱するバーナと、
前記バーナの作動を制御する制御手段とが備えられ、
前記制御手段が、前記バーナを自動的に点火させて前記被加熱物を加熱する自動点火運転を実行可能に構成されているガスコンロであって、
前記バーナの火炎の側周囲を囲う状態で前記天板の上面の所定の設置位置に設置可能なカバー体と、
前記カバー体が前記設置位置に設置されていることを検知するカバー体検知手段とが備えられ、
前記制御手段は、前記カバー体検知手段により前記カバー体が前記設置位置に設置されていると検知されているときに前記自動点火運転の実行を許可し、前記カバー体検知手段により前記カバー体が前記設置位置に設置されていると検知されていないときに前記自動点火運転の実行を禁止する自動点火運転可否判定処理を実行する点にある。
【0008】
本構成によれば、保温や自動調理や予約調理等においてバーナを自動的に点火させて被加熱物を加熱する自動点火運転を実行する場合は、カバー体が設置位置に設置されている状態で行われているため、そのカバー体によってバーナの火炎の側周囲が囲われており、自動点火運転において使用者の点火操作を伴うことなく自動点火されて形成されるバーナの火炎は、使用者側に露出された裸火とはならずカバー体によって外部からの接触が遮断された状態となる。よって、バーナの自動点火時における着衣着火等を確実に防止することができる。
【0009】
本発明の第2特徴構成は、前記自動点火運転が実行されていることを使用者に報知する報知手段が備えられている点にある。
【0010】
本構成によれば、自動点火運転が実行されている場合は報知手段によって報知されるため、バーナの側周囲がカバー体で囲われておりバーナの状態が視認できない又は視認し難い状態であっても、自動点火運転の実行によりバーナが自動的に点火されることを使用者に認識させることができ、例えば、自動点火運転が実行されて自動的にバーナが点火されている状態において使用者が誤ってカバーを取り外そうとしたことによる着衣着火も回避できる。
(【0011】以降は省略されています)
この特許をJ-PlatPat(特許庁公式サイト)で参照する
関連特許
大阪瓦斯株式会社
継手
9日前
大阪瓦斯株式会社
蓄電装置
2か月前
大阪瓦斯株式会社
給湯装置
1か月前
大阪瓦斯株式会社
探査装置
1か月前
大阪瓦斯株式会社
燃焼装置
1か月前
大阪瓦斯株式会社
フライヤー
1か月前
大阪瓦斯株式会社
撥水性塗料
1か月前
大阪瓦斯株式会社
ガスコンロ
25日前
大阪瓦斯株式会社
ガスコンロ
1か月前
大阪瓦斯株式会社
音声出力装置
1か月前
大阪瓦斯株式会社
ガラス複合体
1か月前
大阪瓦斯株式会社
警報システム
1か月前
大阪瓦斯株式会社
警報システム
1か月前
大阪瓦斯株式会社
動作制御装置
1か月前
大阪瓦斯株式会社
蓄電制御装置
1か月前
大阪瓦斯株式会社
管理システム
1か月前
大阪瓦斯株式会社
酸化物複合体
1か月前
大阪瓦斯株式会社
高耐熱組成物
1か月前
大阪瓦斯株式会社
ガラス複合体
1か月前
大阪瓦斯株式会社
鮮度維持装置
2か月前
大阪瓦斯株式会社
地中給電設備
2か月前
大阪瓦斯株式会社
制御システム
1か月前
大阪瓦斯株式会社
異常診断装置
2か月前
大阪瓦斯株式会社
異常診断装置
2か月前
大阪瓦斯株式会社
異常診断装置
2か月前
大阪瓦斯株式会社
異常診断装置
2か月前
大阪瓦斯株式会社
異常診断装置
2か月前
大阪瓦斯株式会社
異常診断装置
2か月前
大阪瓦斯株式会社
異常診断装置
2か月前
大阪瓦斯株式会社
異常診断装置
2か月前
大阪瓦斯株式会社
異常診断装置
2か月前
大阪瓦斯株式会社
燃料電池装置
2か月前
大阪瓦斯株式会社
蓄電制御装置
1か月前
大阪瓦斯株式会社
熱供給システム
1か月前
大阪瓦斯株式会社
蓄電池管理装置
1か月前
大阪瓦斯株式会社
充放電中継装置
15日前
続きを見る
他の特許を見る