TOP
|
特許
|
意匠
|
商標
特許ウォッチ
Twitter
他の特許を見る
公開番号
2025150466
公報種別
公開特許公報(A)
公開日
2025-10-09
出願番号
2024051343
出願日
2024-03-27
発明の名称
制御装置
出願人
ブラザー工業株式会社
代理人
名古屋国際弁理士法人
主分類
B41J
29/00 20060101AFI20251002BHJP(印刷;線画機;タイプライター;スタンプ)
要約
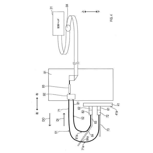
【課題】フレキシブルフラットケーブルから放射されるノイズの発生を抑制する。
【解決手段】画像形成装置は、メイン基板41とキャリッジ基板とFFC51,52とを備える。FFC51,52はそれぞれ、湾曲部71a,81aを備え、湾曲部71a,81aからキャリッジ基板までの間において規制部材92へ向かって延びる。湾曲部71a,81aの内側を向く方向を第1方向DIとして、基板側コネクタ61および規制部材92は湾曲部71aの第1方向DIに配置される。基板側コネクタ62および規制部材92は湾曲部81aの第1方向DIに配置される。湾曲部81aは、第1方向DIにおいて、湾曲部71aと基板側コネクタ62との間に配置される。FFC52は、基板側コネクタ62から湾曲部81aまでの間の位置からFFC51へ向かって延びる延出部材84を備える。
【選択図】図4
特許請求の範囲
【請求項1】
予め設定された制御対象を制御する制御装置であって、
電気信号を入出力するための第1接続部および第2接続部を備える第1基板と、
電気信号を入出力するための第3接続部および第4接続部を備える第2基板と、
一端が前記第1基板の前記第1接続部に接続され、他端が前記第2基板の前記第3接続部に接続される第1フレキシブルフラットケーブルと、
一端が前記第1基板の前記第2接続部に接続され、他端が前記第2基板の前記第4接続部に接続される第2フレキシブルフラットケーブルと
を備え、
前記第1フレキシブルフラットケーブルは、前記第1基板から前記第2基板までの間で湾曲する第1湾曲部を備え、前記第1湾曲部から前記第2基板までの間において、前記第1フレキシブルフラットケーブルを前記制御装置の本体に支持する第1支持部へ向かって延び、
前記第2フレキシブルフラットケーブルは、前記第1基板から前記第2基板までの間で湾曲する第2湾曲部を備え、前記第2湾曲部から前記第2基板までの間において、前記第2フレキシブルフラットケーブルを前記制御装置の前記本体に支持する第2支持部へ向かって延び、
前記第1湾曲部および前記第2湾曲部の内側を向く方向を第1方向として、前記第1接続部および前記第1支持部は、前記第1湾曲部の前記第1方向に配置され、
前記第2接続部および前記第2支持部は、前記第2湾曲部の前記第1方向に配置され、
前記第2湾曲部は、前記第1方向において、前記第1湾曲部と前記第2接続部との間に配置され、
前記第2フレキシブルフラットケーブルは、前記第1基板の前記第2接続部から前記第2湾曲部までの間の位置から前記第1フレキシブルフラットケーブルへ向かって延びる延出部材を備える制御装置。
続きを表示(約 590 文字)
【請求項2】
請求項1に記載の制御装置であって、
前記延出部材は、前記第2フレキシブルフラットケーブルにおいて前記第2接続部に接続される側の端部の付近に設置されて前記第2フレキシブルフラットケーブルを補強する補強板と同じ材質で形成されている制御装置。
【請求項3】
請求項2に記載の制御装置であって、
前記延出部材は、前記補強板から前記第1フレキシブルフラットケーブルへ向かって延びる制御装置。
【請求項4】
請求項1~請求項3の何れか1項に記載の制御装置であって、
前記延出部材は、前記第2接続部を挟んで前記第1接続部とは反対側に配置されるようにして前記第1フレキシブルフラットケーブルへ向かって延びる制御装置。
【請求項5】
請求項1~請求項3の何れか1項に記載の制御装置であって、
前記延出部材には、前記第1フレキシブルフラットケーブルの一部を内部に収容するケーブル収容部が形成される制御装置。
【請求項6】
請求項1~請求項3の何れか1項に記載の制御装置であって、
前記延出部材は、前記第2接続部から前記第2湾曲部までの間の位置から延びる第1部材と、前記第1部材が延びる第1延出方向とは異なる第2延出方向に沿って前記第1部材から延びる第2部材とを備える制御装置。
発明の詳細な説明
【技術分野】
【0001】
本開示は、フレキシブルフラットケーブルを備える制御装置に関する。
続きを表示(約 1,100 文字)
【背景技術】
【0002】
特許文献1には、インクジェットヘッドと制御基板との間で帯状の2本のフレキシブルフラットケーブルが互いに重ね合わされた状態で接続されるプリンタが記載されている。
【先行技術文献】
【特許文献】
【0003】
特開2014-195971号公報
【発明の概要】
【発明が解決しようとする課題】
【0004】
2本のフレキシブルフラットケーブルを制御基板に組付ける際に、2本のフレキシブルフラットケーブルの間の距離が変化することで、フレキシブルフラットケーブルから放射されるノイズが増大することがあるという問題があった。
【0005】
本開示は、フレキシブルフラットケーブルから放射されるノイズの発生を抑制することを目的とする。
【課題を解決するための手段】
【0006】
本開示の一態様は、予め設定された制御対象を制御する制御装置であって、第1基板と、第2基板と、第1フレキシブルフラットケーブルと、第2フレキシブルフラットケーブルとを備える。
【0007】
第1基板は、電気信号を入出力するための第1接続部および第2接続部を備える。
第2基板は、電気信号を入出力するための第3接続部および第4接続部を備える。
第1フレキシブルフラットケーブルは、一端が第1基板の第1接続部に接続され、他端が第2基板の第3接続部に接続される。
【0008】
第2フレキシブルフラットケーブルは、一端が第1基板の第2接続部に接続され、他端が第2基板の第4接続部に接続される。
第1フレキシブルフラットケーブルは、第1基板から第2基板までの間で湾曲する第1湾曲部を備え、第1湾曲部から第2基板までの間において、第1フレキシブルフラットケーブルを制御装置の本体に支持する第1支持部へ向かって延びる。
【0009】
第2フレキシブルフラットケーブルは、第1基板から第2基板までの間で湾曲する第2湾曲部を備え、第2湾曲部から第2基板までの間において、第2フレキシブルフラットケーブルを制御装置の本体に支持する第2支持部へ向かって延びる。
【0010】
第1湾曲部および第2湾曲部の内側を向く方向を第1方向として、第1接続部および第1支持部は、第1湾曲部の第1方向に配置される。
第2接続部および第2支持部は、第2湾曲部の第1方向に配置される。
(【0011】以降は省略されています)
この特許をJ-PlatPat(特許庁公式サイト)で参照する
関連特許
ブラザー工業株式会社
印刷装置
6日前
ブラザー工業株式会社
画像形成装置
1日前
ブラザー工業株式会社
液体吐出装置
6日前
ブラザー工業株式会社
液滴吐出ヘッド
8日前
ブラザー工業株式会社
液体吐出ヘッド
6日前
ブラザー工業株式会社
情報処理プログラム
6日前
ブラザー工業株式会社
印刷カセット収納体
今日
ブラザー工業株式会社
タンクおよび液体吐出装置
6日前
ブラザー工業株式会社
プログラムおよび情報処理装置
6日前
ブラザー工業株式会社
画像処理装置及び認証処理プログラム
1日前
ブラザー工業株式会社
プログラム、および、データ処理装置
6日前
ブラザー工業株式会社
サポートプログラムおよび印刷システム
6日前
ブラザー工業株式会社
液滴吐出装置、その制御方法及びプログラム
今日
ブラザー工業株式会社
コンピュータプログラム、および、データ処理装置
6日前
ブラザー工業株式会社
液体吐出装置用ヘッド及びこれを備える液体吐出装置
6日前
ブラザー工業株式会社
サポートプログラム
6日前
ブラザー工業株式会社
端末装置のためのコンピュータプログラム、端末装置、及び、端末装置を制御するための方法
6日前
ブラザー工業株式会社
端末装置のためのコンピュータプログラム、端末装置、及び、端末装置を制御するための方法
6日前
個人
箔熱転写装置
2か月前
シヤチハタ株式会社
印判
6か月前
東レ株式会社
凸版印刷版原版
11か月前
シヤチハタ株式会社
反転式印判
10か月前
三光株式会社
感熱記録材料
8か月前
キヤノン株式会社
電子機器
27日前
独立行政法人 国立印刷局
印刷物
8か月前
キヤノン株式会社
記録装置
2か月前
株式会社リコー
液体吐出装置
7か月前
独立行政法人 国立印刷局
貼付機構
3か月前
株式会社リコー
印刷システム
2か月前
株式会社リコー
画像形成装置
2か月前
株式会社リコー
液体吐出装置
5か月前
日本製紙株式会社
感熱記録体
9か月前
株式会社リコー
液体吐出装置
3か月前
株式会社リコー
液体吐出装置
9か月前
株式会社リコー
画像形成装置
2か月前
株式会社リコー
画像形成装置
2か月前
続きを見る
他の特許を見る