TOP
|
特許
|
意匠
|
商標
特許ウォッチ
Twitter
他の特許を見る
公開番号
2025149469
公報種別
公開特許公報(A)
公開日
2025-10-08
出願番号
2024050135
出願日
2024-03-26
発明の名称
印刷装置
出願人
ブラザー工業株式会社
代理人
弁理士法人i-MIRAI
,
個人
,
個人
,
個人
主分類
B41J
2/01 20060101AFI20251001BHJP(印刷;線画機;タイプライター;スタンプ)
要約
【課題】V光照射部から照射され、媒体上で反射したUV光が、UV硬化型インクを吐出するヘッドのインク吐出面に到達するのを妨げることができる印刷装置を提供する。
【解決手段】
プリンタ100は、第1ヘッドアセンブリ1Aと、第1UV光照射機2aとを備える。第1ヘッドアセンブリ1Aは、UV硬化型インクを吐出するノズルNが形成されたノズル面12aを有する。第1UV光照射機2aは、第1ヘッドアセンブリ1Aに対して媒体Mの搬送方向の下流に位置し且つUV光を放射する、放射面22aを有する。放射面22aから放射されるUV光の光軸OAは、ノズルNから吐出されるUV硬化型インクの吐出方向から搬送方向の下流に遠ざかるように、UV硬化型インクの吐出方向に対して傾斜している。
【選択図】図6
特許請求の範囲
【請求項1】
印刷装置であって、
ノズルが形成されたノズル面を有し、搬送方向に搬送される媒体に対して前記ノズルからUV硬化型インクを吐出するための第1ヘッドが、第1方向の一方の端部に位置する第1ヘッドアセンブリと、
前記第1ヘッドアセンブリに対して前記搬送方向の下流に位置し、且つUV光を放射する放射面が、前記第1方向の前記一方の端部に位置する第1UV光照射機とを備え、
前記放射面から放射される前記UV光の光軸が、前記ノズルから吐出される前記UV硬化型インクの吐出方向から前記搬送方向の下流に遠ざかるように、前記UV硬化型インクの吐出方向に対して傾斜している、印刷装置。
続きを表示(約 1,000 文字)
【請求項2】
前記搬送方向において、前記第1ヘッドと前記放射面との間に位置するバッフルをさらに備える、請求項1に記載の印刷装置。
【請求項3】
前記バッフルは、前記第1方向及び前記搬送方向と直交する方向から見た形状が櫛歯状である、請求項2に記載の印刷装置。
【請求項4】
前記バッフルと前記放射面とは、前記搬送方向に離隔されている、請求項3に記載の印刷装置。
【請求項5】
前記媒体を、その周面にて前記搬送方向に搬送する搬送ローラをさらに備え、
前記放射面は前記搬送ローラの前記周面に対向している、請求項1に記載の印刷装置。
【請求項6】
前記UV光の光軸は、前記搬送ローラの回転中心に対して前記搬送方向の下流側にずれている、請求項5に記載の印刷装置。
【請求項7】
前記第1ヘッドアセンブリに対して前記搬送方向の上流に位置する第2ヘッドアセンブリと、
前記搬送方向において、前記第1ヘッドアセンブリと前記第2ヘッドアセンブリとの間に位置する第2UV光照射機とをさらに備え、
前記第2ヘッドアセンブリの前記第1方向の前記一方の端部には、ノズルが形成されたノズル面を有し、前記搬送方向に搬送される前記媒体に対して前記ノズルから前記UV硬化型インクを吐出する第2ヘッドが位置し、
前記第2UV光照射機の前記第1方向の前記一方の端部には、前記UV光を放射する放射面が位置し、
前記第2UV光照射機の前記放射面から放射される前記UV光の光軸と、前記第2ヘッドの前記ノズルから吐出される前記UV硬化型インクの吐出方向とが平行である、請求項1に記載の印刷装置。
【請求項8】
前記搬送方向において、前記第2ヘッドアセンブリと前記第2UV光照射機との間に位置するミストコレクタをさらに備え、
前記搬送方向において、前記第1ヘッドアセンブリと前記第1UV光照射機との間には前記ミストコレクタが存在しない、請求項7に記載の印刷装置。
【請求項9】
前記放射面の、前記UV光の光軸に対して垂直な方向の長さをL、前記放射面と前記UV光の光軸との交点から前記UV光の光軸と前記搬送ローラの前記周面との交点までの距離をH、前記UV光の光軸と前記UV光の前記搬送ローラの前記周面における反射光との角度をθとしたとき、
θ>arctan(L/(2H))を満たす、請求項6に記載の印刷装置。
発明の詳細な説明
【技術分野】
【0001】
本発明は、UV硬化型インクを用いて媒体に画像を印刷するよう構成された印刷装置に関する。
続きを表示(約 2,300 文字)
【背景技術】
【0002】
従来、媒体上にUV硬化型インクを吐出し、媒体上のUV硬化型インクにUV光を照射することにより、UV硬化型インクを媒体上に定着させる印刷装置が存在する。このような印刷装置において、UV硬化型インクの吐出時に発生するミストがUV光照射部に付着することを妨げる従来技術が存在する(特許文献1)。この従来技術では、UV硬化型インクを吐出するヘッドと、UV光照射部との間に、吸引部が位置する。そして、UV硬化型インクの吐出時に発生するミストを吸引部で吸引することにより、UV硬化型インクのミストがUV光照射部に付着することを妨げている。
【先行技術文献】
【特許文献】
【0003】
特開2020-185697号公報
【発明の概要】
【発明が解決しようとする課題】
【0004】
しかしながら、上記の従来技術では、UV光照射部のUV光照射面が、ヘッドに向かって傾いている。この場合、UV光照射部から出射され媒体上で反射したUV光が、ヘッドのインク吐出面に届きやすくなる。インク吐出面にはUV硬化型インクを吐出するノズル開口が形成されているため、UV光がインク吐出面に届くと、ノズル開口に形成されたUV硬化型インクのメニスカスが硬化し、インクの吐出不良が発生する可能性がある。
【0005】
本発明は、上記のような課題を解決するためになされたものであり、UV光照射部から照射され、媒体上で反射したUV光が、UV硬化型インクを吐出するヘッドのインク吐出面に到達するのを妨げることができる印刷装置を提供することを目的とする。
【課題を解決するための手段】
【0006】
本発明の態様に従えば、ノズルが形成されたノズル面を有し、搬送方向に搬送される媒体に対して前記ノズルからUV硬化型インクを吐出するための第1ヘッドが、第1方向の一方の端部に位置する第1ヘッドアセンブリと、前記第1ヘッドアセンブリに対して前記搬送方向の下流に位置し、且つUV光を放射する放射面が、前記第1方向の前記一方の端部に位置する第1UV光照射機とを備える、印刷装置が提供される。前記放射面から放射される前記UV光の光軸は、前記ノズルから吐出される前記UV硬化型インクの吐出方向から前記搬送方向の下流に遠ざかるように、前記UV硬化型インクの吐出方向に対して傾斜している。
【発明の効果】
【0007】
第1UV光照射機の放射面から放射されるUV光の光軸が、第1ヘッドのノズルから吐出されるUV硬化型インクの吐出方向から搬送方向の下流に遠ざかるように、UV硬化型インクの吐出方向に対して傾斜している。このため、第1UV光照射機の放射面から放射され、媒体上で反射したUV光が、第1ヘッドのノズル面に到達するのを妨げることができる。
【図面の簡単な説明】
【0008】
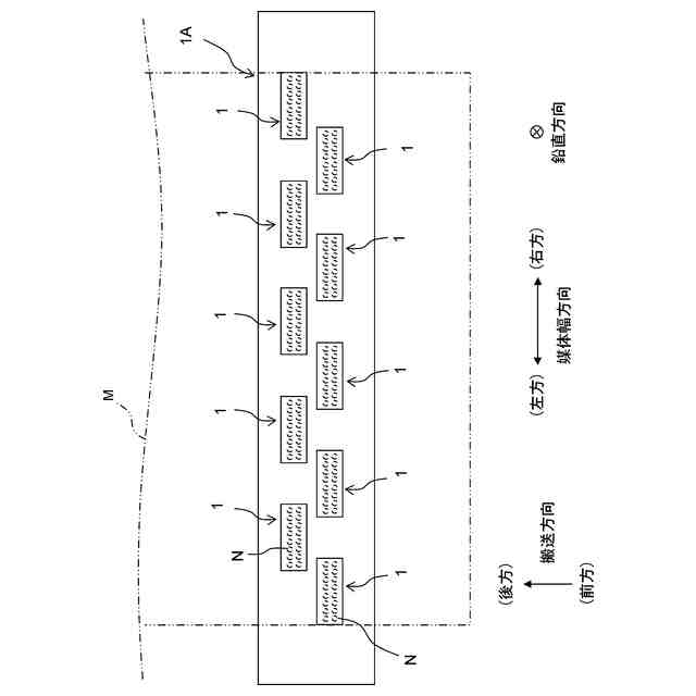
本発明のプリンタ100の概略を示す平面図である。
プリンタ100の概略を示す側面図である。
プリンタ100の電気的構成を示すブロック図である。
ヘッドアセンブリ1Aの概略を示す平面図である。
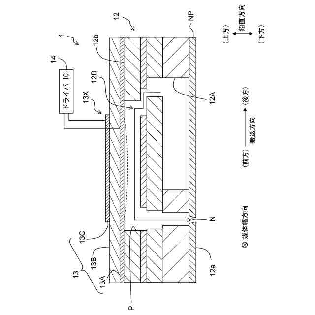
流路部材12及びアクチュエータ部材13の概略構成を示す図である。
UV光照射機2aから放射されるUV光の光軸OAが、ヘッドアセンブリ1Aから吐出されるUV硬化型インクの吐出方向に対して傾斜している様子を示す図である。
UV光照射機2aの下方の端部付近の構成を示す図である。
UV光照射機2aから放射されるUV光の光軸OAとその正反射光との関係を説明するための図である。
【発明を実施するための形態】
【0009】
[プリンタ100の全体構成]
本発明の実施形態に係るプリンタ100は、図1に示すように、筐体100aと、8個のヘッドアセンブリ1A~1Hと、3個のUV光照射機2a、2b、2cと、2個のミストコレクタ3a、3bと、搬送機構4と、コントローラ5とを主に備えている。8個のヘッドアセンブリ1A~1Hと、3個のUV光照射機2a、2b、2cと、2個のミストコレクタ3a、3bと、搬送機構4と、コントローラ5とは、筐体100a内に配置されている。プリンタ100は、さらに、筐体100aの外面に配置されたボタンで構成される、入力部を備えている。
【0010】
図1及び図2に示すように、8個のヘッドアセンブリ1A~1Hは、搬送方向の下流側からこの順に並べられている。搬送方向は、例えばロール紙等の媒体Mが搬送機構4の複数の搬送ローラ43によって搬送される方向である。図1に示すように、ヘッドアセンブリ1A~1Hの各々は、媒体幅方向に長い。媒体幅方向は、媒体Mの幅に沿った方向であり、鉛直方向及び搬送方向と直交する。ヘッドアセンブリ1A~1Hの各々は、位置が固定された状態で媒体Mに対してインクを吐出するライン式である。例えば、搬送方向の下流側(後方)から6個のヘッドアセンブリ1A~1Fにはそれぞれ、ブラック、シアン、バイオレット、マゼンタ、オレンジ、イエローのインクが供給され、残りの2個のヘッドアセンブリ1G、1Hにはホワイトのインクが供給される。いずれの色のインクも、紫外線(UV光)の照射によって硬化する紫外線硬化型インク(UV硬化型インク)が用いられる。
(【0011】以降は省略されています)
この特許をJ-PlatPat(特許庁公式サイト)で参照する
関連特許
ブラザー工業株式会社
印刷装置
4日前
ブラザー工業株式会社
印刷装置
16日前
ブラザー工業株式会社
画像形成装置
3日前
ブラザー工業株式会社
画像形成装置
3日前
ブラザー工業株式会社
画像形成装置
3日前
ブラザー工業株式会社
画像形成装置
3日前
ブラザー工業株式会社
サポートプログラム
3日前
ブラザー工業株式会社
サポートプログラム
3日前
ブラザー工業株式会社
プリンタおよびプログラム
5日前
ブラザー工業株式会社
プリンタおよびプログラム
5日前
ブラザー工業株式会社
プログラム、データ処理装置、および、データ処理方法
5日前
ブラザー工業株式会社
通信システム、サーバ、および、コンピュータプログラム
3日前
ブラザー工業株式会社
プリンタ
18日前
ブラザー工業株式会社
画像形成装置
9日前
ブラザー工業株式会社
情報処理プログラム、情報処理装置、情報処理方法、印刷プログラム、印刷装置、及び印刷方法
5日前
個人
箔熱転写装置
1か月前
シヤチハタ株式会社
印判
5か月前
東レ株式会社
凸版印刷版原版
10か月前
シヤチハタ株式会社
反転式印判
9か月前
三菱製紙株式会社
感熱記録材料
11か月前
独立行政法人 国立印刷局
印刷物
7か月前
三光株式会社
感熱記録材料
6か月前
キヤノン株式会社
記録装置
1か月前
株式会社リコー
印刷システム
1か月前
株式会社リコー
液体吐出装置
5か月前
株式会社リコー
画像形成装置
1か月前
株式会社リコー
液体吐出装置
8か月前
株式会社リコー
液体吐出装置
4か月前
株式会社リコー
画像形成装置
1か月前
独立行政法人 国立印刷局
貼付機構
2か月前
株式会社リコー
液体吐出装置
8か月前
株式会社リコー
液体吐出装置
2か月前
株式会社リコー
液体吐出装置
5か月前
株式会社リコー
液体吐出装置
6か月前
株式会社リコー
画像形成装置
1か月前
株式会社リコー
液体吐出装置
9か月前
続きを見る
他の特許を見る