TOP
|
特許
|
意匠
|
商標
特許ウォッチ
Twitter
他の特許を見る
10個以上の画像は省略されています。
公開番号
2025149852
公報種別
公開特許公報(A)
公開日
2025-10-08
出願番号
2024200013
出願日
2024-11-15
発明の名称
画像形成装置
出願人
ブラザー工業株式会社
代理人
弁理士法人第一テクニカル国際特許事務所
主分類
B65H
29/60 20060101AFI20251001BHJP(運搬;包装;貯蔵;薄板状または線条材料の取扱い)
要約
【課題】定着器を容易に着脱できるとともに、搬送詰まりが生じてもユーザ処理の労力負担を少なくする。
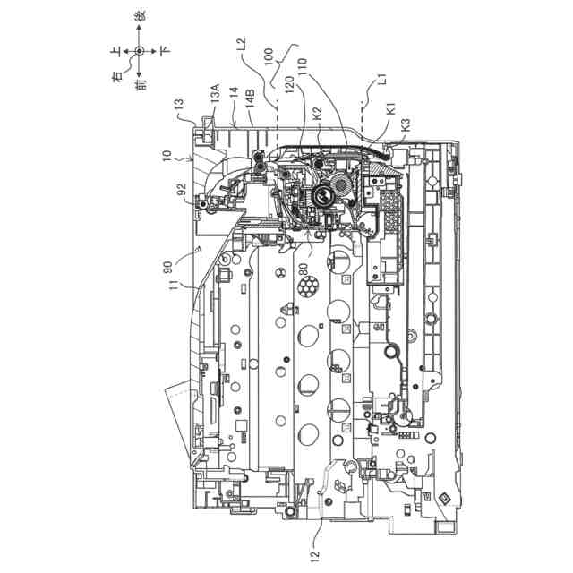
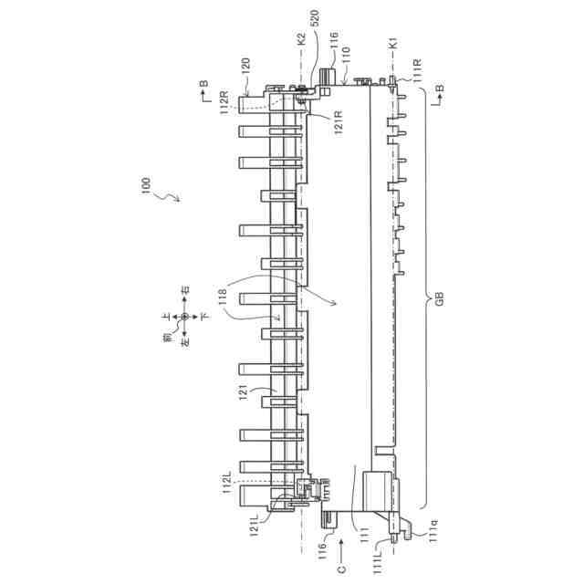
【解決手段】画像形成装置1は、本体筐体10に着脱可能に構成された定着器80と、開口13Aを閉じる閉位置と開く開位置とに切替可能な外装カバー14と、定着器80と外装カバー14との間に設けられ、シートPを画像形成部30に案内するシートガイド100と、を備え、シートガイド100は、第1ガイド軸心K1を中心に回動可能に支持される根元部110と、第2ガイド軸心K2を中心に回動可能に支持される先端部120と、を有し、第1ガイド軸心K1を中心に回動して、定着器80に近接した使用位置と、使用位置から本体筐体10の外側に回動した退避位置とに切替可能で、使用位置にあるとき、第1ガイド軸心K1は定着器80と外装カバー14との間に位置せず、第2ガイド軸心K2は定着器80と外装カバー14との間に位置する。
【選択図】図2
特許請求の範囲
【請求項1】
開口を有する本体筐体と、
シートに現像剤像を形成する画像形成部と、
前記開口を通して前記本体筐体に着脱可能に構成され、前記シートに前記現像剤像を定着させる定着器と、
前記開口を閉じる閉位置と前記開口を開く開位置とに切替可能な外装カバーと、
前記定着器と前記外装カバーとの間に設けられ、前記定着器から排出された前記シートを前記画像形成部に案内するシートガイドと、
を備え、
前記シートガイドは、
第1軸心を中心に前記本体筐体に回動可能に支持される根元部と、
第2軸心を中心に前記根元部に回動可能に支持される先端部と、
を有し、
前記シートガイドは、
前記第1軸心を中心に回動して、前記定着器に近接した使用位置と、前記使用位置から前記本体筐体の外側に回動した退避位置とに切替可能で、
前記使用位置にあるとき、前記第1軸心は前記定着器と前記外装カバーとの間に位置せず、前記第2軸心は前記定着器と前記外装カバーとの間に位置する
ことを特徴とする画像形成装置。
続きを表示(約 1,300 文字)
【請求項2】
前記シートガイドは、
前記使用位置にあるとき、前記先端部が前記定着器に近づくように付勢するバネを有する
ことを特徴とする請求項1記載の画像形成装置。
【請求項3】
前記バネは、ねじりコイルバネであり、
前記第2軸心は、前記バネのコイル状の形状の中に位置する
ことを特徴とする請求項2記載の画像形成装置。
【請求項4】
前記根元部は、
前記第1軸心に沿った一方側と他方側との両端に、当該第1軸心上において互いに反対側を向くようにそれぞれ突出する2つの第1ボスを有し、
前記本体筐体は、
前記2つの第1ボスがそれぞれ挿入される2つの第1孔を有する
ことを特徴とする請求項1記載の画像形成装置。
【請求項5】
前記先端部は、
前記第2軸心に沿った一方側と他方側との両端に、当該第2軸心上において互いに向かい合うようにそれぞれ突出する2つの第2ボスを有し、
前記根元部は、
前記一方側と前記他方側との両端に、前記2つの第2ボスがそれぞれ挿入される2つの第2孔を有する
ことを特徴とする請求項1記載の画像形成装置。
【請求項6】
前記根元部の前記一方側の第2孔は、
円形の貫通孔と、
前記貫通孔に沿って延び、前記貫通孔から径方向外側に凹む係合溝と、
を有し、
前記先端部の前記一方側の第2ボスは、
円柱形のボス本体と、
前記ボス本体から径方向外側に突出し、前記係合溝を貫通して組付けられた状態において前記一方側の第2孔のさらに当該一方側の縁部に接する係合突起と、
を有する
ことを特徴とする請求項5記載の画像形成装置。
【請求項7】
前記根元部は、
前記他方側の第2孔から径方向外側に離れた位置において前記第2軸心に向かって突出する突出壁部を有し、
前記先端部は、
前記他方側の第2ボスから径方向外側に突出して前記突出壁部に当接可能な当接突起部を有する
ことを特徴とする請求項5記載の画像形成装置。
【請求項8】
前記外装カバーは、
前記閉位置にあるとき、前記シートガイドを前記使用位置に位置させるよう押圧する押圧部を有し、
前記根元部は、
前記押圧部に接する被押圧部を有する
ことを特徴とする請求項1記載の画像形成装置。
【請求項9】
前記根元部は、
前記使用位置にあるとき前記外装カバー側を向き、前記定着器から排出された前記シートに接して前記画像形成部へと案内する案内領域を備えた外側ガイド面をさらに有し、
前記被押圧部は、
前記シートの幅方向において前記根元部のうち前記案内領域の外側に位置する
ことを特徴とする請求項8記載の画像形成装置。
【請求項10】
前記被押圧部は、
前記外装カバーに向かう突出形状を備えている
ことを特徴とする請求項8記載の画像形成装置。
(【請求項11】以降は省略されています)
発明の詳細な説明
【技術分野】
【0001】
本発明は、定着器から排出されたシートを案内するシートガイドを備えた画像形成装置に関する。
続きを表示(約 1,800 文字)
【背景技術】
【0002】
従来、例えば特許文献1に記載のように、定着器を抜けたシートを両面印刷のための再搬送経路に案内するフラッパを有する画像形成装置が知られている。
【先行技術文献】
【特許文献】
【0003】
特開2014-024664号公報
【発明の概要】
【発明が解決しようとする課題】
【0004】
特許文献1に記載の画像形成装置において、フラッパは、片面印刷と両面印刷とで搬送経路を切り替えるため、揺動軸を中心に揺動可能である。揺動軸は定着器とカバーとの間にあるため、仮にカバーを開けて定着器を着脱可能に構成する場合には、フラッパがカバーに支持される構成となる。
【0005】
しかしながら、上記構成において、仮に両面印刷の途中でフラッパにおいて搬送詰まりが起こった場合、カバーを開くと用紙が詰まった状態のままのフラッパも一緒に開かれることになる。そのため、詰まり解消処理のためのユーザの労力負担が大きいという問題があった。
【0006】
本発明の目的は、定着器を容易に着脱できるとともに、搬送詰まりが生じてもユーザ処理の労力負担が少ない画像形成装置を提供することにある。
【課題を解決するための手段】
【0007】
上記した目的を達成するため、本発明の画像形成装置は、開口を有する本体筐体と、シートに現像剤像を形成する画像形成部と、前記開口を通して前記本体筐体に着脱可能に構成され、前記シートに前記現像剤像を定着させる定着器と、前記開口を閉じる閉位置と前記開口を開く開位置とに切替可能な外装カバーと、前記定着器と前記外装カバーとの間に設けられ、前記定着器から排出された前記シートを前記画像形成部に案内するシートガイドと、を備えている。前記シートガイドは、第1軸心を中心に前記本体筐体に回動可能に支持される根元部と、第2軸心を中心に前記根元部に回動可能に支持される先端部と、を有する。前記シートガイドは、前記第1軸心を中心に回動して、前記定着器に近接した使用位置と、前記使用位置から前記本体筐体の外側に回動した退避位置とに切替可能で、前記使用位置にあるとき、前記第1軸心は前記定着器と前記外装カバーとの間に位置せず、前記第2軸心は前記定着器と前記外装カバーとの間に位置する。
【0008】
本願発明においては、シートガイドは、定着器に近接した使用位置から本体筐体の外側の退避位置へと切替可能である。シートガイドの根元部は第1軸心を中心に回動可能であり、シートガイドの先端部は第2軸心を中心に回動可能である。
ここで、上記使用位置にあるとき、第2軸心は定着器と外装カバーとの間に位置する一方、第1軸心は定着器と外装カバーとの間には位置しない。そのため、定着器と外装カバーとの間に位置する第2軸心が、仮に定着器を着脱する際の着脱経路に重なる構成になったとしても、定着器と外装カバーとの間に位置しない第1軸心を中心にシートガイド全体を回動させることで、着脱経路を空けることができる。したがって、定着器を容易に着脱することができる。
また、シートガイドは、根元部が本体筐体に支持され、外装カバーに一体に設けられるものではない。そのため、搬送詰まりの発生時においてユーザは外装カバーのみを開けば足りるので、労力負担が少なくて済む。
【0009】
また、前記シートガイドは、前記使用位置にあるとき、前記先端部が前記定着器に近づくように付勢するバネを有していてもよい。
本願発明では、前述の使用位置において、先端部はバネによって定着器に近づくように付勢される。付勢力で先端部を回動させることで、両面印刷時における逆方向への搬送を行う場合のシートの搬送経路の切り替えを円滑に行うことができる。
【0010】
また、前記バネは、ねじりコイルバネであり、前記第2軸心は、前記バネのコイル状の形状の中に位置していてもよい。
第2軸心が、先端部を付勢するねじりコイルバネ内を通る位置関係とすることで、搬送経路に干渉しないようバネを配置することができる。
(【0011】以降は省略されています)
この特許をJ-PlatPat(特許庁公式サイト)で参照する
関連特許
ブラザー工業株式会社
印刷装置
6日前
ブラザー工業株式会社
水塗布装置
22日前
ブラザー工業株式会社
水塗布装置
22日前
ブラザー工業株式会社
水塗布装置
22日前
ブラザー工業株式会社
水塗布装置
22日前
ブラザー工業株式会社
液体吐出装置
8日前
ブラザー工業株式会社
画像形成装置
1日前
ブラザー工業株式会社
画像形成装置
27日前
ブラザー工業株式会社
液体吐出装置
15日前
ブラザー工業株式会社
液体吐出装置
6日前
ブラザー工業株式会社
液滴吐出ヘッド
8日前
ブラザー工業株式会社
液体吐出ヘッド
6日前
ブラザー工業株式会社
シート給送装置
29日前
ブラザー工業株式会社
情報処理プログラム
6日前
ブラザー工業株式会社
印刷カセット収納体
今日
ブラザー工業株式会社
タンクおよび液体吐出装置
6日前
ブラザー工業株式会社
定着装置及び画像形成装置
27日前
ブラザー工業株式会社
プログラムおよび情報処理装置
6日前
ブラザー工業株式会社
画像処理装置及び認証処理プログラム
1日前
ブラザー工業株式会社
プログラム、および、データ処理装置
6日前
ブラザー工業株式会社
サポートプログラムおよび印刷システム
6日前
ブラザー工業株式会社
サポートプログラムおよび印刷システム
15日前
ブラザー工業株式会社
印刷管理システム、サーバ、印刷管理方法
22日前
ブラザー工業株式会社
液滴吐出装置、その制御方法及びプログラム
今日
ブラザー工業株式会社
プログラム、電子装置、方法、及び印刷システム
20日前
ブラザー工業株式会社
コンピュータプログラム、および、データ処理装置
6日前
ブラザー工業株式会社
液体吐出装置用ヘッド及びこれを備える液体吐出装置
6日前
ブラザー工業株式会社
情報処理プログラム、情報処理装置、及び情報処理方法
22日前
ブラザー工業株式会社
画像形成装置
14日前
ブラザー工業株式会社
現像カートリッジ
20日前
ブラザー工業株式会社
サポートプログラム
20日前
ブラザー工業株式会社
サポートプログラム
20日前
ブラザー工業株式会社
サポートプログラム
6日前
ブラザー工業株式会社
コンピュータプログラム、データ処理装置、および、シートの製造方法
22日前
ブラザー工業株式会社
タンクセット及び液体消費装置
27日前
ブラザー工業株式会社
端末装置のためのコンピュータプログラム、端末装置、及び、端末装置を制御するための方法
6日前
続きを見る
他の特許を見る